2018 Vol.31
Display Mode: |
2018, 31: 1.
doi: 10.1186/s10033-018-0219-4
Abstract:
Polynomial-basis response surface method has some shortcomings for truss structures in structural optimization, concluding the low ftting accuracy and the great computational efort. Based on the theory of approximation, a response surface method based on Multivariate Rational Function basis (MRRSM) is proposed. In order to further reduce the computational workload of MRRSM, focusing on the law between the cross-sectional area and the nodal displacements of truss structure, a conjecture that the determinant of the stifness matrix and the corresponding elements of adjoint matrix involved in displacement determination are polynomials with the same order as their respective matrices, each term of which is the product of cross-sectional areas, is proposed. The conjecture is proved theoretically for statically determinate truss structure, and is shown corrected by a large number of statically indeterminate truss structures. The theoretical analysis and a large number of numerical examples show that MRRSM has a high ftting accuracy and less computational efort. Efciency of the structural optimization of truss structures would be enhanced.
Polynomial-basis response surface method has some shortcomings for truss structures in structural optimization, concluding the low ftting accuracy and the great computational efort. Based on the theory of approximation, a response surface method based on Multivariate Rational Function basis (MRRSM) is proposed. In order to further reduce the computational workload of MRRSM, focusing on the law between the cross-sectional area and the nodal displacements of truss structure, a conjecture that the determinant of the stifness matrix and the corresponding elements of adjoint matrix involved in displacement determination are polynomials with the same order as their respective matrices, each term of which is the product of cross-sectional areas, is proposed. The conjecture is proved theoretically for statically determinate truss structure, and is shown corrected by a large number of statically indeterminate truss structures. The theoretical analysis and a large number of numerical examples show that MRRSM has a high ftting accuracy and less computational efort. Efciency of the structural optimization of truss structures would be enhanced.
2018, 31: 11.
doi: 10.1186/s10033-018-0215-8
Abstract:
Locomotion and manipulation optimization is essential for the performance of tetrahedron-based mobile mechanism. Most of current optimization methods are constrained to the continuous actuated system with limited degree of freedom (DOF), which is infeasible to the optimization of binary control multi-DOF system. A novel optimization method using for the locomotion and manipulation of an 18 DOFs tetrahedron-based mechanism called 5-TET is proposed. The optimization objective is to realize the required locomotion by executing the least number of struts. Binary control strategy is adopted, and forward kinematic and tipping dynamic analyses are performed, respectively. Based on a developed genetic algorithm (GA), the optimal number of alternative struts between two adjacent steps is obtained as 5. Finally, a potential manipulation function is proposed, and the energy consumption comparison between optimal 5-TET and the traditional wheeled robot is carried out. The presented locomotion optimization and manipulation planning enrich the research of tetrahedron-based mechanisms and provide the instruction to the successive locomotion and operation planning of multi-DOF mechanisms.
Locomotion and manipulation optimization is essential for the performance of tetrahedron-based mobile mechanism. Most of current optimization methods are constrained to the continuous actuated system with limited degree of freedom (DOF), which is infeasible to the optimization of binary control multi-DOF system. A novel optimization method using for the locomotion and manipulation of an 18 DOFs tetrahedron-based mechanism called 5-TET is proposed. The optimization objective is to realize the required locomotion by executing the least number of struts. Binary control strategy is adopted, and forward kinematic and tipping dynamic analyses are performed, respectively. Based on a developed genetic algorithm (GA), the optimal number of alternative struts between two adjacent steps is obtained as 5. Finally, a potential manipulation function is proposed, and the energy consumption comparison between optimal 5-TET and the traditional wheeled robot is carried out. The presented locomotion optimization and manipulation planning enrich the research of tetrahedron-based mechanisms and provide the instruction to the successive locomotion and operation planning of multi-DOF mechanisms.
2018, 31: 12.
doi: 10.1186/s10033-018-0201-1
Abstract:
Parallel mechanisms (PMs) having the same motion characteristic with a UP kinematic chain (U denotes a universal joint, and P denotes a prismatic joint) are called UP-equivalent PMs. They can be used in many applications, such as machining and milling. However, the existing UP-equivalent PMs sufer from the disadvantages of strict assembly requirements and limited rotational capability. Type synthesis of UP-equivalent PMs with high rotational capability is presented. The special 2R1T motion is briefy discussed and the fact that the parallel module of the Exechon robot is not a UP-equivalent PM is disclosed. Using the Lie group theory, the kinematic bonds of limb chains and their mechanical generators are presented. Structural conditions for constructing such UP-equivalent PMs are proposed, which results in numerous new architectures of UP-equivalent PMs. The high rotational capability of the synthesized mechanisms is illustrated by an example. The advantages of no strict assembly requirements and high rotational capability of the newly developed PMs will facilitate their applications in the manufacturing industry.
Parallel mechanisms (PMs) having the same motion characteristic with a UP kinematic chain (U denotes a universal joint, and P denotes a prismatic joint) are called UP-equivalent PMs. They can be used in many applications, such as machining and milling. However, the existing UP-equivalent PMs sufer from the disadvantages of strict assembly requirements and limited rotational capability. Type synthesis of UP-equivalent PMs with high rotational capability is presented. The special 2R1T motion is briefy discussed and the fact that the parallel module of the Exechon robot is not a UP-equivalent PM is disclosed. Using the Lie group theory, the kinematic bonds of limb chains and their mechanical generators are presented. Structural conditions for constructing such UP-equivalent PMs are proposed, which results in numerous new architectures of UP-equivalent PMs. The high rotational capability of the synthesized mechanisms is illustrated by an example. The advantages of no strict assembly requirements and high rotational capability of the newly developed PMs will facilitate their applications in the manufacturing industry.
2018, 31: 14.
doi: 10.1186/s10033-018-0214-9
Abstract:
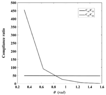
There are several design equations available for calculating the torsional compliance and the maximum torsion stress of a rectangular cross-section beam, but most depend on the relative magnitude of the two dimensions of the crosssection (i.e., the thickness and the width). After reviewing the available equations, two thickness-to-width ratio independent equations that are symmetric with respect to the two dimensions are obtained for evaluating the maximum torsion stress of rectangular cross-section beams. Based on the resulting equations, outside lamina emergent torsional joints are analyzed and some useful design insights are obtained. These equations, together with the previous work on symmetric equations for calculating torsional compliance, provide a convenient and efective way for designing and optimizing torsional beams in compliant mechanisms.
There are several design equations available for calculating the torsional compliance and the maximum torsion stress of a rectangular cross-section beam, but most depend on the relative magnitude of the two dimensions of the crosssection (i.e., the thickness and the width). After reviewing the available equations, two thickness-to-width ratio independent equations that are symmetric with respect to the two dimensions are obtained for evaluating the maximum torsion stress of rectangular cross-section beams. Based on the resulting equations, outside lamina emergent torsional joints are analyzed and some useful design insights are obtained. These equations, together with the previous work on symmetric equations for calculating torsional compliance, provide a convenient and efective way for designing and optimizing torsional beams in compliant mechanisms.
2018, 31: 15.
doi: 10.1186/s10033-018-0216-7
Abstract:
Walking robots use leg structures to overcome obstacles or move on complicated terrains. Most robots of current researches are equipped with legs of simple structure. The specifc design method of walking robot legs is seldom studied. Based on the generalized-function (GF) set theory, a systematic type synthesis process of designing robot legs is introduced. The specifc mobility of robot legs is analyzed to obtain two main leg types as the goal of design. Number synthesis problem is decomposed into two stages, actuation and constraint synthesis by name, corresponding to the combinatorics results of linear Diophantine equations. Additional restrictions are discussed to narrow the search range to propose practical limb expressions and kinematic-pair designs. Finally, all the ffty-one leg structures of four subtypes are carried out, some of which are chosen to make up robot prototypes, demonstrating the validity of the method. This paper proposed a novel type synthesis methodology, which could be used to systematically design various practical robot legs and the derived robots.
Walking robots use leg structures to overcome obstacles or move on complicated terrains. Most robots of current researches are equipped with legs of simple structure. The specifc design method of walking robot legs is seldom studied. Based on the generalized-function (GF) set theory, a systematic type synthesis process of designing robot legs is introduced. The specifc mobility of robot legs is analyzed to obtain two main leg types as the goal of design. Number synthesis problem is decomposed into two stages, actuation and constraint synthesis by name, corresponding to the combinatorics results of linear Diophantine equations. Additional restrictions are discussed to narrow the search range to propose practical limb expressions and kinematic-pair designs. Finally, all the ffty-one leg structures of four subtypes are carried out, some of which are chosen to make up robot prototypes, demonstrating the validity of the method. This paper proposed a novel type synthesis methodology, which could be used to systematically design various practical robot legs and the derived robots.
2018, 31: 20.
doi: 10.1186/s10033-018-0207-8
Abstract:
Drilling and coring, as efective ways to obtain lunar regolith along the longitudinal direction, are widely applied in the lunar sampling feld. Conventionally, modeling of drill-soil interaction was divided into soil cutting and screw conveyance processes, ignoring the diferences in soil mechanical properties between them. To improve the modeling accuracy, a hypothesis that divides the drill-soil interaction into four parts:cuttings screw conveyance, cuttings extruding, cuttings bulldozing, and in situ simulant cutting, is proposed to establish a novel model based on the passive earth pressure theory. An iterative numerical calculation method is developed to predict the drilling loads. A drilling and coring testbed is developed to conduct experimental tests. Drilling experiments indicate that the drilling loads calculated by the proposed model match well the experimental results. The proposed research provides the instructions to adopt a suitable drilling strategy to match the rotary and penetrating motions, to increase the safety and reliability of drilling control in lunar sampling missions.
Drilling and coring, as efective ways to obtain lunar regolith along the longitudinal direction, are widely applied in the lunar sampling feld. Conventionally, modeling of drill-soil interaction was divided into soil cutting and screw conveyance processes, ignoring the diferences in soil mechanical properties between them. To improve the modeling accuracy, a hypothesis that divides the drill-soil interaction into four parts:cuttings screw conveyance, cuttings extruding, cuttings bulldozing, and in situ simulant cutting, is proposed to establish a novel model based on the passive earth pressure theory. An iterative numerical calculation method is developed to predict the drilling loads. A drilling and coring testbed is developed to conduct experimental tests. Drilling experiments indicate that the drilling loads calculated by the proposed model match well the experimental results. The proposed research provides the instructions to adopt a suitable drilling strategy to match the rotary and penetrating motions, to increase the safety and reliability of drilling control in lunar sampling missions.
2018, 31: 50.
doi: 10.1186/s10033-018-0253-2
Abstract:
The existing mechanism parameter optimization (MPO) method of parallel mechanisms only considers the workspace size and ignores contribution of each configuration's performance. So a novel MPO method is proposed for our serial-parallel mechanism platform, which is used in stability training of legged robots. Regarding the platform's parallel mechanism part, a 4-PSS/PS parallel mechanism, two object functions and three constraint conditions are defined to establish the MPO model. The first object function uses critical motion indexes of the moving platform. The second one uses derivative function of the defined disturbance Lagrange function. After analyzing stability-training requirements of five existing legged robots, requirements of the platform's motion capability are given out. Regarding each proposed object function separately, the MPO model is solved by the particle swarm optimization (PSO) algorithm. Valid workspace boundaries corresponding to the optimization results are solved by a numerical method. The overall optimal solution is determined based on volume of the valid workspace. It is revealed that the two object functions result in similar optimization solutions, which shows that the proposed object functions can reflect the stability-training ability consistently. This paper proposes and verifies the established MPO model, which considers both the workspace size and configurations' performance evaluation.
The existing mechanism parameter optimization (MPO) method of parallel mechanisms only considers the workspace size and ignores contribution of each configuration's performance. So a novel MPO method is proposed for our serial-parallel mechanism platform, which is used in stability training of legged robots. Regarding the platform's parallel mechanism part, a 4-PSS/PS parallel mechanism, two object functions and three constraint conditions are defined to establish the MPO model. The first object function uses critical motion indexes of the moving platform. The second one uses derivative function of the defined disturbance Lagrange function. After analyzing stability-training requirements of five existing legged robots, requirements of the platform's motion capability are given out. Regarding each proposed object function separately, the MPO model is solved by the particle swarm optimization (PSO) algorithm. Valid workspace boundaries corresponding to the optimization results are solved by a numerical method. The overall optimal solution is determined based on volume of the valid workspace. It is revealed that the two object functions result in similar optimization solutions, which shows that the proposed object functions can reflect the stability-training ability consistently. This paper proposes and verifies the established MPO model, which considers both the workspace size and configurations' performance evaluation.
2018, 31: 54.
doi: 10.1186/s10033-018-0251-4
Abstract:
Hybrid manipulators have potentially application in machining industries and attract extensive attention from many researchers on the basis of high stifness and high dexterity. Therefore, in order to expand the application prospects of hybrid manipulator, a novel 5-degree-of-freedom (DOF) hybrid serial-parallel manipulator (HSPM) is proposed. Firstly, the design plan of this manipulator is introduced. Secondly, the analysis of this manipulator is carried out in detail, including kinematics analysis, statics analysis, and workspace analysis. Especially, an amplitude equivalent method of disposing the over-constrained force/couple to the non-overconstrained force/couple is used in the statics analysis. Then, three performance indices are used to optimize the PM. Two of them have been widely used, and the third one is a new index which considers the characteristics of the actuated force. Based on the performance indices, the performance atlas is drawn and the optimal design of the PM is investigated. In order to satisfy the anticipant kinetic characteristics of the PM, the verifcation of the optimized physical dimension is done and the workspace based on the optimized physical dimension is carried out. This paper will lay good theoretical foundations for application of this novel HSPM and also can be applied to other hybrid manipulators.
Hybrid manipulators have potentially application in machining industries and attract extensive attention from many researchers on the basis of high stifness and high dexterity. Therefore, in order to expand the application prospects of hybrid manipulator, a novel 5-degree-of-freedom (DOF) hybrid serial-parallel manipulator (HSPM) is proposed. Firstly, the design plan of this manipulator is introduced. Secondly, the analysis of this manipulator is carried out in detail, including kinematics analysis, statics analysis, and workspace analysis. Especially, an amplitude equivalent method of disposing the over-constrained force/couple to the non-overconstrained force/couple is used in the statics analysis. Then, three performance indices are used to optimize the PM. Two of them have been widely used, and the third one is a new index which considers the characteristics of the actuated force. Based on the performance indices, the performance atlas is drawn and the optimal design of the PM is investigated. In order to satisfy the anticipant kinetic characteristics of the PM, the verifcation of the optimized physical dimension is done and the workspace based on the optimized physical dimension is carried out. This paper will lay good theoretical foundations for application of this novel HSPM and also can be applied to other hybrid manipulators.
2018, 31: 55.
doi: 10.1186/s10033-018-0256-z
Abstract:
Most of researchers focused on traditional six degrees of freedom (DOF) Stewart flight simulator, which can not be adaptive in fighter-aircraft flight simulator. A three rotational DOF flight simulator of fighter-aircraft based on double parallel manipulator and hybrid structure is presented. The flight simulator is composed of two identical 3-RRS (revolute-revolute-spherical) spherical parallel manipulators and one cabin, called Twins. The cabin has an additional independent DOF for 360° continuous rotation, so it can be applied as a flight simulator for a fighter-aircraft to achieve spin maneuvering. Because of the introduction of the hybrid structure and double parallel manipulator of the mechanism, the redundancy exists with respect to both kinematics and actuation. Kinematics is carried out and Jacobian matrix is established by means of screw theory. The inverse kinematics is given out by the analytical method. 64 groups inverse solutions are showed in a table by permutation. Forward kinematics is solved by an effectively numerical method. The forward numerical method is realized based on the analytically inverse kinematics and Jacobian matrix. The numerical examples show that the forward numerical method can be used in real-time control. The rolling motion is considered in forward kinematics and a numerical example is given out. The proposed flight simulator can spin and there are three rotational DOF with a hybrid structure so that the novel flight simulator can be used in the field of the fighter-aircraft for pilots to train.
Most of researchers focused on traditional six degrees of freedom (DOF) Stewart flight simulator, which can not be adaptive in fighter-aircraft flight simulator. A three rotational DOF flight simulator of fighter-aircraft based on double parallel manipulator and hybrid structure is presented. The flight simulator is composed of two identical 3-RRS (revolute-revolute-spherical) spherical parallel manipulators and one cabin, called Twins. The cabin has an additional independent DOF for 360° continuous rotation, so it can be applied as a flight simulator for a fighter-aircraft to achieve spin maneuvering. Because of the introduction of the hybrid structure and double parallel manipulator of the mechanism, the redundancy exists with respect to both kinematics and actuation. Kinematics is carried out and Jacobian matrix is established by means of screw theory. The inverse kinematics is given out by the analytical method. 64 groups inverse solutions are showed in a table by permutation. Forward kinematics is solved by an effectively numerical method. The forward numerical method is realized based on the analytically inverse kinematics and Jacobian matrix. The numerical examples show that the forward numerical method can be used in real-time control. The rolling motion is considered in forward kinematics and a numerical example is given out. The proposed flight simulator can spin and there are three rotational DOF with a hybrid structure so that the novel flight simulator can be used in the field of the fighter-aircraft for pilots to train.
2018, 31: 61.
doi: 10.1186/s10033-018-0260-3
Abstract:
Most parallel mechanisms (PMs) encountered today have a common disadvantage, i.e., their low rotational capability. In order to develop PMs with high rotational capability, a family of novel manipulators with one or two dimensional rotations is proposed. The planar one-rotational one-translational (1R1T) and one-rotational two-translational (1R2T) PMs evolved from the crank-and-rocker mechanism (CRM) are presented by means of Lie group theory. A spatial 2R1T PM and a 2R parallel moving platform with bifurcated large-angle rotations are proposed by orthogonal combination of the RRRR limbs. According to the product principle of the displacement group theory, a hybrid 2R3T mechanism in possession of bifurcated motion is obtained by connecting the 2R parallel moving platform with a parallel part, which is constructed by four 3T1R kinematic chains. The presented manipulators possess high rotational capability. The proposed research enriches the family of spatial mechanisms and the construction method provides an instruction to design more complex mechanisms.
Most parallel mechanisms (PMs) encountered today have a common disadvantage, i.e., their low rotational capability. In order to develop PMs with high rotational capability, a family of novel manipulators with one or two dimensional rotations is proposed. The planar one-rotational one-translational (1R1T) and one-rotational two-translational (1R2T) PMs evolved from the crank-and-rocker mechanism (CRM) are presented by means of Lie group theory. A spatial 2R1T PM and a 2R parallel moving platform with bifurcated large-angle rotations are proposed by orthogonal combination of the RRRR limbs. According to the product principle of the displacement group theory, a hybrid 2R3T mechanism in possession of bifurcated motion is obtained by connecting the 2R parallel moving platform with a parallel part, which is constructed by four 3T1R kinematic chains. The presented manipulators possess high rotational capability. The proposed research enriches the family of spatial mechanisms and the construction method provides an instruction to design more complex mechanisms.
2018, 31: 63.
doi: 10.1186/s10033-018-0263-0
Abstract:
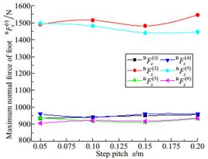
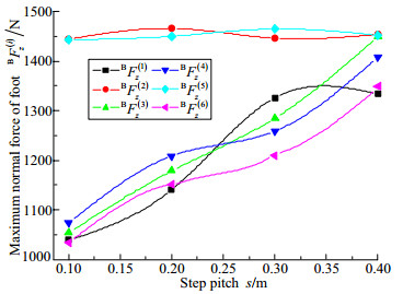
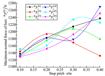
The electrically driven six-legged robot with high carrying capacity is an indispensable equipment for planetary exploration, but it hinders its practicability because of its low efficiency of carrying energy. Meanwhile, its load capacity also affects its application range. To reduce the power consumption, increase the load to mass ratio, and improve the stability of robot, the relationship between the walking modes and the forces of feet under the tripod gait are researched for an electrically driven heavy-duty six-legged robot. Based on the configuration characteristics of electrically driven heavy-duty six-legged, the typical walking modes of robot are analyzed. The mathematical models of the normal forces of feet are respectively established under the tripod gait of typical walking modes. According to the MATLAB software, the variable tendency charts are respectively gained for the normal forces of feet. The walking experiments under the typical tripod gaits are implemented for the prototype of electrically driven heavy-duty six-legged robot. The variable tendencies of maximum normal forces of feet are acquired. The comparison results show that the theoretical and experimental data are in the same trend. The walking modes which are most available to realize the average force of distribution of each foot are confirmed. The proposed method of analyzing the relationship between the walking modes and the forces of feet can quickly determine the optimal walking mode and gait parameters under the average distribution of foot force, which is propitious to develop the excellent heavy-duty multi-legged robots with the lower power consumption, larger load to mass ratio, and higher stability.
The electrically driven six-legged robot with high carrying capacity is an indispensable equipment for planetary exploration, but it hinders its practicability because of its low efficiency of carrying energy. Meanwhile, its load capacity also affects its application range. To reduce the power consumption, increase the load to mass ratio, and improve the stability of robot, the relationship between the walking modes and the forces of feet under the tripod gait are researched for an electrically driven heavy-duty six-legged robot. Based on the configuration characteristics of electrically driven heavy-duty six-legged, the typical walking modes of robot are analyzed. The mathematical models of the normal forces of feet are respectively established under the tripod gait of typical walking modes. According to the MATLAB software, the variable tendency charts are respectively gained for the normal forces of feet. The walking experiments under the typical tripod gaits are implemented for the prototype of electrically driven heavy-duty six-legged robot. The variable tendencies of maximum normal forces of feet are acquired. The comparison results show that the theoretical and experimental data are in the same trend. The walking modes which are most available to realize the average force of distribution of each foot are confirmed. The proposed method of analyzing the relationship between the walking modes and the forces of feet can quickly determine the optimal walking mode and gait parameters under the average distribution of foot force, which is propitious to develop the excellent heavy-duty multi-legged robots with the lower power consumption, larger load to mass ratio, and higher stability.
2018, 31: 78.
doi: 10.1186/s10033-018-0278-6
Abstract:
Retinal surgery continues to be one of the most technical demanding surgeries for its high manipulation accuracy requirement, small and constrained workspace, and delicate retinal tissue. Robotic systems have the potential to enhance and expand the capabilities of surgeons during retinal surgery. Thus, focusing on retinal vessel bypass surgery, a master-slave robot system is developed in this paper. This robotic system is designed based on characteristics of retinal vascular bypass surgery and analysis of the surgical workspace in eyeball. A novel end-efector of two degrees of freedom is designed and a novel remote center of motion mechanism is adopted in the robot structure. The kinematics and the mapping relationship are then established, the gravity compensation control strategy and the hand tremor elimination algorithm are applied to achieve the high motion accuracy. The experiments on an artifcial eyeball and an in vitro porcine eye are conducted, verifying the feasibility of this system.
Retinal surgery continues to be one of the most technical demanding surgeries for its high manipulation accuracy requirement, small and constrained workspace, and delicate retinal tissue. Robotic systems have the potential to enhance and expand the capabilities of surgeons during retinal surgery. Thus, focusing on retinal vessel bypass surgery, a master-slave robot system is developed in this paper. This robotic system is designed based on characteristics of retinal vascular bypass surgery and analysis of the surgical workspace in eyeball. A novel end-efector of two degrees of freedom is designed and a novel remote center of motion mechanism is adopted in the robot structure. The kinematics and the mapping relationship are then established, the gravity compensation control strategy and the hand tremor elimination algorithm are applied to achieve the high motion accuracy. The experiments on an artifcial eyeball and an in vitro porcine eye are conducted, verifying the feasibility of this system.
2018, 31: 94.
doi: 10.1186/s10033-018-0290-x
Abstract:
Robot hands have been developing during the last few decades. There are many mechanical structures and analytical methods for different hands. But many tough problems still limit robot hands to apply in homelike environment. The ability of grasping objects covering a large range of sizes and various shapes is fundamental for a home service robot to serve people better. In this paper, a new grasping mode based on a novel sucked-type underactuated (STU) hand is proposed. By combining the flexibility of soft material and the effect of suction cups, the STU hand can grasp objects with a wide range of sizes, shapes and materials. Moreover, the new grasping mode is suitable for some situations where the force closure is failure. In this paper, we deduce the effective range of sizes of objects which our hand using the new grasping mode can grasp. Thanks to the new grasping mode, the ratio of grasping size between the biggest object and the smallest is beyond 40, which makes it possible for our robot hand to grasp diverse objects in our daily life. For example, the STU hand can grasp a soccer (220 mm diameter, 420 g) and a fountain pen (9 mm diameter, 9 g). What's more, we use the rigid body equilibrium conditions to analysis the force condition. Experiment evaluates the high load capacity, stability of the new grasping mode and displays the versatility of the STU hand. The STU hand has a wide range of applications especially in unstructured environment.
Robot hands have been developing during the last few decades. There are many mechanical structures and analytical methods for different hands. But many tough problems still limit robot hands to apply in homelike environment. The ability of grasping objects covering a large range of sizes and various shapes is fundamental for a home service robot to serve people better. In this paper, a new grasping mode based on a novel sucked-type underactuated (STU) hand is proposed. By combining the flexibility of soft material and the effect of suction cups, the STU hand can grasp objects with a wide range of sizes, shapes and materials. Moreover, the new grasping mode is suitable for some situations where the force closure is failure. In this paper, we deduce the effective range of sizes of objects which our hand using the new grasping mode can grasp. Thanks to the new grasping mode, the ratio of grasping size between the biggest object and the smallest is beyond 40, which makes it possible for our robot hand to grasp diverse objects in our daily life. For example, the STU hand can grasp a soccer (220 mm diameter, 420 g) and a fountain pen (9 mm diameter, 9 g). What's more, we use the rigid body equilibrium conditions to analysis the force condition. Experiment evaluates the high load capacity, stability of the new grasping mode and displays the versatility of the STU hand. The STU hand has a wide range of applications especially in unstructured environment.
2018, 31: 104.
doi: 10.1186/s10033-018-0300-z
Abstract:
Time-variant excitations in planetary gear trains can cause excessive noise and vibration and even damage the system on a permanent basis. This paper focuses on the elastic vibrations of a helical planetary ring gear subjected to mesh and planet-pass excitations. Motivated by the structure, excitation and deformation symmetries, this paper proposes dual-frequency superposition and modulation methods to capture the mesh and sideband vibrations. The transition between ring gear tooth and planet is introduced to address the excitations and vibrations. The phasing effect of ring gear tooth and planet on various deformations is formulated. The inherent connections between the two types of vibrations are identified. The vibrations share identical exciting rules and the wavenumber and modulating signal order both equal the linear combination of tooth and planet counts. The results cover in-plane bending and extensional, out-of-plane bending and torsional deformations. Main findings are verified by numerical calculation and comparisons with the open literature. The analytical expressions can be used to determine whether the sideband is caused by component fault or only by elastic vibration. The methods can be extended to other power-transmission systems because little restriction is imposed during the analysis.
Time-variant excitations in planetary gear trains can cause excessive noise and vibration and even damage the system on a permanent basis. This paper focuses on the elastic vibrations of a helical planetary ring gear subjected to mesh and planet-pass excitations. Motivated by the structure, excitation and deformation symmetries, this paper proposes dual-frequency superposition and modulation methods to capture the mesh and sideband vibrations. The transition between ring gear tooth and planet is introduced to address the excitations and vibrations. The phasing effect of ring gear tooth and planet on various deformations is formulated. The inherent connections between the two types of vibrations are identified. The vibrations share identical exciting rules and the wavenumber and modulating signal order both equal the linear combination of tooth and planet counts. The results cover in-plane bending and extensional, out-of-plane bending and torsional deformations. Main findings are verified by numerical calculation and comparisons with the open literature. The analytical expressions can be used to determine whether the sideband is caused by component fault or only by elastic vibration. The methods can be extended to other power-transmission systems because little restriction is imposed during the analysis.
2018, 31: 109.
doi: 10.1186/s10033-018-0308-4
Abstract:
The contact stiffness of a mechanical bonding surface is an important parameter in determining the normal and radial contact force. To improve the calculation accuracy of the contact force model, the surface roughness of the bonding surface and the energy loss that necessarily occurs during the impact process should be considered comprehensively. To study the normal contact force of a revolute joint with clearance more accurately in the case of dry friction, a nonlinear stiffness coefficient model considering the surface roughness was established based on fractal theory, which considers the elastic, elastic-plastic, and plastic deformations of the asperities of the contact surface during the contact process. On this basis, a modified nonlinear spring damping model was established based on the Lankarani-Nikravesh contact force model. The laws influencing the surface roughness, recovery coefficient, initial velocity, and clearance size on the impact force were revealed, and were compared with the Lankarani-Nikravesh model and a hybrid model using MATLAB. The maximum impact force was obtained using a modified contact force model under different initial velocities, different clearances, and different degrees of surface roughness, and the calculated results were then compared with the experiment results. This study indicates that the modified model can be used more widely than other models, and is suitable for both large and small clearances. In particular, the modified model is more accurate when calculating the contact force of a revolute joint with a small clearance.
The contact stiffness of a mechanical bonding surface is an important parameter in determining the normal and radial contact force. To improve the calculation accuracy of the contact force model, the surface roughness of the bonding surface and the energy loss that necessarily occurs during the impact process should be considered comprehensively. To study the normal contact force of a revolute joint with clearance more accurately in the case of dry friction, a nonlinear stiffness coefficient model considering the surface roughness was established based on fractal theory, which considers the elastic, elastic-plastic, and plastic deformations of the asperities of the contact surface during the contact process. On this basis, a modified nonlinear spring damping model was established based on the Lankarani-Nikravesh contact force model. The laws influencing the surface roughness, recovery coefficient, initial velocity, and clearance size on the impact force were revealed, and were compared with the Lankarani-Nikravesh model and a hybrid model using MATLAB. The maximum impact force was obtained using a modified contact force model under different initial velocities, different clearances, and different degrees of surface roughness, and the calculated results were then compared with the experiment results. This study indicates that the modified model can be used more widely than other models, and is suitable for both large and small clearances. In particular, the modified model is more accurate when calculating the contact force of a revolute joint with a small clearance.
2018, 31: 112.
doi: 10.1186/s10033-018-0305-7
Abstract:
The mechanical and wear properties of CFRP laminate were investigated using a method of cycling low velocity impact, to study the trend and mechanism of impact resistance of the CFRP laminate under repeated impact during its service process. The interface responses of CFRP laminate under different impact kinetic energy during the cycling impact process were studied were studied experimentally, such as impact contact duration, deformation and energy absorption. The worn surface morphologies were observed through optical microscopy and a 3-D surface profiler and the cross-sectional morphologies were observed through SEM to investigate the mechanism of impact material damage. Based on a single-degree-of-freedom damping vibration model, the normal contact stiffness and contact damping of the material in different wear stages were calculated. It shows the failure process of CFRP laminate damaged by accumulated absorption energy under the cycling impact of different initial kinetic energy. The results indicate that the stiffness and damping coefficients will change at different impact velocities or cycle numbers. The damage mechanism of CFRP laminates under cycling low kinetic energy is delamination. After repeated experiments, it was found that there was a threshold value for the accumulated absorption energy before the failure of the CFRP laminate.
The mechanical and wear properties of CFRP laminate were investigated using a method of cycling low velocity impact, to study the trend and mechanism of impact resistance of the CFRP laminate under repeated impact during its service process. The interface responses of CFRP laminate under different impact kinetic energy during the cycling impact process were studied were studied experimentally, such as impact contact duration, deformation and energy absorption. The worn surface morphologies were observed through optical microscopy and a 3-D surface profiler and the cross-sectional morphologies were observed through SEM to investigate the mechanism of impact material damage. Based on a single-degree-of-freedom damping vibration model, the normal contact stiffness and contact damping of the material in different wear stages were calculated. It shows the failure process of CFRP laminate damaged by accumulated absorption energy under the cycling impact of different initial kinetic energy. The results indicate that the stiffness and damping coefficients will change at different impact velocities or cycle numbers. The damage mechanism of CFRP laminates under cycling low kinetic energy is delamination. After repeated experiments, it was found that there was a threshold value for the accumulated absorption energy before the failure of the CFRP laminate.
2018, 31: 2.
doi: 10.1186/s10033-018-0217-6
Abstract:
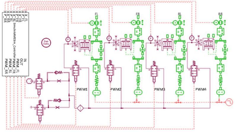
Valve piezoelectric pumps usually have larger fow rate than that of valveless ones. However, the traditional cantilever valve easily induces stress concentration which impacts the reliability of pumps. Therefore, a cymbal-shaped slotted check valve is proposed to be applied in a piezoelectric pump in order to reduce the stress concentration of the valve and thus improve the reliability of the piezoelectric pump. The structure and working principle of the piezoelectric pump are analyzed; the stress analysis of the cymbal-shaped slotted valve diaphragm is conducted. In addition, fnite element software is employed to analyze the diference of the Von-Mises stress between the cymbal-shaped slotted diaphragm and the slotted fat diaphragm. The simulation results show that, the Von-Mises stress of cymbal-shaped slotted diaphragm is smaller than that of the slotted fat one. Furthermore, the cymbal-shaped slotted valve piezoelectric pump is also fabricated, and fow rate experiment is performed. The experimental results indicate that the fow rate of piezoelectric pump working in low frequencies (0 Hz < f < 50 Hz) is larger than that working in high frequencies (200 Hz < f < 2000 Hz). When driven at voltage of 160 V and frequency of 5 Hz, the pump reaches its maximum fow rate of 6.6 g/min. The experimental results validate the feasibility of the cymbal-shaped slotted check valve. This research can efectively solve the problem of stress concentration of valve piezoelectric pumps and is helpful for improving the reliability of them.
Valve piezoelectric pumps usually have larger fow rate than that of valveless ones. However, the traditional cantilever valve easily induces stress concentration which impacts the reliability of pumps. Therefore, a cymbal-shaped slotted check valve is proposed to be applied in a piezoelectric pump in order to reduce the stress concentration of the valve and thus improve the reliability of the piezoelectric pump. The structure and working principle of the piezoelectric pump are analyzed; the stress analysis of the cymbal-shaped slotted valve diaphragm is conducted. In addition, fnite element software is employed to analyze the diference of the Von-Mises stress between the cymbal-shaped slotted diaphragm and the slotted fat diaphragm. The simulation results show that, the Von-Mises stress of cymbal-shaped slotted diaphragm is smaller than that of the slotted fat one. Furthermore, the cymbal-shaped slotted valve piezoelectric pump is also fabricated, and fow rate experiment is performed. The experimental results indicate that the fow rate of piezoelectric pump working in low frequencies (0 Hz < f < 50 Hz) is larger than that working in high frequencies (200 Hz < f < 2000 Hz). When driven at voltage of 160 V and frequency of 5 Hz, the pump reaches its maximum fow rate of 6.6 g/min. The experimental results validate the feasibility of the cymbal-shaped slotted check valve. This research can efectively solve the problem of stress concentration of valve piezoelectric pumps and is helpful for improving the reliability of them.
2018, 31: 3.
doi: 10.1186/s10033-018-0220-y
Abstract:
Pneumatic-hydraulic transmission has been developed for years. However, its dynamic properties are not good enough for application. In this paper, in order to increase the output characteristics, a late-model air-powered vehicle using expansion energy is proposed which can boost energy through a pneumatic-hydraulic transmission. The dynamic characteristics of the air-powered vehicle is modeled and verifed by conducting experiment. In addition, the infuence of the key parameters of the air-powered vehicle is researched for the optimization of the system performance. Through the results, the author got the conclusion that, frstly, comparison of the results of model and experiment proves the built model to be efective; secondly, input air pressure should be set according to the request of the practical loads, and range of 0.65 to 0.75 MPa can be chosen; thirdly, as a key structure parameter of the air-powered vehicle, ratio of the areas is considered to be set to approximate 8; what's more, a bigger orifce with a limit will promote the system dynamic characteristic property, and the limit is about 3.5 mm; last but not the least, not too farther position of the rings will increase the quality of output dynamic characteristics. This paper can be a reference for system design of air-powered vehicle and dynamic improvement.
Pneumatic-hydraulic transmission has been developed for years. However, its dynamic properties are not good enough for application. In this paper, in order to increase the output characteristics, a late-model air-powered vehicle using expansion energy is proposed which can boost energy through a pneumatic-hydraulic transmission. The dynamic characteristics of the air-powered vehicle is modeled and verifed by conducting experiment. In addition, the infuence of the key parameters of the air-powered vehicle is researched for the optimization of the system performance. Through the results, the author got the conclusion that, frstly, comparison of the results of model and experiment proves the built model to be efective; secondly, input air pressure should be set according to the request of the practical loads, and range of 0.65 to 0.75 MPa can be chosen; thirdly, as a key structure parameter of the air-powered vehicle, ratio of the areas is considered to be set to approximate 8; what's more, a bigger orifce with a limit will promote the system dynamic characteristic property, and the limit is about 3.5 mm; last but not the least, not too farther position of the rings will increase the quality of output dynamic characteristics. This paper can be a reference for system design of air-powered vehicle and dynamic improvement.
2018, 31: 4.
doi: 10.1186/s10033-018-0202-0
Abstract:
During the condition monitoring of a planetary gearbox, features are extracted from raw data for a fault diagnosis. However, diferent features have diferent sensitivity for identifying diferent fault types, and thus, the selection of a sensitive feature subset from an entire feature set and retaining as much of the class discriminatory information as possible has a directly efect on the accuracy of the classifcation results. In this paper, an improved hybrid feature selection technique (IHFST) that combines a distance evaluation technique (DET), Pearson's correlation analysis, and an ad hoc technique is proposed. In IHFST, a temporary feature subset without irrelevant features is frst selected according to the distance evaluation criterion of DET, and the Pearson's correlation analysis and ad hoc technique are then employed to fnd and remove redundant features in the temporary feature subset, respectively, and hence, a sensitive feature subset without irrelevant or redundant features is selected from the entire feature set. Further, the k-means clustering method is applied to classify the diferent kinds of health conditions. The efectiveness of the proposed method was validated through several experiments carried out on a planetary gearbox with incipient cracks seeded in the tooth root of the sun gear, planet gear, and ring gear. The results show that the proposed method can successfully distinguish the diferent health conditions of a planetary gearbox, and achieves a better classifcation performance than other methods. This study proposes a sensitive feature subset selection method that achieves an obvious improvement in terms of the accuracy of the fault classifcation.
During the condition monitoring of a planetary gearbox, features are extracted from raw data for a fault diagnosis. However, diferent features have diferent sensitivity for identifying diferent fault types, and thus, the selection of a sensitive feature subset from an entire feature set and retaining as much of the class discriminatory information as possible has a directly efect on the accuracy of the classifcation results. In this paper, an improved hybrid feature selection technique (IHFST) that combines a distance evaluation technique (DET), Pearson's correlation analysis, and an ad hoc technique is proposed. In IHFST, a temporary feature subset without irrelevant features is frst selected according to the distance evaluation criterion of DET, and the Pearson's correlation analysis and ad hoc technique are then employed to fnd and remove redundant features in the temporary feature subset, respectively, and hence, a sensitive feature subset without irrelevant or redundant features is selected from the entire feature set. Further, the k-means clustering method is applied to classify the diferent kinds of health conditions. The efectiveness of the proposed method was validated through several experiments carried out on a planetary gearbox with incipient cracks seeded in the tooth root of the sun gear, planet gear, and ring gear. The results show that the proposed method can successfully distinguish the diferent health conditions of a planetary gearbox, and achieves a better classifcation performance than other methods. This study proposes a sensitive feature subset selection method that achieves an obvious improvement in terms of the accuracy of the fault classifcation.
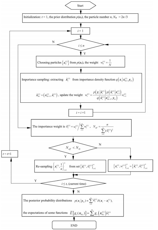
2018, 31: 5.
doi: 10.1186/s10033-018-0205-x
Abstract:
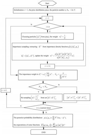
Online assessment of remaining useful life (RUL) of a system or device has been widely studied for performance reliability, production safety, system conditional maintenance, and decision in remanufacturing engineering. However, there is no consistency framework to solve the RUL recursive estimation for the complex degenerate systems/device. In this paper, state space model (SSM) with Bayesian online estimation expounded from Markov chain Monte Carlo (MCMC) to Sequential Monte Carlo (SMC) algorithm is presented in order to derive the optimal Bayesian estimation. In the context of nonlinear & non-Gaussian dynamic systems, SMC (also named particle flter, PF) is quite capable of performing fltering and RUL assessment recursively. The underlying deterioration of a system/device is seen as a stochastic process with continuous, nonreversible degrading. The state of the deterioration tendency is fltered and predicted with updating observations through the SMC procedure. The corresponding remaining useful life of the system/device is estimated based on the state degradation and a predefned threshold of the failure with two-sided criterion. The paper presents an application on a milling machine for cutter tool RUL assessment by applying the above proposed methodology. The example shows the promising results and the efectiveness of SSM and SMC online assessment of RUL.
Online assessment of remaining useful life (RUL) of a system or device has been widely studied for performance reliability, production safety, system conditional maintenance, and decision in remanufacturing engineering. However, there is no consistency framework to solve the RUL recursive estimation for the complex degenerate systems/device. In this paper, state space model (SSM) with Bayesian online estimation expounded from Markov chain Monte Carlo (MCMC) to Sequential Monte Carlo (SMC) algorithm is presented in order to derive the optimal Bayesian estimation. In the context of nonlinear & non-Gaussian dynamic systems, SMC (also named particle flter, PF) is quite capable of performing fltering and RUL assessment recursively. The underlying deterioration of a system/device is seen as a stochastic process with continuous, nonreversible degrading. The state of the deterioration tendency is fltered and predicted with updating observations through the SMC procedure. The corresponding remaining useful life of the system/device is estimated based on the state degradation and a predefned threshold of the failure with two-sided criterion. The paper presents an application on a milling machine for cutter tool RUL assessment by applying the above proposed methodology. The example shows the promising results and the efectiveness of SSM and SMC online assessment of RUL.
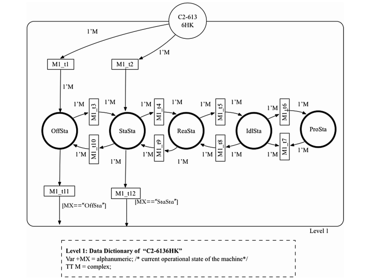
2018, 31: 6.
doi: 10.1186/s10033-018-0213-x
Abstract:
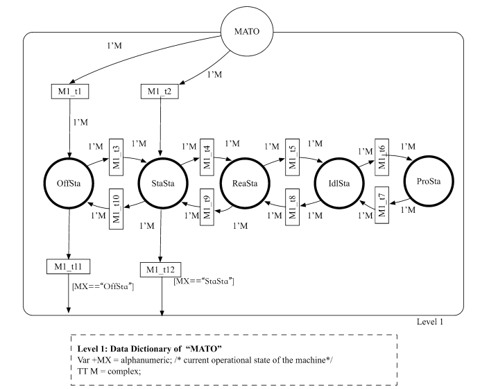
CNC machining systems are inevitably confronted with frequent changes in energy behaviors because they are widely used to perform various machining tasks. It is a challenge to understand and analyze the fexible energy behaviors in CNC machining systems. A method to model fexible energy behaviors in CNC machining systems based on hierarchical objected-oriented Petri net (HOONet) is proposed. The structure of the HOONet is constructed of a high-level model and detail models. The former is used to model operational states for CNC machining systems, and the latter is used to analyze the component models for operational states. The machining parameters having great impacts on energy behaviors in CNC machining systems are declared with the data dictionary in HOONet models. A case study based on a CNC lathe is presented to demonstrate the proposed modeling method. The results show that it is efective for modeling fexible energy behaviors and providing a fne-grained description to quantitatively analyze the energy consumption of CNC machining systems.
CNC machining systems are inevitably confronted with frequent changes in energy behaviors because they are widely used to perform various machining tasks. It is a challenge to understand and analyze the fexible energy behaviors in CNC machining systems. A method to model fexible energy behaviors in CNC machining systems based on hierarchical objected-oriented Petri net (HOONet) is proposed. The structure of the HOONet is constructed of a high-level model and detail models. The former is used to model operational states for CNC machining systems, and the latter is used to analyze the component models for operational states. The machining parameters having great impacts on energy behaviors in CNC machining systems are declared with the data dictionary in HOONet models. A case study based on a CNC lathe is presented to demonstrate the proposed modeling method. The results show that it is efective for modeling fexible energy behaviors and providing a fne-grained description to quantitatively analyze the energy consumption of CNC machining systems.
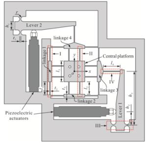
2018, 31: 7.
doi: 10.1186/s10033-018-0211-z
Abstract:
Flexure-based mechanisms are widely utilized in nano manipulations. The closed-form statics and dynamics modeling is difcult due to the complex topologies, the inevitable compliance of levers, the Hertzian contact interface, etc. This paper presents the closed-form modeling of an XY nano-manipulator consisting of statically indeterminate symmetric (SIS) structures using leaf and circular fexure hinges. Theoretical analysis reveals that the lever's compliance, the contact stifness, and the load mass have signifcant infuence on the static and dynamic performances of the system. Experiments are conducted to verify the efectiveness of the established models. If no piezoelectric actuator (PEA) is installed, the infuence of the contact stifness can be eliminated. Experimental results show that the estimation error on the output stifness and frst natural frequency can reach 2% and 1.7%, respectively. If PEAs are installed, the contact stifness shows up in the models. As no efective method is currently available to measure or estimate the contact stifness, it is impossible to precisely estimate the performance of the overall system. In this case, the established closed-form models can be utilized to calculate the bounds of the performance. The established closed-form models are widely applicable in the design and optimization of planar fexure-based mechanisms.
Flexure-based mechanisms are widely utilized in nano manipulations. The closed-form statics and dynamics modeling is difcult due to the complex topologies, the inevitable compliance of levers, the Hertzian contact interface, etc. This paper presents the closed-form modeling of an XY nano-manipulator consisting of statically indeterminate symmetric (SIS) structures using leaf and circular fexure hinges. Theoretical analysis reveals that the lever's compliance, the contact stifness, and the load mass have signifcant infuence on the static and dynamic performances of the system. Experiments are conducted to verify the efectiveness of the established models. If no piezoelectric actuator (PEA) is installed, the infuence of the contact stifness can be eliminated. Experimental results show that the estimation error on the output stifness and frst natural frequency can reach 2% and 1.7%, respectively. If PEAs are installed, the contact stifness shows up in the models. As no efective method is currently available to measure or estimate the contact stifness, it is impossible to precisely estimate the performance of the overall system. In this case, the established closed-form models can be utilized to calculate the bounds of the performance. The established closed-form models are widely applicable in the design and optimization of planar fexure-based mechanisms.
2018, 31: 8.
doi: 10.1186/s10033-018-0208-7
Abstract:
Ultra-precision machine tool is the most important physical tool to machining the workpiece with the frequency domain error requirement, in the design process of which the dynamic accuracy design (DAD) is indispensable and the related research is rarely available. In light of above reasons, a DAD method of ultra-precision machine tool is proposed in this paper, which is based on the frequency domain error allocation. The basic procedure and enabling knowledge of the DAD method is introduced. The application case of DAD method in the ultra-precision fycutting machine tool for KDP crystal machining is described to show the procedure detailedly. In this case, the KDP workpiece surface has the requirements in four diferent spatial frequency bands, and the emphasis for this study is put on the middle-frequency band with the PSD specifcations. The results of the application case basically show the feasibility of the proposed DAD method. The DAD method of ultra-precision machine tool can efectively minimize the technical risk and improve the machining reliability of the designed machine tool. This paper will play an important role in the design and manufacture of new ultra-precision machine tool.
Ultra-precision machine tool is the most important physical tool to machining the workpiece with the frequency domain error requirement, in the design process of which the dynamic accuracy design (DAD) is indispensable and the related research is rarely available. In light of above reasons, a DAD method of ultra-precision machine tool is proposed in this paper, which is based on the frequency domain error allocation. The basic procedure and enabling knowledge of the DAD method is introduced. The application case of DAD method in the ultra-precision fycutting machine tool for KDP crystal machining is described to show the procedure detailedly. In this case, the KDP workpiece surface has the requirements in four diferent spatial frequency bands, and the emphasis for this study is put on the middle-frequency band with the PSD specifcations. The results of the application case basically show the feasibility of the proposed DAD method. The DAD method of ultra-precision machine tool can efectively minimize the technical risk and improve the machining reliability of the designed machine tool. This paper will play an important role in the design and manufacture of new ultra-precision machine tool.
2018, 31: 9.
doi: 10.1186/s10033-018-0212-y
Abstract:
Optical membrane mirrors are promising key components for future space telescopes. Due to their ultra-thin and high fexible properties, the surfaces of these membrane mirrors are susceptible to temperature variations. Therefore adaptive shape control of the mirror is essential to maintain the surface precision and to ensure its working performance. However, researches on modeling and control of membrane mirrors under thermal loads are sparse in open literatures. A 0.2 m diameter scale model of a polyimide membrane mirror is developed in this study. Three Polyvinylidene fuoride (PVDF) patches are laminated on the non-refective side of the membrane mirror to serve as in-plane actuators. A new mathematical model of the piezoelectric actuated membrane mirror in multiple felds, (i.e., thermal, mechanical, and electrical feld) is established, with which dynamic and static behaviors of the mirror can be analyzed. A closed-loop membrane mirror shape control system is set up and a surface shape control method based on an infuence function matrix of the mirror is then investigated. Several experiments including surface displacement tracking and thermal deformation alleviation are performed. The deviations range from 15 μm to 20 μm are eliminated within 0.1 s and the residual deformation is controlled to micron level, which demonstrates the efectiveness of the proposed membrane shape control strategy and shows a satisfactory real-time performance. The proposed research provides a technological support and instruction for shape control of optical membrane mirrors.
Optical membrane mirrors are promising key components for future space telescopes. Due to their ultra-thin and high fexible properties, the surfaces of these membrane mirrors are susceptible to temperature variations. Therefore adaptive shape control of the mirror is essential to maintain the surface precision and to ensure its working performance. However, researches on modeling and control of membrane mirrors under thermal loads are sparse in open literatures. A 0.2 m diameter scale model of a polyimide membrane mirror is developed in this study. Three Polyvinylidene fuoride (PVDF) patches are laminated on the non-refective side of the membrane mirror to serve as in-plane actuators. A new mathematical model of the piezoelectric actuated membrane mirror in multiple felds, (i.e., thermal, mechanical, and electrical feld) is established, with which dynamic and static behaviors of the mirror can be analyzed. A closed-loop membrane mirror shape control system is set up and a surface shape control method based on an infuence function matrix of the mirror is then investigated. Several experiments including surface displacement tracking and thermal deformation alleviation are performed. The deviations range from 15 μm to 20 μm are eliminated within 0.1 s and the residual deformation is controlled to micron level, which demonstrates the efectiveness of the proposed membrane shape control strategy and shows a satisfactory real-time performance. The proposed research provides a technological support and instruction for shape control of optical membrane mirrors.
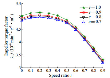
2018, 31: 10.
doi: 10.1186/s10033-018-0203-z
Abstract:
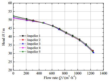
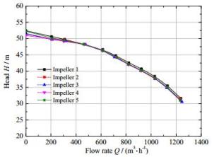
Pressure fuctuation may cause high amplitude of vibration of double-suction centrifugal pumps, but the impact of impeller stagger angles is still not well understood. In this paper, pressure fuctuation experiments are carried out for fve impeller confgurations with diferent stagger angles by using the same test rig system. Results show that the stagger angles exert negligible efects on the characteristics of head and efciency. The distributions of pressure fuctuations are relatively uniform along the suction chamber wall, and the maximum pressure fuctuation amplitude is reached near the suction inlet tongue region. The pressure fuctuation characteristics are afected largely by impeller rotation, whose dominant frequencies include impeller rotation frequency and its harmonic frequencies, and half blade passage frequency. The stagger angle exerts a small efect on the pressure fuctuations in the suction chamber while a great efect on the pressure fuctuation in volute casing, especially on the aspect of decreasing the amplitude on blade passage frequency. Among the tested cases, the distribution of pressure fuctuations in the volute becomes more uniform than the other impeller confgurations and the level of pressure fuctuation may be reduced by up to 50% when the impeller stagger angle is close to 24° or 36°. The impeller structure pattern needs to be taken into consideration during the design period, and the halfway staggered impeller is strongly recommended.
Pressure fuctuation may cause high amplitude of vibration of double-suction centrifugal pumps, but the impact of impeller stagger angles is still not well understood. In this paper, pressure fuctuation experiments are carried out for fve impeller confgurations with diferent stagger angles by using the same test rig system. Results show that the stagger angles exert negligible efects on the characteristics of head and efciency. The distributions of pressure fuctuations are relatively uniform along the suction chamber wall, and the maximum pressure fuctuation amplitude is reached near the suction inlet tongue region. The pressure fuctuation characteristics are afected largely by impeller rotation, whose dominant frequencies include impeller rotation frequency and its harmonic frequencies, and half blade passage frequency. The stagger angle exerts a small efect on the pressure fuctuations in the suction chamber while a great efect on the pressure fuctuation in volute casing, especially on the aspect of decreasing the amplitude on blade passage frequency. Among the tested cases, the distribution of pressure fuctuations in the volute becomes more uniform than the other impeller confgurations and the level of pressure fuctuation may be reduced by up to 50% when the impeller stagger angle is close to 24° or 36°. The impeller structure pattern needs to be taken into consideration during the design period, and the halfway staggered impeller is strongly recommended.
2018, 31: 21.
doi: 10.1186/s10033-018-0227-4
Abstract:
Spiral groove dry gas seal (S-DGS), the most widely used DGS in the world, encounters the problem of high leakage rate and inferior film stability when used in high-speed machinery equipment, which could not be well solved by optimization of geometrical parameters and molded line of spiral groove. A new type of bionic cluster spiral groove DGS (CS-DGS) is proved to have superior film stability than S-DGS at the condition of high-speed and low-pressure numerically. A bionic CS-DGS is experimentally investigated and compared with common S-DGS in order to provide evidence for theoretical study. The film thickness and leakage rate of both bionic spiral groove and common spiral groove DGS are measured and compared with each other and with theoretical values under different closing force at the condition of static pressure, high-speed and low-pressure, and the film stiffness and stiffness-leakage ratio of these two face seals are derived by the relationship between closing force and film thickness at the steady state. Experimental results agree well with the theory that the leakage and stiffness of bionic CS-DGS are superior to that of common S-DGS under the condition of high-speed and low-pressure, with the decreasing amplitude of 20% to 40% and the growth amplitude of 20%, respectively. The opening performance and stiffness characteristics of bionic CS-DGS are inferior to that of common S-DGS when rotation speed equals to 0 r/min. The proposed research provides a new method to measure the axis film stiffness of DGS, and validates the superior performance of bionic CS-DGS at the condition of high-speed and low-pressure experimentally.
Spiral groove dry gas seal (S-DGS), the most widely used DGS in the world, encounters the problem of high leakage rate and inferior film stability when used in high-speed machinery equipment, which could not be well solved by optimization of geometrical parameters and molded line of spiral groove. A new type of bionic cluster spiral groove DGS (CS-DGS) is proved to have superior film stability than S-DGS at the condition of high-speed and low-pressure numerically. A bionic CS-DGS is experimentally investigated and compared with common S-DGS in order to provide evidence for theoretical study. The film thickness and leakage rate of both bionic spiral groove and common spiral groove DGS are measured and compared with each other and with theoretical values under different closing force at the condition of static pressure, high-speed and low-pressure, and the film stiffness and stiffness-leakage ratio of these two face seals are derived by the relationship between closing force and film thickness at the steady state. Experimental results agree well with the theory that the leakage and stiffness of bionic CS-DGS are superior to that of common S-DGS under the condition of high-speed and low-pressure, with the decreasing amplitude of 20% to 40% and the growth amplitude of 20%, respectively. The opening performance and stiffness characteristics of bionic CS-DGS are inferior to that of common S-DGS when rotation speed equals to 0 r/min. The proposed research provides a new method to measure the axis film stiffness of DGS, and validates the superior performance of bionic CS-DGS at the condition of high-speed and low-pressure experimentally.
2018, 31: 22.
doi: 10.1186/s10033-018-0222-9
Abstract:
Currently, many studies on the local discontinuous Galerkin method focus on the Cartesian grid with low computational efficiency and poor adaptability to complex shapes. A new immersed boundary method is presented, and this method employs the adaptive Cartesian grid to improve the adaptability to complex shapes and the immersed boundary to increase computational efficiency. The new immersed boundary method employs different boundary cells (the physical cell and ghost cell) to impose the boundary condition and the reconstruction algorithm of the ghost cell is the key for this method. The classical model elliptic equation is used to test the method. This method is tested and analyzed from the viewpoints of boundary cell type, error distribution and accuracy. The numerical result shows that the presented method has low error and a good rate of the convergence and works well in complex geometries. The method has good prospect for practical application research of the numerical calculation research.
Currently, many studies on the local discontinuous Galerkin method focus on the Cartesian grid with low computational efficiency and poor adaptability to complex shapes. A new immersed boundary method is presented, and this method employs the adaptive Cartesian grid to improve the adaptability to complex shapes and the immersed boundary to increase computational efficiency. The new immersed boundary method employs different boundary cells (the physical cell and ghost cell) to impose the boundary condition and the reconstruction algorithm of the ghost cell is the key for this method. The classical model elliptic equation is used to test the method. This method is tested and analyzed from the viewpoints of boundary cell type, error distribution and accuracy. The numerical result shows that the presented method has low error and a good rate of the convergence and works well in complex geometries. The method has good prospect for practical application research of the numerical calculation research.
2018, 31: 23.
doi: 10.1186/s10033-018-0228-3
Abstract:
Many researchers concentrate on improving the stiffness and stability of aerostatic bearings, however the contradiction between stiffness and stability is still existed. Therefore, orifice, multiple, and porous restrictors are designed to illustrate the influence of restrictor characteristics on the stability and stiffness of the aerostatic circular pad bearings. Because both the stiffness and stability of aerostatic bearings are determined by the internal pressure distribution, the full Navier-Stokes (N-S) equations are applied to solve internal pressure distribution in bearing film by using computational fluid dynamics (CFD) method. Simulation results present that the stiffness and stability of aerostatic circular pad bearings are influenced significantly by geometrical and material parameters, such as film thickness, orifice diameters, and viscous resistance coefficient. Verified by the experimental data, the micro vibration of orifice restrictor is almost the same as multiple restrictors with amplitude of 0.02 m/s2, but it is much stronger than the porous restrictors with acceleration of 0.006 m/s2. The optimal stiffness of multiple restrictors increased by 46%, compared to only 30.2 N/μm of orifice restrictor, and the porous restrictors had obvious advantage in the small film thickness less than 6 μm where the optimal stiffness increased to 38.3 N/μm. The numerical and experimental results provide guidance for improving the stiffness and stability of aerostatic bearings.
Many researchers concentrate on improving the stiffness and stability of aerostatic bearings, however the contradiction between stiffness and stability is still existed. Therefore, orifice, multiple, and porous restrictors are designed to illustrate the influence of restrictor characteristics on the stability and stiffness of the aerostatic circular pad bearings. Because both the stiffness and stability of aerostatic bearings are determined by the internal pressure distribution, the full Navier-Stokes (N-S) equations are applied to solve internal pressure distribution in bearing film by using computational fluid dynamics (CFD) method. Simulation results present that the stiffness and stability of aerostatic circular pad bearings are influenced significantly by geometrical and material parameters, such as film thickness, orifice diameters, and viscous resistance coefficient. Verified by the experimental data, the micro vibration of orifice restrictor is almost the same as multiple restrictors with amplitude of 0.02 m/s2, but it is much stronger than the porous restrictors with acceleration of 0.006 m/s2. The optimal stiffness of multiple restrictors increased by 46%, compared to only 30.2 N/μm of orifice restrictor, and the porous restrictors had obvious advantage in the small film thickness less than 6 μm where the optimal stiffness increased to 38.3 N/μm. The numerical and experimental results provide guidance for improving the stiffness and stability of aerostatic bearings.
2018, 31: 24.
doi: 10.1186/s10033-018-0221-x
Abstract:
Planetary gear systems have been widely used in transportation, construction, metallurgy, petroleum, aviation and other industrial fields. Under the same condition of power transmission, they have a more compact structure than ordinary gear train. However, some critical parts, such as sun gear, planet gear and ring gear often suffer from fatigue and wear under the conditions of high speed and heavy load. For reliability research, in order to predict the fatigue probability life of planetary gear system, detailed kinematic and mechanical analysis for a planetary gear system is firstly completed. Meanwhile, a gear bending fatigue test is carried out at a stress level to obtain the strength information of specific gears. Then, a life distribution transformation model is established according to the order statistics theory. Transformation process is that, the life distribution of test gear is transformed to that of single tooth, and then the life distribution of single tooth can be effectively transformed to that of the planetary gear system. In addition, the effectiveness of the transformation model is finally verified by a processing method with random censoring data.
Planetary gear systems have been widely used in transportation, construction, metallurgy, petroleum, aviation and other industrial fields. Under the same condition of power transmission, they have a more compact structure than ordinary gear train. However, some critical parts, such as sun gear, planet gear and ring gear often suffer from fatigue and wear under the conditions of high speed and heavy load. For reliability research, in order to predict the fatigue probability life of planetary gear system, detailed kinematic and mechanical analysis for a planetary gear system is firstly completed. Meanwhile, a gear bending fatigue test is carried out at a stress level to obtain the strength information of specific gears. Then, a life distribution transformation model is established according to the order statistics theory. Transformation process is that, the life distribution of test gear is transformed to that of single tooth, and then the life distribution of single tooth can be effectively transformed to that of the planetary gear system. In addition, the effectiveness of the transformation model is finally verified by a processing method with random censoring data.
2018, 31: 27.
doi: 10.1186/s10033-018-0224-7
Abstract:
Fractal theory provides scale-independent asperity contact loads and assumes variable curvature radii in the contact analyses of rough surfaces, the current research for which mainly focuses on the mechanism study. The present study introduces the fractal theory into the dynamic research of gas face seals under face-contacting conditions. Structure-Function method is adopted to handle the surface profiles of typical carbon-graphite rings, proving the fractal contact model can be used in the field of gas face seals. Using a numerical model established for the dynamic analyses of a spiral groove gas face seal with a flexibly mounted stator, a comparison of dynamic performance between the Majumdar-Bhushan (MB) fractal model and the Chang-Etsion-Bogy (CEB) statistical model is performed. The result shows that the two approaches induce differences in terms of the occurrence and the level of face contact. Although the approach distinctions in film thickness and leakage rate can be tiny, the distinctions in contact mechanism and end face damage are obvious. An investigation of fractal parameters D and G shows that a proper D (nearly 1.5) and a small G are helpful in raising the proportion of elastic deformation to weaken the adhesive wear in the sealing dynamic performance. The proposed research provides a fractal approach to design gas face seals.
Fractal theory provides scale-independent asperity contact loads and assumes variable curvature radii in the contact analyses of rough surfaces, the current research for which mainly focuses on the mechanism study. The present study introduces the fractal theory into the dynamic research of gas face seals under face-contacting conditions. Structure-Function method is adopted to handle the surface profiles of typical carbon-graphite rings, proving the fractal contact model can be used in the field of gas face seals. Using a numerical model established for the dynamic analyses of a spiral groove gas face seal with a flexibly mounted stator, a comparison of dynamic performance between the Majumdar-Bhushan (MB) fractal model and the Chang-Etsion-Bogy (CEB) statistical model is performed. The result shows that the two approaches induce differences in terms of the occurrence and the level of face contact. Although the approach distinctions in film thickness and leakage rate can be tiny, the distinctions in contact mechanism and end face damage are obvious. An investigation of fractal parameters D and G shows that a proper D (nearly 1.5) and a small G are helpful in raising the proportion of elastic deformation to weaken the adhesive wear in the sealing dynamic performance. The proposed research provides a fractal approach to design gas face seals.
2018, 31: 28.
doi: 10.1186/s10033-018-0225-6
Abstract:
When a spiral groove is formed using superplastic molding, precision casting, additive manufacturing, or other non-mechanical processing technology, it is difficult to meet the molding precision required for direct use, and the surface quality and accuracy of the shape need to be improved through a finishing process. In view of the poor reachability of the current tool-based polishing process, a tool-less polishing method using free-abrasive grains for complex spiral grooves is proposed. With this method, by controlling the movement of the workpiece, the design basis and relative motion of the abrasive particles along a helical path remain consistent, resulting in a better polishing profile. A spiral groove of a revolving body is taken as the research object; the influence of the installation method and the position of the parts, as well as the effect of the rotational speed of the abrasive ball on its relative motion along a helical trajectory, are studied, and the polishing cutting process of an abrasive ball is reasonably simplified. A consistent mathematical model of the trajectory of an abrasive ball relative to the design helix is constructed. The grooved drum parts are verified through a polishing experiment. The spiral groove of the revolving body is modified and polished. Experiments show that the process not only corrects the shape a spiral groove error, but also reduces the surface roughness of a spiral groove. This study provides a theoretical basis for achieving free-abrasive, tool-free polishing.
When a spiral groove is formed using superplastic molding, precision casting, additive manufacturing, or other non-mechanical processing technology, it is difficult to meet the molding precision required for direct use, and the surface quality and accuracy of the shape need to be improved through a finishing process. In view of the poor reachability of the current tool-based polishing process, a tool-less polishing method using free-abrasive grains for complex spiral grooves is proposed. With this method, by controlling the movement of the workpiece, the design basis and relative motion of the abrasive particles along a helical path remain consistent, resulting in a better polishing profile. A spiral groove of a revolving body is taken as the research object; the influence of the installation method and the position of the parts, as well as the effect of the rotational speed of the abrasive ball on its relative motion along a helical trajectory, are studied, and the polishing cutting process of an abrasive ball is reasonably simplified. A consistent mathematical model of the trajectory of an abrasive ball relative to the design helix is constructed. The grooved drum parts are verified through a polishing experiment. The spiral groove of the revolving body is modified and polished. Experiments show that the process not only corrects the shape a spiral groove error, but also reduces the surface roughness of a spiral groove. This study provides a theoretical basis for achieving free-abrasive, tool-free polishing.
2018, 31: 40.
doi: 10.1186/s10033-018-0230-9
Abstract:
Fault feature extraction has a positive effect on accurate diagnosis of diesel engine. Currently, studies of fault feature extraction have focused on the time domain or the frequency domain of signals. However, early fault signals are mostly weak energy signals, and time domain or frequency domain features will be overwhelmed by strong background noise. In order consistent features to be extracted that accurately represent the state of the engine, bispectrum estimation is used to analyze the nonlinearity, non-Gaussianity and quadratic phase coupling (QPC) information of the engine vibration signals under different conditions. Digital image processing and fractal theory is used to extract the fractal features of the bispectrum pictures. The outcomes demonstrate that the diesel engine vibration signal bispectrum under different working conditions shows an obvious differences and the most complicated bispectrum is in the normal state. The fractal dimension of various invalid signs is novel and diverse fractal parameters were utilized to separate and characterize them. The value of the fractal dimension is consistent with the non-Gaussian intensity of the signal, so it can be used as an eigenvalue of fault diagnosis, and also be used as a non-Gaussian signal strength indicator. Consequently, a symptomatic approach in view of the hypothetical outcome is inferred and checked by the examination of vibration signals from the diesel motor. The proposed research provides the basis for on-line monitoring and diagnosis of valve train faults.
Fault feature extraction has a positive effect on accurate diagnosis of diesel engine. Currently, studies of fault feature extraction have focused on the time domain or the frequency domain of signals. However, early fault signals are mostly weak energy signals, and time domain or frequency domain features will be overwhelmed by strong background noise. In order consistent features to be extracted that accurately represent the state of the engine, bispectrum estimation is used to analyze the nonlinearity, non-Gaussianity and quadratic phase coupling (QPC) information of the engine vibration signals under different conditions. Digital image processing and fractal theory is used to extract the fractal features of the bispectrum pictures. The outcomes demonstrate that the diesel engine vibration signal bispectrum under different working conditions shows an obvious differences and the most complicated bispectrum is in the normal state. The fractal dimension of various invalid signs is novel and diverse fractal parameters were utilized to separate and characterize them. The value of the fractal dimension is consistent with the non-Gaussian intensity of the signal, so it can be used as an eigenvalue of fault diagnosis, and also be used as a non-Gaussian signal strength indicator. Consequently, a symptomatic approach in view of the hypothetical outcome is inferred and checked by the examination of vibration signals from the diesel motor. The proposed research provides the basis for on-line monitoring and diagnosis of valve train faults.
2018, 31: 43.
doi: 10.1186/s10033-018-0231-8
Abstract:
Nowadays, a highly integrated valve-controlled cylinder (HIVC) is applied to drive the joints of legged robots. Although the adoption of HIVC has resulted in high-performance robot control, the hydraulic force system still has problems, such as strong nonlinearity, and time-varying parameters. This makes HIVC force control very difficult and complex. How to improve the control performance of the HIVC force control system and find the influence rule of the system parameters on the control performance is very significant. Firstly, the mathematical model of HIVC force control system is established. Then the mathematical expression for parameter sensitivity matrix is obtained by applying matrix sensitivity analysis (PSM). Then, aimed at the sinusoidal response under (three factors and three levels) working conditions, the simulation and the experiment are conducted. While the error between the simulation and experiment canot be avoided. Therefore, combined with the range analysis, the error in the two performance indexes of sinusoidal response under the whole working condition is analyzed. Besides, the sensitivity variation pattern for each system parameter under the whole working condition is figured out. Then the two sensitivity indexes for the three system parameters, which are supply pressure, proportional gain and initial displacement of piston, are proved experimentally. The proposed method significantly reveals the sensitivity characteristics of HIVC force control system, which can make the contribution to improve the control performance.
Nowadays, a highly integrated valve-controlled cylinder (HIVC) is applied to drive the joints of legged robots. Although the adoption of HIVC has resulted in high-performance robot control, the hydraulic force system still has problems, such as strong nonlinearity, and time-varying parameters. This makes HIVC force control very difficult and complex. How to improve the control performance of the HIVC force control system and find the influence rule of the system parameters on the control performance is very significant. Firstly, the mathematical model of HIVC force control system is established. Then the mathematical expression for parameter sensitivity matrix is obtained by applying matrix sensitivity analysis (PSM). Then, aimed at the sinusoidal response under (three factors and three levels) working conditions, the simulation and the experiment are conducted. While the error between the simulation and experiment canot be avoided. Therefore, combined with the range analysis, the error in the two performance indexes of sinusoidal response under the whole working condition is analyzed. Besides, the sensitivity variation pattern for each system parameter under the whole working condition is figured out. Then the two sensitivity indexes for the three system parameters, which are supply pressure, proportional gain and initial displacement of piston, are proved experimentally. The proposed method significantly reveals the sensitivity characteristics of HIVC force control system, which can make the contribution to improve the control performance.
2018, 31: 45.
doi: 10.1186/s10033-018-0245-2
Abstract:
As was found through information interface analysis of target search in fighter radar situation environment, there are many of visual attention problems caused by complex environment and features, which generate visual interference. This paper extracts the interference environment of situation interface and the feature of information matter as the major factors, also and adopts the interference environment, featured items and quantity as three variables to conduct the experimental study on simulation of the feature search fighter information identification. The experimental results showed that the information identification under low and high interference environments revealed to a significant difference. Due to the high interference environment formed by various information presented in the radar situation-interface, only if being forcibly free from interference could the pilots be able to realize the information identification precisely. Three features, i.e., regular shape-single color, irregular shape-single color and irregular shape-hybrid color, presented a trend of progressive increase of reaction time, which suggested that irregular shape-hybrid color was the difficult cognition and the long reaction time. The eye movement data also suggested that the target search under high interference environment displayed the longer fixation time, more saccade counts and longer scan path, than under low interference environment. In addition, the first saccade time, the total fixation time and saccade counts of featured items search presented an increasing trend, which is the same as reaction. Therefore, the colors and shapes of featured items exerted a remarkable influence to the judgment of objects target. In conclusion the interference environment and the information matter features both have played the important roles in influence of the information identification in the radar situation-interface. The environment and the features are the design factors, which needed for consideration in the information layout of the complex situation-interface. Thus, a conclusion provides a design guideline to the rational layout and improvement of the complex information interface.
As was found through information interface analysis of target search in fighter radar situation environment, there are many of visual attention problems caused by complex environment and features, which generate visual interference. This paper extracts the interference environment of situation interface and the feature of information matter as the major factors, also and adopts the interference environment, featured items and quantity as three variables to conduct the experimental study on simulation of the feature search fighter information identification. The experimental results showed that the information identification under low and high interference environments revealed to a significant difference. Due to the high interference environment formed by various information presented in the radar situation-interface, only if being forcibly free from interference could the pilots be able to realize the information identification precisely. Three features, i.e., regular shape-single color, irregular shape-single color and irregular shape-hybrid color, presented a trend of progressive increase of reaction time, which suggested that irregular shape-hybrid color was the difficult cognition and the long reaction time. The eye movement data also suggested that the target search under high interference environment displayed the longer fixation time, more saccade counts and longer scan path, than under low interference environment. In addition, the first saccade time, the total fixation time and saccade counts of featured items search presented an increasing trend, which is the same as reaction. Therefore, the colors and shapes of featured items exerted a remarkable influence to the judgment of objects target. In conclusion the interference environment and the information matter features both have played the important roles in influence of the information identification in the radar situation-interface. The environment and the features are the design factors, which needed for consideration in the information layout of the complex situation-interface. Thus, a conclusion provides a design guideline to the rational layout and improvement of the complex information interface.
2018, 31: 46.
doi: 10.1186/s10033-018-0246-1
Abstract:
Roll fattening is an important component in the roll stack elastic deformation, which has important infuence on controlling of the strip crown and fatness. Foppl formula and semi-infnite body model are the most popular analytical models in the roll fattening calculation. However, the roll fattening calculated by traditional fattening models has a great deviation from actual situation, especially near the barrel edges. Therefore, in order to improve the accuracy of roll fattening, a new model is proposed based on the elastic half plane theory. The calculation formulas of roll fattening are deduced respectively under the assumptions of plane strain and plane stress. Then, the two assumptions are combined through the method of introducing an transition coefcient, and the distribution rules of roll fattening for diferent rolling force, fattening width, roll length and roll diameter are analyzed by using the FEM analysis software Marc. Regarding the ratio of the length to roll end and the roll diameter as variable to ft the transition coefcient, the new model of roll fattening is established based on the elastic half plane theory. Finally, the transition coefcient is ftted to establish the model. Compared with the traditional models, the new model can efectively improve the calculation deviation in the roll end, which has important signifcance for accurate simulation of plate shape, especially for the distribution of rolling force between rolls.
Roll fattening is an important component in the roll stack elastic deformation, which has important infuence on controlling of the strip crown and fatness. Foppl formula and semi-infnite body model are the most popular analytical models in the roll fattening calculation. However, the roll fattening calculated by traditional fattening models has a great deviation from actual situation, especially near the barrel edges. Therefore, in order to improve the accuracy of roll fattening, a new model is proposed based on the elastic half plane theory. The calculation formulas of roll fattening are deduced respectively under the assumptions of plane strain and plane stress. Then, the two assumptions are combined through the method of introducing an transition coefcient, and the distribution rules of roll fattening for diferent rolling force, fattening width, roll length and roll diameter are analyzed by using the FEM analysis software Marc. Regarding the ratio of the length to roll end and the roll diameter as variable to ft the transition coefcient, the new model of roll fattening is established based on the elastic half plane theory. Finally, the transition coefcient is ftted to establish the model. Compared with the traditional models, the new model can efectively improve the calculation deviation in the roll end, which has important signifcance for accurate simulation of plate shape, especially for the distribution of rolling force between rolls.
2018, 31: 48.
doi: 10.1186/s10033-018-0247-0
Abstract:
Boundary layer suction is an effective method used to delay separations in axial compressors. Most studies on boundary layer suction have focused on improving the performance of compressors, whereas few studies investigated the influence on details of the flow fields, especially vortexes in compressors. CFD method is validated with experimental data firstly. Three single-slot and one double-slot endwall boundary layer suction schemes are designed and investigated. In addition to the investigation of aerodynamic performance of the cascades with and without suction, variations in corner open separation, passage vortex, and concentration shedding vortex, which are rarely seen for the flow controlled blades in published literatures, are analyzed. Then, flow models, which are the ultimate aim, of both baseline and aspirated cascades are established. Results show that single-slot endwall suction scheme adjacent to the suction surface can effectively remove the corner open separation. With suction mass flow rate of 0.85%, the overall loss coefficient and endwall loss coefficient of the cascade are reduced by 25.2% and 48.6%, respectively. Besides, this scheme increases the static pressure rise coefficient of the cascade by 3.2% and the flow turning angle of up to 3.3° at 90% span. The concentration shedding vortex decreases, whereas the passage vortex increases. For single-slot suction schemes near the middle pitchwise of the passage, the concentration shedding vortex increases and the passage vortex is divided into two smaller passage vortexes, which converge into a single-passage vortex near the trailing edge section of the cascade. For the double-slot suction scheme, triple-passage vortexes are presented in the blade passage. Some new vortex structures are discovered, and the novel flow models of aspirated compressor cascade are proposed, which are important to improve the design of multi-stage aspirated compressors.
Boundary layer suction is an effective method used to delay separations in axial compressors. Most studies on boundary layer suction have focused on improving the performance of compressors, whereas few studies investigated the influence on details of the flow fields, especially vortexes in compressors. CFD method is validated with experimental data firstly. Three single-slot and one double-slot endwall boundary layer suction schemes are designed and investigated. In addition to the investigation of aerodynamic performance of the cascades with and without suction, variations in corner open separation, passage vortex, and concentration shedding vortex, which are rarely seen for the flow controlled blades in published literatures, are analyzed. Then, flow models, which are the ultimate aim, of both baseline and aspirated cascades are established. Results show that single-slot endwall suction scheme adjacent to the suction surface can effectively remove the corner open separation. With suction mass flow rate of 0.85%, the overall loss coefficient and endwall loss coefficient of the cascade are reduced by 25.2% and 48.6%, respectively. Besides, this scheme increases the static pressure rise coefficient of the cascade by 3.2% and the flow turning angle of up to 3.3° at 90% span. The concentration shedding vortex decreases, whereas the passage vortex increases. For single-slot suction schemes near the middle pitchwise of the passage, the concentration shedding vortex increases and the passage vortex is divided into two smaller passage vortexes, which converge into a single-passage vortex near the trailing edge section of the cascade. For the double-slot suction scheme, triple-passage vortexes are presented in the blade passage. Some new vortex structures are discovered, and the novel flow models of aspirated compressor cascade are proposed, which are important to improve the design of multi-stage aspirated compressors.
2018, 31: 49.
doi: 10.1186/s10033-018-0249-y
Abstract:
Dynamic characteristic significantly affects performance of RV reducer. The current researches mainly pay attention to free vibration properties of RV reducer. In order to satisfy the increasing demand on high performance, response sensitivity is analytically studied on the basis of cyclic symmetry structure. Based on the structure characteristics, a dynamic model is developed by taking into account the influence of bearing stiffness, crankshaft bending stiffness and mesh stiffness within planetary and cycloidal stages. For the model, governing equation of motion is derived and solved by Fourier series method. The solution revealed that forced vibrations at primary frequency are well defined structural. There exist three typical forced vibration modes: rotational, translational and planetary component modes. Response sensitivity to basic design parameters is obtained as closed-form expressions by differential method. With the typical vibration modes, response sensitivity is simplified and classified into three types. Calculation of sensitivity implies that vibrations of the output wheel are sensitive to eccentricity. As eccentricity increases, sensitivity of translation decreases first and then increases, but sensitivity of rotation always increases. The proposed method for analyzing response sensitivity provides some principles for selecting parameters for RV reducer from the point of view of forced vibration.
Dynamic characteristic significantly affects performance of RV reducer. The current researches mainly pay attention to free vibration properties of RV reducer. In order to satisfy the increasing demand on high performance, response sensitivity is analytically studied on the basis of cyclic symmetry structure. Based on the structure characteristics, a dynamic model is developed by taking into account the influence of bearing stiffness, crankshaft bending stiffness and mesh stiffness within planetary and cycloidal stages. For the model, governing equation of motion is derived and solved by Fourier series method. The solution revealed that forced vibrations at primary frequency are well defined structural. There exist three typical forced vibration modes: rotational, translational and planetary component modes. Response sensitivity to basic design parameters is obtained as closed-form expressions by differential method. With the typical vibration modes, response sensitivity is simplified and classified into three types. Calculation of sensitivity implies that vibrations of the output wheel are sensitive to eccentricity. As eccentricity increases, sensitivity of translation decreases first and then increases, but sensitivity of rotation always increases. The proposed method for analyzing response sensitivity provides some principles for selecting parameters for RV reducer from the point of view of forced vibration.
3D Progressive Damage Based Macro-Mechanical FE Simulation of Machining Unidirectional FRP Composite
2018, 31: 51.
doi: 10.1186/s10033-018-0250-5
Abstract:
Finite element (FE) simulation is a powerful tool for investigating the mechanism of machining fiber-reinforced polymer composite (FRP). However in existing FE machining simulation works, the two-dimensional (2D) progressive damage models only describe material behavior in plane stress, while the three-dimensional (3D) damage models always assume an instantaneous stiffness reduction pattern. So the chip formation mechanism of FRP under machining is not fully analyzed in general stress state. A 3D macro-mechanical based FE simulation model was developed for the machining of unidirectional glass fiber reinforced plastic. An energy based 3D progressive damage model was proposed for damage evolution and continuous stiffness degradation. The damage model was implemented for the Hashin-type criterion and Maximum stress criterion. The influences of the failure criterion and fracture energy dissipation on the simulation results were studied. The simulated chip shapes, cutting forces and sub-surface damages were verified by those obtained in the reference experiment. The simulation results also show consistency with previous 2D FE models in the reference. The proposed research provides a model for simulating FRP material behavior and the machining process in 3D stress state.
Finite element (FE) simulation is a powerful tool for investigating the mechanism of machining fiber-reinforced polymer composite (FRP). However in existing FE machining simulation works, the two-dimensional (2D) progressive damage models only describe material behavior in plane stress, while the three-dimensional (3D) damage models always assume an instantaneous stiffness reduction pattern. So the chip formation mechanism of FRP under machining is not fully analyzed in general stress state. A 3D macro-mechanical based FE simulation model was developed for the machining of unidirectional glass fiber reinforced plastic. An energy based 3D progressive damage model was proposed for damage evolution and continuous stiffness degradation. The damage model was implemented for the Hashin-type criterion and Maximum stress criterion. The influences of the failure criterion and fracture energy dissipation on the simulation results were studied. The simulated chip shapes, cutting forces and sub-surface damages were verified by those obtained in the reference experiment. The simulation results also show consistency with previous 2D FE models in the reference. The proposed research provides a model for simulating FRP material behavior and the machining process in 3D stress state.
2018, 31: 52.
doi: 10.1186/s10033-018-0252-3
Abstract:
It is of a vital importance to reduce the frictional losses in marine diesel engines. Advanced surface textures have provided an efective solution to friction performance of rubbing pairs due to the rapid development of surface engineering techniques. However, the mechanisms through which textured patterns and texturing methods prove benefcial remains unclear. To address this issue, the tribological system of the cylinder liner-piston ring (CLPR) is investigated in this work. Two types of surface textures (Micro concave, Micro Ⅴ-groove) are processed on the cylinder specimen using diferent processing methods. Comparative study on the friction coefcients, worn surface texture features and oil flm characteristics are performed. The results demonstrate that the processing method of surface texture afect the performance of the CLPR pairs under the specifc testing conditions. In addition the micro Ⅴ-groove processed by CNCPM is more favorable for improving the wear performances at the low load, while the micro-con- cave processed by CE is more favorable for improving the wear performances at the high load. These fndings are in helping to understand the efect of surface texture on wear performance of CLPR.
It is of a vital importance to reduce the frictional losses in marine diesel engines. Advanced surface textures have provided an efective solution to friction performance of rubbing pairs due to the rapid development of surface engineering techniques. However, the mechanisms through which textured patterns and texturing methods prove benefcial remains unclear. To address this issue, the tribological system of the cylinder liner-piston ring (CLPR) is investigated in this work. Two types of surface textures (Micro concave, Micro Ⅴ-groove) are processed on the cylinder specimen using diferent processing methods. Comparative study on the friction coefcients, worn surface texture features and oil flm characteristics are performed. The results demonstrate that the processing method of surface texture afect the performance of the CLPR pairs under the specifc testing conditions. In addition the micro Ⅴ-groove processed by CNCPM is more favorable for improving the wear performances at the low load, while the micro-con- cave processed by CE is more favorable for improving the wear performances at the high load. These fndings are in helping to understand the efect of surface texture on wear performance of CLPR.
2018, 31: 56.
doi: 10.1186/s10033-018-0254-1
Abstract:
Double-roller clamping spinning (DRCS) is a new process for forming a thin-walled cylinder with a complex surface fange. The process requires a small spinning force, and can visibly improve forming quality and production efciency. However, the deformation mechanism of the process has not been completely understood. Therefore, both a fnite element numerical simulation and experimental research on the DRCS process are carried out. The results show that both radial force and axial force dominate the forming process of DRCS. The deformation area elongates along the radial direction and bends along the axial direction under the action of the two forces. Both the outer edge and round corner of the fange show the tangential tensile stress and radial compressive stress. The middle region shows tensile tangential stress and radial stress, while the inner edge shows compressive tangential stress and radial stress. Tangential tensile strain causes a wall thickness reduction in the outer edge and middle regions of the fange. The large compressive thickness strain causes material accumulation and thus, an increase in the wall thickness of the round corner. Because of bending deformation, the round corner shows a large radial tensile strain in addition. The inner edge of the fange shows small radial compressive strain and tensile strain in thickness. Thus, the wall thickness on the inner edge of the fange continues to increase, although the increment is small. Furthermore, microstructure analysis and tensile test results show that the fanged thin-walled cylinder formed by DRCS has good mechanical properties. The results provide instructions for the application of the DRCS process.
Double-roller clamping spinning (DRCS) is a new process for forming a thin-walled cylinder with a complex surface fange. The process requires a small spinning force, and can visibly improve forming quality and production efciency. However, the deformation mechanism of the process has not been completely understood. Therefore, both a fnite element numerical simulation and experimental research on the DRCS process are carried out. The results show that both radial force and axial force dominate the forming process of DRCS. The deformation area elongates along the radial direction and bends along the axial direction under the action of the two forces. Both the outer edge and round corner of the fange show the tangential tensile stress and radial compressive stress. The middle region shows tensile tangential stress and radial stress, while the inner edge shows compressive tangential stress and radial stress. Tangential tensile strain causes a wall thickness reduction in the outer edge and middle regions of the fange. The large compressive thickness strain causes material accumulation and thus, an increase in the wall thickness of the round corner. Because of bending deformation, the round corner shows a large radial tensile strain in addition. The inner edge of the fange shows small radial compressive strain and tensile strain in thickness. Thus, the wall thickness on the inner edge of the fange continues to increase, although the increment is small. Furthermore, microstructure analysis and tensile test results show that the fanged thin-walled cylinder formed by DRCS has good mechanical properties. The results provide instructions for the application of the DRCS process.
2018, 31: 57.
doi: 10.1186/s10033-018-0258-x
Abstract:
Current researches mainly focus on the investigations of the valve plate utilizing pressure relief grooves. However, air-release and cavitation can occur near the grooves. The valve plate utilizing damping holes show excellent performance in avoiding air-release and cavitation. This study aims to reduce the noise emitted from an axial piston pump using a novel valve plate utilizing damping holes. A dynamic pump model is developed, in which the fuid properties are carefully modeled to capture the phenomena of air release and cavitation. The causes of diferent noise sources are investigated using the model. A comprehensive parametric analysis is conducted to enhance the understanding of the efects of the valve plate parameters on the noise sources. A multi-objective genetic algorithm optimization method is proposed to optimize the parameters of valve plate. The amplitudes of the swash plate moment and fow rates in the inlet and outlet ports are defned as the objective functions. The pressure overshoot and undershoot in the piston chamber are limited by properly constraining the highest and lowest pressure values. A comparison of the various noise sources between the original and optimized designs over a wide range of pressure levels shows that the noise sources are reduced at high pressures. The results of the sound pressure level measurements show that the optimized valve plate reduces the noise level by 1.6 dB(A) at the rated working condition. The proposed method is efective in reducing the noise of axial piston pumps and contributes to the development of quieter axial piston machines.
Current researches mainly focus on the investigations of the valve plate utilizing pressure relief grooves. However, air-release and cavitation can occur near the grooves. The valve plate utilizing damping holes show excellent performance in avoiding air-release and cavitation. This study aims to reduce the noise emitted from an axial piston pump using a novel valve plate utilizing damping holes. A dynamic pump model is developed, in which the fuid properties are carefully modeled to capture the phenomena of air release and cavitation. The causes of diferent noise sources are investigated using the model. A comprehensive parametric analysis is conducted to enhance the understanding of the efects of the valve plate parameters on the noise sources. A multi-objective genetic algorithm optimization method is proposed to optimize the parameters of valve plate. The amplitudes of the swash plate moment and fow rates in the inlet and outlet ports are defned as the objective functions. The pressure overshoot and undershoot in the piston chamber are limited by properly constraining the highest and lowest pressure values. A comparison of the various noise sources between the original and optimized designs over a wide range of pressure levels shows that the noise sources are reduced at high pressures. The results of the sound pressure level measurements show that the optimized valve plate reduces the noise level by 1.6 dB(A) at the rated working condition. The proposed method is efective in reducing the noise of axial piston pumps and contributes to the development of quieter axial piston machines.
2018, 31: 62.
doi: 10.1186/s10033-018-0261-2
Abstract:
Textured surfaces are widely used in engineering components as they can improve tribological properties of sliding contacts, while the detailed behaviors of nanoscale reciprocating sliding contacts of textured surfaces are still lack of study. By using multiscale method, two dimensional nanoscale reciprocating sliding contacts of textured surfaces are investigated. The influence of indentation depth, texture shape, texture spacing, and tip radius on the average friction forces and the running-in stages is studied. The results show that the lowest indentation depth can make all the four textured surfaces reach steady state. Surfaces with right-angled trapezoid textures on the right side are better for reducing the running-in stage, and surfaces with right-angled trapezoid textures on the left side are better to reduce wear. Compared with other textured surfaces, the total average friction forces can be reduced by 82.94%-91.49% for the case of the contact between the tip with radius R=60r0 and the isosceles trapezoid textured surface. Besides, the total average friction forces increase with the tip radii due to that bigger tip will induce higher contact areas. This research proposes a detailed study on nanoscale reciprocating sliding contacts of textured surfaces, to contribute to design textured surfaces, reduce friction and wear.
Textured surfaces are widely used in engineering components as they can improve tribological properties of sliding contacts, while the detailed behaviors of nanoscale reciprocating sliding contacts of textured surfaces are still lack of study. By using multiscale method, two dimensional nanoscale reciprocating sliding contacts of textured surfaces are investigated. The influence of indentation depth, texture shape, texture spacing, and tip radius on the average friction forces and the running-in stages is studied. The results show that the lowest indentation depth can make all the four textured surfaces reach steady state. Surfaces with right-angled trapezoid textures on the right side are better for reducing the running-in stage, and surfaces with right-angled trapezoid textures on the left side are better to reduce wear. Compared with other textured surfaces, the total average friction forces can be reduced by 82.94%-91.49% for the case of the contact between the tip with radius R=60r0 and the isosceles trapezoid textured surface. Besides, the total average friction forces increase with the tip radii due to that bigger tip will induce higher contact areas. This research proposes a detailed study on nanoscale reciprocating sliding contacts of textured surfaces, to contribute to design textured surfaces, reduce friction and wear.
2018, 31: 64.
doi: 10.1186/s10033-018-0264-z
Abstract:
Due to the lack of understanding in the flow mechanism of the hub plate crown, the current calculation of the disc friction loss and the axial thrust in the centrifugal pump often uses empirical formulas. Research on the flow characteristics of the hub plate crown is of practical significance. The shroud and hub cavities are respectively studied with regard to tangential and radial velocities at the four different angular positions (0°, 90°, 180°, and 270°) at the four different operational points (0.6Qsp, 0.8Qsp, 1.0Qsp, and 1.2Qsp). Results indicate that at the same operational point, the smaller the volute chamber sectional area is, the higher the tangential velocity of the fluid core zone of the shroud cavity is. Radial leakage flow from the volute to the seal ring at the same operational point appears in 0° and 90° direction; when the flow is large, the tangential and radial velocities of the shroud and hub cavities with the same radius tend to be equal with axial symmetry. The axial leakage flow through the balance holes significantly affects the radial distribution of both tangential and radial velocities of fluid flow in the hub cavity. The numerical calculation results of fluid leakage through the clearance of back sealing ring are in good agreement with the test results. Accordingly, the magnitude of leakage is closely related to the fluid pressure and velocity distribution in the hub plate crown of the centrifugal pump. The analysis of the flow characteristics in the hub plate crown of the centrifugal pump could reveal the cause of the disc friction loss from the mechanism, providing a significant guidance for improving the accuracy of calculation and balancing the axial thrust in the centrifugal pump.
Due to the lack of understanding in the flow mechanism of the hub plate crown, the current calculation of the disc friction loss and the axial thrust in the centrifugal pump often uses empirical formulas. Research on the flow characteristics of the hub plate crown is of practical significance. The shroud and hub cavities are respectively studied with regard to tangential and radial velocities at the four different angular positions (0°, 90°, 180°, and 270°) at the four different operational points (0.6Qsp, 0.8Qsp, 1.0Qsp, and 1.2Qsp). Results indicate that at the same operational point, the smaller the volute chamber sectional area is, the higher the tangential velocity of the fluid core zone of the shroud cavity is. Radial leakage flow from the volute to the seal ring at the same operational point appears in 0° and 90° direction; when the flow is large, the tangential and radial velocities of the shroud and hub cavities with the same radius tend to be equal with axial symmetry. The axial leakage flow through the balance holes significantly affects the radial distribution of both tangential and radial velocities of fluid flow in the hub cavity. The numerical calculation results of fluid leakage through the clearance of back sealing ring are in good agreement with the test results. Accordingly, the magnitude of leakage is closely related to the fluid pressure and velocity distribution in the hub plate crown of the centrifugal pump. The analysis of the flow characteristics in the hub plate crown of the centrifugal pump could reveal the cause of the disc friction loss from the mechanism, providing a significant guidance for improving the accuracy of calculation and balancing the axial thrust in the centrifugal pump.
2018, 31: 67.
doi: 10.1186/s10033-018-0272-z
Abstract:
Surface texturing has been applied to improving the tribological performance of mechanical components for many years. Currently, the researches simulate the film pressure distribution of textured rough surfaces on the basis of the average flow model, and however the influence of roughness on the film pressure distribution could not be precisely expressed. Therefore, in order to study the hydrodynamic lubrication of the rough textured surfaces, sinusoidal waves are employed to characterize untextured surfaces. A deterministic model for hydrodynamic lubrication of micro-dimple textured rough surfaces is developed to predict the distribution of hydrodynamic pressure. By supplementing with the JFO cavitation boundary, the load carrying capacity of the film produced by micro-dimples and roughness is obtained. And the geometric parameters of textured rough surface are optimized to obtain the maximum hydrodynamic lubrication by specifying an optimization goal of the load carrying capacity. The effect of roughness on the hydrodynamic pressure of surface texture is significant and the load carrying capacity decreases with the increase of the roughness ratio because the roughness greatly suppresses the hydrodynamic effect of dimples. It shows that the roughness ratio of surface may be as small as possible to suppress the effect of hydrodynamic lubrication. Additionally, there are the optimum values of the micro-dimple depth and area density to maximize the load carrying capacity for any given value of the roughness ratio. The proposed approach is capable of accurately reflects the influence of roughness on the hydrodynamic pressure, and developed a deterministic model to investigate the hydrodynamic lubrication of textured surfaces.
Surface texturing has been applied to improving the tribological performance of mechanical components for many years. Currently, the researches simulate the film pressure distribution of textured rough surfaces on the basis of the average flow model, and however the influence of roughness on the film pressure distribution could not be precisely expressed. Therefore, in order to study the hydrodynamic lubrication of the rough textured surfaces, sinusoidal waves are employed to characterize untextured surfaces. A deterministic model for hydrodynamic lubrication of micro-dimple textured rough surfaces is developed to predict the distribution of hydrodynamic pressure. By supplementing with the JFO cavitation boundary, the load carrying capacity of the film produced by micro-dimples and roughness is obtained. And the geometric parameters of textured rough surface are optimized to obtain the maximum hydrodynamic lubrication by specifying an optimization goal of the load carrying capacity. The effect of roughness on the hydrodynamic pressure of surface texture is significant and the load carrying capacity decreases with the increase of the roughness ratio because the roughness greatly suppresses the hydrodynamic effect of dimples. It shows that the roughness ratio of surface may be as small as possible to suppress the effect of hydrodynamic lubrication. Additionally, there are the optimum values of the micro-dimple depth and area density to maximize the load carrying capacity for any given value of the roughness ratio. The proposed approach is capable of accurately reflects the influence of roughness on the hydrodynamic pressure, and developed a deterministic model to investigate the hydrodynamic lubrication of textured surfaces.
2018, 31: 69.
doi: 10.1186/s10033-018-0265-y
Abstract:
In order to control the quality of spline shaft in rolling process, an efficient measurement method for rolling performance evaluation is essential. Here, a newly developed on-machine non-contact measurement prototype based on laser displacement sensor and rotary encoder is proposed. The prototype is intended for the automated evaluation of the spline shaft rolling performance by measuring the dimensional change of tooth root, which is correlated with the surface residual stress and micro-hardness. Laser displacement sensor and rotary encoder are used to record the polar radius and polar angle of each point on measuring section. Data are displayed in a polar coordinate system and fitted in a gear. Through multipoint curvature method, the roots of spline shaft are recognized automatically. Then, the dimensional change can be calculated by fitting the radius of the tooth root circle before and after rolling. Systematic error covering offset error is also analyzed and calibrated. At last, measurement test results show that the system has advantages of simple structure, high measurement precision (radius error < 0.6 μm), high measurement efficiency (measuring time < 2 s) and automatic control ability, providing a new opportunity for the efficient evaluation of various spline shafts in high-precision mechanical processing.
In order to control the quality of spline shaft in rolling process, an efficient measurement method for rolling performance evaluation is essential. Here, a newly developed on-machine non-contact measurement prototype based on laser displacement sensor and rotary encoder is proposed. The prototype is intended for the automated evaluation of the spline shaft rolling performance by measuring the dimensional change of tooth root, which is correlated with the surface residual stress and micro-hardness. Laser displacement sensor and rotary encoder are used to record the polar radius and polar angle of each point on measuring section. Data are displayed in a polar coordinate system and fitted in a gear. Through multipoint curvature method, the roots of spline shaft are recognized automatically. Then, the dimensional change can be calculated by fitting the radius of the tooth root circle before and after rolling. Systematic error covering offset error is also analyzed and calibrated. At last, measurement test results show that the system has advantages of simple structure, high measurement precision (radius error < 0.6 μm), high measurement efficiency (measuring time < 2 s) and automatic control ability, providing a new opportunity for the efficient evaluation of various spline shafts in high-precision mechanical processing.
2018, 31: 70.
doi: 10.1186/s10033-018-0266-x
Abstract:
hermal self-compressing bonding (TSCB) is a new solid-state bonding method pioneered by the authors. With electron beam as the non-melted heat source, previous experimental study performed on titanium alloys has proved the feasibility of TSCB. However, the thermal stress-strain process during bonding, which is of very important significance in revealing the mechanism of TSCB, was not analysed. In this paper, finite element analysis method is adopted to numerically study the thermal elasto-plastic stress-strain cycle of thermal self-compressing bonding. It is found that due to the localized heating, a non-uniform temperature distribution is formed during bonding, with the highest temperature existed on the bond interface. The expansion of high temperature materials adjacent to the bond interface are restrained by surrounding cool materials and rigid restraints, and thus an internal elasto-plastic stress-strain field is developed by itself which makes the bond interface subjected to thermal compressive action. This thermal self-compressing action combined with the high temperature on the bond interface promotes the atom diffusion across the bond interface to produce solid-state joints. Due to the relatively large plastic deformation, rigid restraint TSCB obtains sound joints in relatively short time compared to diffusion bonding.
hermal self-compressing bonding (TSCB) is a new solid-state bonding method pioneered by the authors. With electron beam as the non-melted heat source, previous experimental study performed on titanium alloys has proved the feasibility of TSCB. However, the thermal stress-strain process during bonding, which is of very important significance in revealing the mechanism of TSCB, was not analysed. In this paper, finite element analysis method is adopted to numerically study the thermal elasto-plastic stress-strain cycle of thermal self-compressing bonding. It is found that due to the localized heating, a non-uniform temperature distribution is formed during bonding, with the highest temperature existed on the bond interface. The expansion of high temperature materials adjacent to the bond interface are restrained by surrounding cool materials and rigid restraints, and thus an internal elasto-plastic stress-strain field is developed by itself which makes the bond interface subjected to thermal compressive action. This thermal self-compressing action combined with the high temperature on the bond interface promotes the atom diffusion across the bond interface to produce solid-state joints. Due to the relatively large plastic deformation, rigid restraint TSCB obtains sound joints in relatively short time compared to diffusion bonding.
2018, 31: 71.
doi: 10.1186/s10033-018-0271-0
Abstract:
The surface quality of chamfer milling of stainless steel is closed related to the products of 3C (Computer, Communication and Consumer electronics), where a cutter is a major part to achieve that. Targeting a high-quality cutter, an experimental evaluation is carried out on the influence of grinding texture of cutter flank face on surface quality. The mathematic models of chamfer cutter are established, and they are validated by a numerical simulation. Also the grinding data are generated by the models and tested by a grinding simulation for safety reasons. Then, a set of chamfer cutting tools are machined in a five-axis CNC grinding machine, and consist of five angles between the cutting edge and the grinding texture on the 1st flank faces, i.e., 0°, 15°, 30°, 45° and 60°. Furthermore, the machined cutting tools are tested in a series of milling experiments of chamfer hole of stainless steel, where cutting forces and surface morphologies are measured and observed. The results show that the best state of both surface quality and cutting force is archived by the tool with 45° grinding texture, which can provide a support for manufacturing of cutting tool used in chamfer milling.
The surface quality of chamfer milling of stainless steel is closed related to the products of 3C (Computer, Communication and Consumer electronics), where a cutter is a major part to achieve that. Targeting a high-quality cutter, an experimental evaluation is carried out on the influence of grinding texture of cutter flank face on surface quality. The mathematic models of chamfer cutter are established, and they are validated by a numerical simulation. Also the grinding data are generated by the models and tested by a grinding simulation for safety reasons. Then, a set of chamfer cutting tools are machined in a five-axis CNC grinding machine, and consist of five angles between the cutting edge and the grinding texture on the 1st flank faces, i.e., 0°, 15°, 30°, 45° and 60°. Furthermore, the machined cutting tools are tested in a series of milling experiments of chamfer hole of stainless steel, where cutting forces and surface morphologies are measured and observed. The results show that the best state of both surface quality and cutting force is archived by the tool with 45° grinding texture, which can provide a support for manufacturing of cutting tool used in chamfer milling.
2018, 31: 72.
doi: 10.1186/s10033-018-0270-1
Abstract:
Surfaces with controllable micro structures are significant in fundamental development of superhydrophobicity. However, preparation of superhydrophobic surfaces with array structures on metal substrates is not effective using existing methods. A new method was presented to fabricate super-hydrophobic post arrays on aluminum (Al) substrates using mask electrochemical machining and fluoridation. Electrochemical etching was first applied on Al plates with pre-prepared photoresist arrays to make the post array structures. Surface modification was subsequently applied to reduce the surface energy, followed by interaction with water to realize superhydrophobicity. Simulation and experimental verification were conducted to investigate how machining parameters affect the array structures. Analysis of the water contact angle was implemented to explore the relationship between wettability and micro structures. The results indicate that superhydrophobic surfaces with controllable post structures can be fabricated through this proposed method, producing surfaces with high water static contact angles.
Surfaces with controllable micro structures are significant in fundamental development of superhydrophobicity. However, preparation of superhydrophobic surfaces with array structures on metal substrates is not effective using existing methods. A new method was presented to fabricate super-hydrophobic post arrays on aluminum (Al) substrates using mask electrochemical machining and fluoridation. Electrochemical etching was first applied on Al plates with pre-prepared photoresist arrays to make the post array structures. Surface modification was subsequently applied to reduce the surface energy, followed by interaction with water to realize superhydrophobicity. Simulation and experimental verification were conducted to investigate how machining parameters affect the array structures. Analysis of the water contact angle was implemented to explore the relationship between wettability and micro structures. The results indicate that superhydrophobic surfaces with controllable post structures can be fabricated through this proposed method, producing surfaces with high water static contact angles.
2018, 31: 73.
doi: 10.1186/s10033-018-0277-7
Abstract:
It is a great challenge to find effective atomizing technology for reducing industrial pollution; the twin-fluid atomizing nozzle has drawn great attention in this field recently. Current studies on twin-fluid nozzles mainly focus on droplet breakup and single droplet characteristics. Research relating to the influences of structural parameters on the droplet diameter characteristics in the flow field is scarcely available. In this paper, the influence of a self-excited vibrating cavity structure on droplet diameter characteristics was investigated. Twin-fluid atomizing tests were performed by a self-built open atomizing test bench, which was based on a phase Doppler particle analyzer (PDPA). The atomizing flow field of the twin-fluid nozzle with a self-excited vibrating cavity and its absence were tested and analyzed. Then the atomizing flow field of the twin-fluid nozzle with different self-excited vibrating cavity structures was investigated. The experimental results show that the structural parameters of the self-excited vibrating cavity had a great effect on the breakup of large droplets. The Sauter mean diameter (SMD) increased with the increase of orifice diameter or orifice depth. Moreover, a smaller orifice diameter or orifice depth was beneficial to enhancing the turbulence around the outlet of nozzle and decreasing the SMD. The atomizing performance was better when the orifice diameter was 2.0 mm or the orifice depth was 1.5 mm. Furthermore, the SMD increased first and then decreased with the increase of the distance between the nozzle outlet and self-excited vibrating cavity, and the SMD of more than half the atomizing flow field was under 35 μm when the distance was 5.0 mm. In addition, with the increase of axial and radial distance from the nozzle outlet, the SMD and arithmetic mean diameter (AMD) tend to increase. The research results provide some design parameters for the twin-fluid nozzle, and the experimental results could serve as a beneficial supplement to the twin-fluid nozzle study.
It is a great challenge to find effective atomizing technology for reducing industrial pollution; the twin-fluid atomizing nozzle has drawn great attention in this field recently. Current studies on twin-fluid nozzles mainly focus on droplet breakup and single droplet characteristics. Research relating to the influences of structural parameters on the droplet diameter characteristics in the flow field is scarcely available. In this paper, the influence of a self-excited vibrating cavity structure on droplet diameter characteristics was investigated. Twin-fluid atomizing tests were performed by a self-built open atomizing test bench, which was based on a phase Doppler particle analyzer (PDPA). The atomizing flow field of the twin-fluid nozzle with a self-excited vibrating cavity and its absence were tested and analyzed. Then the atomizing flow field of the twin-fluid nozzle with different self-excited vibrating cavity structures was investigated. The experimental results show that the structural parameters of the self-excited vibrating cavity had a great effect on the breakup of large droplets. The Sauter mean diameter (SMD) increased with the increase of orifice diameter or orifice depth. Moreover, a smaller orifice diameter or orifice depth was beneficial to enhancing the turbulence around the outlet of nozzle and decreasing the SMD. The atomizing performance was better when the orifice diameter was 2.0 mm or the orifice depth was 1.5 mm. Furthermore, the SMD increased first and then decreased with the increase of the distance between the nozzle outlet and self-excited vibrating cavity, and the SMD of more than half the atomizing flow field was under 35 μm when the distance was 5.0 mm. In addition, with the increase of axial and radial distance from the nozzle outlet, the SMD and arithmetic mean diameter (AMD) tend to increase. The research results provide some design parameters for the twin-fluid nozzle, and the experimental results could serve as a beneficial supplement to the twin-fluid nozzle study.
2018, 31: 74.
doi: 10.1186/s10033-018-0276-8
Abstract:
Wire and arc additive manufacturing (WAAM) shows a great promise for fabricating fully dense metal parts by means of melting materials in layers using a welding heat source. However, due to a large layer height produced in WAAM, an unsatisfactory surface roughness of parts processed by this technology has been a key issue. A methodology based on laser vision sensing is proposed to quantitatively calculate the surface roughness of parts deposited by WAAM. Calibrations for a camera and a laser plane of the optical system are presented. The reconstruction precision of the laser vision system is verified by a standard workpiece. Additionally, this determination approach is utilized to calculate the surface roughness of a multi-layer single-pass thin-walled part. The results indicate that the optical measurement approach based on the laser vision sensing is a simple and effective way to characterize the surface roughness of parts deposited by WAAM. The maximum absolute error is less than 0.15 mm. The proposed research provides the foundation for surface roughness optimization with different process parameters.
Wire and arc additive manufacturing (WAAM) shows a great promise for fabricating fully dense metal parts by means of melting materials in layers using a welding heat source. However, due to a large layer height produced in WAAM, an unsatisfactory surface roughness of parts processed by this technology has been a key issue. A methodology based on laser vision sensing is proposed to quantitatively calculate the surface roughness of parts deposited by WAAM. Calibrations for a camera and a laser plane of the optical system are presented. The reconstruction precision of the laser vision system is verified by a standard workpiece. Additionally, this determination approach is utilized to calculate the surface roughness of a multi-layer single-pass thin-walled part. The results indicate that the optical measurement approach based on the laser vision sensing is a simple and effective way to characterize the surface roughness of parts deposited by WAAM. The maximum absolute error is less than 0.15 mm. The proposed research provides the foundation for surface roughness optimization with different process parameters.
2018, 31: 75.
doi: 10.1186/s10033-018-0274-x
Abstract:
Many design engineers in cross-domain industries have attended training classes of TRIZ to improve their innovative abilities in China. Most of them are successful, but others are not. So the latest target of the trainers is to improve the training process used now in industry in China and to make the engineers to understand the basic principles of TRIZ better. Based on the mass-engineer-oriented training model (MEOTM) and mechanical engineers' design cases, a relationship between managing activities about the opportunities for innovation and the training process is set up. It is shown that the inventive problems come first from opportunity searching for engineers. A training and gate system for evaluation is developed to involve the managing activities of the companies in the training process. Then comparison between the general analogous process and the application of TRIZ is made, which shows the advantages and depth principles of TRIZ for the engineers to apply them confidently. Lastly a new process is formed in which opportunity searching, engineers training, inventive problems identifying and solving, and three redesign paths are connected seamlessly. The research proposes an opportunity-driven redesign path that cooperates the training and opportunity searching, which will be applied in future training classes to make more and more engineers to follow.
Many design engineers in cross-domain industries have attended training classes of TRIZ to improve their innovative abilities in China. Most of them are successful, but others are not. So the latest target of the trainers is to improve the training process used now in industry in China and to make the engineers to understand the basic principles of TRIZ better. Based on the mass-engineer-oriented training model (MEOTM) and mechanical engineers' design cases, a relationship between managing activities about the opportunities for innovation and the training process is set up. It is shown that the inventive problems come first from opportunity searching for engineers. A training and gate system for evaluation is developed to involve the managing activities of the companies in the training process. Then comparison between the general analogous process and the application of TRIZ is made, which shows the advantages and depth principles of TRIZ for the engineers to apply them confidently. Lastly a new process is formed in which opportunity searching, engineers training, inventive problems identifying and solving, and three redesign paths are connected seamlessly. The research proposes an opportunity-driven redesign path that cooperates the training and opportunity searching, which will be applied in future training classes to make more and more engineers to follow.
2018, 31: 80.
doi: 10.1186/s10033-018-0279-5
Abstract:
In spectrum analysis of induction motor current, the characteristic components of broken rotor bars (BRB) fault are often submerged by the fundamental component. Although many detection methods have been proposed for this problem, the frequency resolution and accuracy are not high enough so that the reliability of BRB fault detection is affected. Thus, a new multiple signal classification (MUSIC) algorithm based on particle swarm intelligence search is developed. Since spectrum peak search in MUSIC is a multimodal optimization problem, an improved bare-bones particle swarm optimization algorithm (IBPSO) is proposed first. In the IBPSO, a modified strategy of subpopulation determination is introduced into BPSO for realizing multimodal search. And then, the new MUSIC algorithm, called IBPSO-based MUSIC, is proposed by replacing the fixed-step traversal search with IBPSO. Meanwhile, a simulation signal is used to test the effectiveness of the proposed algorithm. The simulation results show that its frequency precision reaches 10-5, and the computational cost is only comparable to that of traditional MUSIC with 0.1 search step. Finally, the IBPSO-based MUSIC is applied in BRB fault detection of an induction motor, and the effectiveness and superiority are proved again. The proposed research provides a modified MUSIC algorithm which has sufficient frequency precision to detect BRB fault in induction motors.
In spectrum analysis of induction motor current, the characteristic components of broken rotor bars (BRB) fault are often submerged by the fundamental component. Although many detection methods have been proposed for this problem, the frequency resolution and accuracy are not high enough so that the reliability of BRB fault detection is affected. Thus, a new multiple signal classification (MUSIC) algorithm based on particle swarm intelligence search is developed. Since spectrum peak search in MUSIC is a multimodal optimization problem, an improved bare-bones particle swarm optimization algorithm (IBPSO) is proposed first. In the IBPSO, a modified strategy of subpopulation determination is introduced into BPSO for realizing multimodal search. And then, the new MUSIC algorithm, called IBPSO-based MUSIC, is proposed by replacing the fixed-step traversal search with IBPSO. Meanwhile, a simulation signal is used to test the effectiveness of the proposed algorithm. The simulation results show that its frequency precision reaches 10-5, and the computational cost is only comparable to that of traditional MUSIC with 0.1 search step. Finally, the IBPSO-based MUSIC is applied in BRB fault detection of an induction motor, and the effectiveness and superiority are proved again. The proposed research provides a modified MUSIC algorithm which has sufficient frequency precision to detect BRB fault in induction motors.
2018, 31: 81.
doi: 10.1186/s10033-018-0280-z
Abstract:
Cracks, especially small cracks are difficult to be detected in oil and gas transportation pipelines buried underground or covered with layers of material by using the traditional ultrasonic inspection techniques. Therefore, a new composite ultrasonic transducer array with three acoustic beam incidence modes is developed. The space model of the array is also established to obtain the defect reflection point location. And the crack ultrasound image is thus formed through a series of small cubical elements expanded around the point locations by using the projection of binarization values extracted from the received ultrasonic echo signals. Laboratory experiments are performed on a pipeline sample with different types of cracks to verify the effectiveness and performance of the proposed technique. From the image, the presence of small cracks can be clearly observed, in addition to the sizes and orientations of the cracks. The proposed technique can not only inspect common flaws, but also detect cracks with various orientations, which is helpful for defect evaluation in pipeline testing.
Cracks, especially small cracks are difficult to be detected in oil and gas transportation pipelines buried underground or covered with layers of material by using the traditional ultrasonic inspection techniques. Therefore, a new composite ultrasonic transducer array with three acoustic beam incidence modes is developed. The space model of the array is also established to obtain the defect reflection point location. And the crack ultrasound image is thus formed through a series of small cubical elements expanded around the point locations by using the projection of binarization values extracted from the received ultrasonic echo signals. Laboratory experiments are performed on a pipeline sample with different types of cracks to verify the effectiveness and performance of the proposed technique. From the image, the presence of small cracks can be clearly observed, in addition to the sizes and orientations of the cracks. The proposed technique can not only inspect common flaws, but also detect cracks with various orientations, which is helpful for defect evaluation in pipeline testing.
2018, 31: 82.
doi: 10.1186/s10033-018-0281-y
Abstract:
Constant stress accelerated life tests (ALTs) can be applied to obtain a high estimation accuracy of reliability measurements, but these are time-consuming tests. Progressive stress ALTs can yield failures more quickly but cannot guarantee the estimation accuracy of reliability measurements. In this paper, a progressive-constant combination stress ALT is proposed to combine the merits of both tests. The optimal plan, in which the design variables are the initial progressive stress level, the progressive stress ramp rate, the sample allocation proportion of the progressive stress and the constant stress level, is determined using the principle of minimizing the asymptotic variance of the maximum likelihood estimator of the natural log reliable life for the connectors. A comparison between the optimal PCCSALT plan and the CSALT plan with the same sample size and estimation accuracy shows that the test time is reduced by 13.59% by applying the PCCSALT.
Constant stress accelerated life tests (ALTs) can be applied to obtain a high estimation accuracy of reliability measurements, but these are time-consuming tests. Progressive stress ALTs can yield failures more quickly but cannot guarantee the estimation accuracy of reliability measurements. In this paper, a progressive-constant combination stress ALT is proposed to combine the merits of both tests. The optimal plan, in which the design variables are the initial progressive stress level, the progressive stress ramp rate, the sample allocation proportion of the progressive stress and the constant stress level, is determined using the principle of minimizing the asymptotic variance of the maximum likelihood estimator of the natural log reliable life for the connectors. A comparison between the optimal PCCSALT plan and the CSALT plan with the same sample size and estimation accuracy shows that the test time is reduced by 13.59% by applying the PCCSALT.
2018, 31: 84.
doi: 10.1186/s10033-018-0286-6
Abstract:
Many DNA-based devices need to build stable and controllable DNA films on surfaces. However, the most commonly used method of film characterization, namely, the probe-like microscopes which may destroy the sample and substrate. Surface Forces Apparatus (SFA) technique, specializing in surface interaction studies, is introduced to investigate the effects of DNA concentration on the formation of single-stranded DNA (ss-DNA) film. The result demonstrates that 50 ng/μL is the lowest concentration that ss-DNA construct a dense layer on mica. Besides, it is also indicated that at different DNA concentrations, ss-DNA exhibit diverse morphology: lying flat on surface at 50 ng/μL while forming bilayer or cross-link at 100 ng/μL, and these ss-DNA structures are stable enough due to the repeatability even under the load of 15 mN/m. At the same time, an obvious adhesion force is measured: -6.5 mN/m at 50 ng/μL and -5.3 mN/m at 100 ng/μL, respectively, which is attributed to the ion-correlation effect. Moreover, the atomic force microscopy (AFM) images reveal the entire surface is covered with wormlike ss-DNA and the measured surface roughness (1.8±0.2 nm) also matches well with the film thickness by SFA. The desorption behaviors of ss-DNA layer from mica surface occur by adding sodium salt into gap buffer, which is mainly ascribed to the decreased ion-ion correlation force. This paper employing SFA and AFM techniques to characterize the DNA film with flexibility and stable mechanical ability achieved by ion bridging method, is helpful to fabricate the DNA-based devices in nanoscale.
Many DNA-based devices need to build stable and controllable DNA films on surfaces. However, the most commonly used method of film characterization, namely, the probe-like microscopes which may destroy the sample and substrate. Surface Forces Apparatus (SFA) technique, specializing in surface interaction studies, is introduced to investigate the effects of DNA concentration on the formation of single-stranded DNA (ss-DNA) film. The result demonstrates that 50 ng/μL is the lowest concentration that ss-DNA construct a dense layer on mica. Besides, it is also indicated that at different DNA concentrations, ss-DNA exhibit diverse morphology: lying flat on surface at 50 ng/μL while forming bilayer or cross-link at 100 ng/μL, and these ss-DNA structures are stable enough due to the repeatability even under the load of 15 mN/m. At the same time, an obvious adhesion force is measured: -6.5 mN/m at 50 ng/μL and -5.3 mN/m at 100 ng/μL, respectively, which is attributed to the ion-correlation effect. Moreover, the atomic force microscopy (AFM) images reveal the entire surface is covered with wormlike ss-DNA and the measured surface roughness (1.8±0.2 nm) also matches well with the film thickness by SFA. The desorption behaviors of ss-DNA layer from mica surface occur by adding sodium salt into gap buffer, which is mainly ascribed to the decreased ion-ion correlation force. This paper employing SFA and AFM techniques to characterize the DNA film with flexibility and stable mechanical ability achieved by ion bridging method, is helpful to fabricate the DNA-based devices in nanoscale.
2018, 31: 85.
doi: 10.1186/s10033-018-0284-8
Abstract:
The dynamic recrystallization (DRX) simulation performance largely depends on simulated grain topological structures. However, currently solutions used different models for describing two-dimensional (2D) and three-dimensional (3D) grain size distributions. Therefore, it is necessary to develop a more universal simulation technique. A cellular automaton (CA) model combined with an optimized topology deformation technology is proposed to simulate the microstructural evolution of 42CrMo cast steel during DRX. In order to obtain values of material constants adopted in the CA model, hot deformation characteristics of 42CrMo cast steel are investigated by hot compression metallographic testing. The proposed CA model deviates in two important aspects from the regular CA model. First, an optimized grain topology deformation technology is utilized for studying the hot compression effect on the topology of grain deformation. Second, the overlapping grain topological structures are optimized by using an independent component analysis method, and the influence of various thermomechanical parameters on the nucleation process, grain growth kinetics, and mean grain sizes observed during DRX are explored. Experimental study shows that the average relative root mean square error (RRMSE) of the mean grain diameter obtained by the regular CA model is equal to 0.173, while the magnitude calculated using the proposed optimized CA model is only 0.11. This paper proposes a novel combined CA model for simulating the microstructural evolution of 42CrMo cast steel, which notably uses a ICA-based grain topology deformation method to optimize the overlapping grain topological structures in simulation.
The dynamic recrystallization (DRX) simulation performance largely depends on simulated grain topological structures. However, currently solutions used different models for describing two-dimensional (2D) and three-dimensional (3D) grain size distributions. Therefore, it is necessary to develop a more universal simulation technique. A cellular automaton (CA) model combined with an optimized topology deformation technology is proposed to simulate the microstructural evolution of 42CrMo cast steel during DRX. In order to obtain values of material constants adopted in the CA model, hot deformation characteristics of 42CrMo cast steel are investigated by hot compression metallographic testing. The proposed CA model deviates in two important aspects from the regular CA model. First, an optimized grain topology deformation technology is utilized for studying the hot compression effect on the topology of grain deformation. Second, the overlapping grain topological structures are optimized by using an independent component analysis method, and the influence of various thermomechanical parameters on the nucleation process, grain growth kinetics, and mean grain sizes observed during DRX are explored. Experimental study shows that the average relative root mean square error (RRMSE) of the mean grain diameter obtained by the regular CA model is equal to 0.173, while the magnitude calculated using the proposed optimized CA model is only 0.11. This paper proposes a novel combined CA model for simulating the microstructural evolution of 42CrMo cast steel, which notably uses a ICA-based grain topology deformation method to optimize the overlapping grain topological structures in simulation.
2018, 31: 87.
doi: 10.1186/s10033-018-0288-4
Abstract:
The spherical plain bearing test bench is a necessary detecting equipment in the research process of self-lubricating spherical plain bearings. The varying environmental temperatures cause the thermal deformation of the wear-depth detecting system of bearing test benches and then affect the accuracy of the wear-depth detecting data. However, few researches about the spherical plain bearing test benches can be found with the implementation of the detecting error compensation. Based on the self-made modular spherical plain bearing test bench, two main causes of thermal errors, the friction heat of bearings and the environmental temperature variation, are analysed. The thermal errors caused by the friction heat of bearings are calculated, and the thermal deformation of the wear-depth detecting system caused by the varying environmental temperatures is detected. In view of the above results, the environmental temperature variation is the main cause of the two error factors. When the environmental temperatures rise is 10.3 ℃, the thermal deformation is approximately 0.01 mm. In addition, the comprehensive compensating model of the thermal error of the wear-depth detecting system is built by multiple linear regression (MLR) and time series analysis. Compared with the detecting data of the thermal errors, the comprehensive compensating model has higher fitting precision, and the maximum residual is only 1 μm. A comprehensive compensating model of the thermal error of the wear-depth detecting system is proposed, which provides a theoretical basis for the improvement of the real-time wear-depth detecting precision of the spherical plain bearing test bench.
The spherical plain bearing test bench is a necessary detecting equipment in the research process of self-lubricating spherical plain bearings. The varying environmental temperatures cause the thermal deformation of the wear-depth detecting system of bearing test benches and then affect the accuracy of the wear-depth detecting data. However, few researches about the spherical plain bearing test benches can be found with the implementation of the detecting error compensation. Based on the self-made modular spherical plain bearing test bench, two main causes of thermal errors, the friction heat of bearings and the environmental temperature variation, are analysed. The thermal errors caused by the friction heat of bearings are calculated, and the thermal deformation of the wear-depth detecting system caused by the varying environmental temperatures is detected. In view of the above results, the environmental temperature variation is the main cause of the two error factors. When the environmental temperatures rise is 10.3 ℃, the thermal deformation is approximately 0.01 mm. In addition, the comprehensive compensating model of the thermal error of the wear-depth detecting system is built by multiple linear regression (MLR) and time series analysis. Compared with the detecting data of the thermal errors, the comprehensive compensating model has higher fitting precision, and the maximum residual is only 1 μm. A comprehensive compensating model of the thermal error of the wear-depth detecting system is proposed, which provides a theoretical basis for the improvement of the real-time wear-depth detecting precision of the spherical plain bearing test bench.
2018, 31: 88.
doi: 10.1186/s10033-018-0287-5
Abstract:
Due to operational wear and uneven carbon absorption in compressor and turbine wheels, the unbalance (me) vibration is induced and could lead to sub-synchronous vibration accidents for high-speed turbocharger (TC). There are very few research works that focus on the magnitude effects on such induced unbalance vibration. In this paper, a finite element model (FEM) is developed to characterize a realistic automotive TC rotor with floating ring bearings (FRBs). The nonlinear dynamic responses of the TC rotor system with different levels of induced unbalance magnitude in compressor and turbine wheels are calculated. From the results of waterfall and response spectral intensity plots, the bifurcation and instability phenomena depend on unbalance magnitude during the startup of TC. The sub-synchronous component 0.12× caused rotor unstable is the dominant frequency for small induced unbalance. The nonlinear effects of induced unbalance in the turbine wheel is obvious stronger than the compressor wheel. As the unbalance magnitude increases from 0.05 g·mm to 0.2 g·mm, the vibration component changes from mainly 0.12× to synchronous vibration 1×. When unbalance increases continuously, the rotor vibration response amplitude is rapidly growing and the 1× caused by the large unbalance excitation becomes the dominant frequency. A suitable un-balance magnitude of turbine wheel and compressor wheel for the high-speed TC rotor with FRBs is proposed: the value of induced un-balance magnitude should be kept around 0.2 g·mm.
Due to operational wear and uneven carbon absorption in compressor and turbine wheels, the unbalance (me) vibration is induced and could lead to sub-synchronous vibration accidents for high-speed turbocharger (TC). There are very few research works that focus on the magnitude effects on such induced unbalance vibration. In this paper, a finite element model (FEM) is developed to characterize a realistic automotive TC rotor with floating ring bearings (FRBs). The nonlinear dynamic responses of the TC rotor system with different levels of induced unbalance magnitude in compressor and turbine wheels are calculated. From the results of waterfall and response spectral intensity plots, the bifurcation and instability phenomena depend on unbalance magnitude during the startup of TC. The sub-synchronous component 0.12× caused rotor unstable is the dominant frequency for small induced unbalance. The nonlinear effects of induced unbalance in the turbine wheel is obvious stronger than the compressor wheel. As the unbalance magnitude increases from 0.05 g·mm to 0.2 g·mm, the vibration component changes from mainly 0.12× to synchronous vibration 1×. When unbalance increases continuously, the rotor vibration response amplitude is rapidly growing and the 1× caused by the large unbalance excitation becomes the dominant frequency. A suitable un-balance magnitude of turbine wheel and compressor wheel for the high-speed TC rotor with FRBs is proposed: the value of induced un-balance magnitude should be kept around 0.2 g·mm.
2018, 31: 89.
doi: 10.1186/s10033-018-0289-3
Abstract:
In order to solve the problem of substantial computational resources of lattice structure during optimization, a local relative density mapping (LRDM) method is proposed. The proposed method uses solid isotropic microstructures with penalization to optimize a model at the macroscopic scale. The local relative density information is obtained from the topology optimization result. The contour lines of an optimized model are extracted using a density contour approach, and the triangular mesh is generated using a mesh generator. A local mapping relationship between the elements' relative density and the struts' relative cross-sectional area is established to automatically determine the diameter of each individual strut in the lattice structures. The proposed LRDM method can be applied to local finite element meshes and local density elements, but it is also suitable for global ones. In addition, some cases are considered in order to test the effectiveness of the LRDM method. The results show that the solution time of the LRDM is lower than the RDM method by approximately 50%. The proposed method provides instructions for the design of more complex lattice structures.
In order to solve the problem of substantial computational resources of lattice structure during optimization, a local relative density mapping (LRDM) method is proposed. The proposed method uses solid isotropic microstructures with penalization to optimize a model at the macroscopic scale. The local relative density information is obtained from the topology optimization result. The contour lines of an optimized model are extracted using a density contour approach, and the triangular mesh is generated using a mesh generator. A local mapping relationship between the elements' relative density and the struts' relative cross-sectional area is established to automatically determine the diameter of each individual strut in the lattice structures. The proposed LRDM method can be applied to local finite element meshes and local density elements, but it is also suitable for global ones. In addition, some cases are considered in order to test the effectiveness of the LRDM method. The results show that the solution time of the LRDM is lower than the RDM method by approximately 50%. The proposed method provides instructions for the design of more complex lattice structures.
2018, 31: 90.
doi: 10.1186/s10033-018-0291-9
Abstract:
The problem of chatter vibration is associated with adverse consequences that often lead to tool impairment and poor surface finished in a workpiece, and thus, controlling or suppressing chatter vibrations is of great significance to improve machining quality. In this paper, a workpiece and an actuator dynamics are considered in modeling and controller design. A proportional-integral controller (PI) is presented to control and actively damp the chatter vibration of a workpiece in the milling process. The controller is chosen on the basis of its highly stable output and a smaller amount of steady-state error. The controller is realized using analog operational amplifier circuit. The work has contributed to planning a novel approach that addresses the problem of chatter vibration in spite of technical hitches in modeling and controller design. The method can also lead to considerable reduction in vibrations and can be beneficial in industries in term of cost reduction and energy saving. The application of this method is verified using active damping device actuator (ADD) in the milling of steel.
The problem of chatter vibration is associated with adverse consequences that often lead to tool impairment and poor surface finished in a workpiece, and thus, controlling or suppressing chatter vibrations is of great significance to improve machining quality. In this paper, a workpiece and an actuator dynamics are considered in modeling and controller design. A proportional-integral controller (PI) is presented to control and actively damp the chatter vibration of a workpiece in the milling process. The controller is chosen on the basis of its highly stable output and a smaller amount of steady-state error. The controller is realized using analog operational amplifier circuit. The work has contributed to planning a novel approach that addresses the problem of chatter vibration in spite of technical hitches in modeling and controller design. The method can also lead to considerable reduction in vibrations and can be beneficial in industries in term of cost reduction and energy saving. The application of this method is verified using active damping device actuator (ADD) in the milling of steel.
2018, 31: 91.
doi: 10.1186/s10033-018-0292-8
Abstract:
Computational efficiency and accuracy always conflict with each other in molecular dynamics (MD) simulations. How to enhance the computational efficiency and keep accuracy at the same time is concerned by each corresponding researcher. However, most of the current studies focus on MD algorithms, and if the scale of MD model could be reduced, the algorithms would be more meaningful. A local region molecular dynamics (LRMD) simulation method which can meet these two factors concurrently in nanoscale sliding contacts is developed in this paper. Full MD simulation is used to simulate indentation process before sliding. A criterion called contribution of displacement is presented, which is used to determine the effective local region in the MD model after indentation. By using the local region, nanoscale sliding contact between a rigid cylindrical tip and an elastic substrate is investigated. Two two-dimensional MD models are presented, and the friction forces from LRMD simulations agree well with that from full MD simulations, which testifies the effectiveness of the LRMD simulation method for two-dimensional cases. A three-dimensional MD model for sliding contacts is developed then to show the validity of the LRMD simulation method further. Finally, a discussion is carried out by the principles of tribology. In the discussion, two two-dimensional full MD models are used to simulate the nanoscale sliding contact problems. The results indicate that original smaller model will induce higher equivalent scratching depth, and then results in higher friction forces, which will help to explain the mechanism how the LRMD simulation method works. This method can be used to reduce the scale of MD model in large scale simulations, and it will enhance the computational efficiency without losing accuracy during the simulation of nanoscale sliding contacts.
Computational efficiency and accuracy always conflict with each other in molecular dynamics (MD) simulations. How to enhance the computational efficiency and keep accuracy at the same time is concerned by each corresponding researcher. However, most of the current studies focus on MD algorithms, and if the scale of MD model could be reduced, the algorithms would be more meaningful. A local region molecular dynamics (LRMD) simulation method which can meet these two factors concurrently in nanoscale sliding contacts is developed in this paper. Full MD simulation is used to simulate indentation process before sliding. A criterion called contribution of displacement is presented, which is used to determine the effective local region in the MD model after indentation. By using the local region, nanoscale sliding contact between a rigid cylindrical tip and an elastic substrate is investigated. Two two-dimensional MD models are presented, and the friction forces from LRMD simulations agree well with that from full MD simulations, which testifies the effectiveness of the LRMD simulation method for two-dimensional cases. A three-dimensional MD model for sliding contacts is developed then to show the validity of the LRMD simulation method further. Finally, a discussion is carried out by the principles of tribology. In the discussion, two two-dimensional full MD models are used to simulate the nanoscale sliding contact problems. The results indicate that original smaller model will induce higher equivalent scratching depth, and then results in higher friction forces, which will help to explain the mechanism how the LRMD simulation method works. This method can be used to reduce the scale of MD model in large scale simulations, and it will enhance the computational efficiency without losing accuracy during the simulation of nanoscale sliding contacts.
2018, 31: 92.
doi: 10.1186/s10033-018-0294-6
Abstract:
This paper proposes a new method for measurement of the roll error motion of a slide table in a precision linear slide. The proposed method utilizes a pair of clinometers in the production process of a precision linear slide, where the roll error motion measurement will be carried out repeatedly to confrm whether the surface form errors of slide guideways in the linear slide are sufciently corrected by hand scraping process. In the proposed method, one of the clinometers is mounted on the slide table, while the other is placed on a vibration isolation table, on which the precision linear slide is mounted, so that infuences of external disturbances can be cancelled. An experimental setup is built on a vibration isolation table, and some experiments are carried out to verify the feasibility of the proposed method.
This paper proposes a new method for measurement of the roll error motion of a slide table in a precision linear slide. The proposed method utilizes a pair of clinometers in the production process of a precision linear slide, where the roll error motion measurement will be carried out repeatedly to confrm whether the surface form errors of slide guideways in the linear slide are sufciently corrected by hand scraping process. In the proposed method, one of the clinometers is mounted on the slide table, while the other is placed on a vibration isolation table, on which the precision linear slide is mounted, so that infuences of external disturbances can be cancelled. An experimental setup is built on a vibration isolation table, and some experiments are carried out to verify the feasibility of the proposed method.
2018, 31: 93.
doi: 10.1186/s10033-018-0293-7
Abstract:
Currently, when magnesium alloy sheet is rolled, the method of controlling roll temperature is simple and inaccurate. Furthermore, roll temperature has a large influence on the quality of magnesium alloy sheet; therefore, a new model using circular fluid flow control roll temperature has been designed. A fluid heat transfer structure was designed, the heat transfer process model of the fluid heating roll was simplified, and the finite difference method was used to calculate the heat transfer process. Fluent software was used to simulate the fluid-solid coupling heat transfer, and both the trend and regularity of the temperature field in the heat transfer process were identified. The results show that the heating efficiency was much higher than traditional heating methods (when the fluid heat of the roll and temperature distribution of the roll surface was more uniform). Moreover, there was a bigger temperature difference between the input and the output, and after using reverse flow the temperature difference decreased. The axial and circumferential temperature distributions along the sheet were uniform. Both theoretical calculation results and numerical simulation results of the heat transfer between fluid and roll were compared. The error was 1.8%-12.3%, showing that the theoretical model can both forecast and regulate the temperature of the roll (for magnesium alloy sheets) in the rolling process.
Currently, when magnesium alloy sheet is rolled, the method of controlling roll temperature is simple and inaccurate. Furthermore, roll temperature has a large influence on the quality of magnesium alloy sheet; therefore, a new model using circular fluid flow control roll temperature has been designed. A fluid heat transfer structure was designed, the heat transfer process model of the fluid heating roll was simplified, and the finite difference method was used to calculate the heat transfer process. Fluent software was used to simulate the fluid-solid coupling heat transfer, and both the trend and regularity of the temperature field in the heat transfer process were identified. The results show that the heating efficiency was much higher than traditional heating methods (when the fluid heat of the roll and temperature distribution of the roll surface was more uniform). Moreover, there was a bigger temperature difference between the input and the output, and after using reverse flow the temperature difference decreased. The axial and circumferential temperature distributions along the sheet were uniform. Both theoretical calculation results and numerical simulation results of the heat transfer between fluid and roll were compared. The error was 1.8%-12.3%, showing that the theoretical model can both forecast and regulate the temperature of the roll (for magnesium alloy sheets) in the rolling process.
2018, 31: 95.
doi: 10.1186/s10033-018-0295-5
Abstract:
Natural characteristics of thin-wall pipe of the compressor under uniformly distributed pressure were presented in this paper based on a cylindrical shell model. In the traditional method, the beam model was usually used to analyze the pipe system. In actual fact, the pipe segment of the compressor was always broken in the form of a long crack or a partial hole and the phenomenon was hardly explained by beam model. According to the structure characteristic of compressor pipe segment, whose radius is large and thickness is little, shell model shows the advantage in this kind of pipe problem. Based on Sanders' shell theory, the vibration differential equation of pipe was established by applying the energy method. The influences of length to radius ratio (L/R), thickness to radius ratio (h/R), circumferential wave number (n) and pressure (q) on the natural frequencies of pipe were analyzed. The study shows: Pressure and structural parameters have a great effect on the natural characteristics of the pipe. Natural frequency increases as the pressure increases, especially for the higher mode. The sensitivity of natural frequency on pressure becomes stronger with h/R ratio increases; when L/R ratio is greater than a certain critical value, the influence of the pressure on natural frequency will no longer be obvious. The value of n corresponding to the minimum natural frequency also depends on the value of pressure. In the end, analysis of the forced vibration of a specific pipeline model was given and the modal shapes were illustrated to understand the break of the pipe. The research here will provide the theory support for the dynamic design of related pressure pipe and further experiment study should be employed.
Natural characteristics of thin-wall pipe of the compressor under uniformly distributed pressure were presented in this paper based on a cylindrical shell model. In the traditional method, the beam model was usually used to analyze the pipe system. In actual fact, the pipe segment of the compressor was always broken in the form of a long crack or a partial hole and the phenomenon was hardly explained by beam model. According to the structure characteristic of compressor pipe segment, whose radius is large and thickness is little, shell model shows the advantage in this kind of pipe problem. Based on Sanders' shell theory, the vibration differential equation of pipe was established by applying the energy method. The influences of length to radius ratio (L/R), thickness to radius ratio (h/R), circumferential wave number (n) and pressure (q) on the natural frequencies of pipe were analyzed. The study shows: Pressure and structural parameters have a great effect on the natural characteristics of the pipe. Natural frequency increases as the pressure increases, especially for the higher mode. The sensitivity of natural frequency on pressure becomes stronger with h/R ratio increases; when L/R ratio is greater than a certain critical value, the influence of the pressure on natural frequency will no longer be obvious. The value of n corresponding to the minimum natural frequency also depends on the value of pressure. In the end, analysis of the forced vibration of a specific pipeline model was given and the modal shapes were illustrated to understand the break of the pipe. The research here will provide the theory support for the dynamic design of related pressure pipe and further experiment study should be employed.
2018, 31: 96.
doi: 10.1186/s10033-018-0297-3
Abstract:
Gas pool coupled activating TIG (GPCA-TIG) welding put forward in-house can dramatically enhance weld penetration of TIG welding through introducing active element oxygen to reverse the Marangoni convection flow in the molten pool. In order to further improve the welding productivity, the normal solid tungsten electrode is replaced by a kind of coupling arc electrode. The changes of arc pressure distribution along anode surface and the weld appearance were evaluated. On this basis, the dependences of weld shape characterized with weld depth, width and undercut on the main welding parameters were discussed. The results indicate, the substitution of coupling arc electrode can lead to an obvious decrease of arc pressure. Compared to hollow tungsten electrode and twin tungsten electrodes, the coupling arc electrode is much easier to manufacture and has more compacter structure. Combined with the symmetric distribution of arc pressure in different directions, this electrode has extensive adaptability. In the GPCA-TIG welding with coupling arc electrode, both the substitution of coupling arc electrode and the introduction of outer active gas oxygen can reduce the possibilities of producing humping bead and undercut. Their joint action makes this welding method have the capability of realizing high travel speed and deep penetration welding.
Gas pool coupled activating TIG (GPCA-TIG) welding put forward in-house can dramatically enhance weld penetration of TIG welding through introducing active element oxygen to reverse the Marangoni convection flow in the molten pool. In order to further improve the welding productivity, the normal solid tungsten electrode is replaced by a kind of coupling arc electrode. The changes of arc pressure distribution along anode surface and the weld appearance were evaluated. On this basis, the dependences of weld shape characterized with weld depth, width and undercut on the main welding parameters were discussed. The results indicate, the substitution of coupling arc electrode can lead to an obvious decrease of arc pressure. Compared to hollow tungsten electrode and twin tungsten electrodes, the coupling arc electrode is much easier to manufacture and has more compacter structure. Combined with the symmetric distribution of arc pressure in different directions, this electrode has extensive adaptability. In the GPCA-TIG welding with coupling arc electrode, both the substitution of coupling arc electrode and the introduction of outer active gas oxygen can reduce the possibilities of producing humping bead and undercut. Their joint action makes this welding method have the capability of realizing high travel speed and deep penetration welding.
2018, 31: 97.
doi: 10.1186/s10033-018-0296-4
Abstract:
Lower surface roughness and sharper cutting edge are beneficial for improving the machining quality of the cutting tool, while coatings often deteriorate them. Focusing on the diamond coated WC-Co milling cutter, the abrasive flow machining (AFM) is selected for reducing the surface roughness and sharpening the cutting edge. Comparative cutting tests are conducted on different types of coated cutters before and after AFM, as well as uncoated WC-Co one, demonstrating that the boron-doped microcrystalline and undoped fine-grained composite diamond coated cutter after the AFM (AFM-BDM-UFGCD) is a good choice for the finish milling of the 6063 Al alloy in the present case, because it shows favorable machining quality close to the uncoated one, but much prolonged tool lifetime. Besides, compared with the micro-sized diamond films, it is much more convenient and efficient to finish the BDM-UFGCD coated cutter covered by nano-sized diamond grains, and resharpen its cutting edge by the AFM, owing to the lower initial surface roughness and hardness. Moreover, the boron incorporation and micro-sized grains in the underlying layer can enhance the film-substrate adhesion, avoid the rapid film removal in the machining process, and thus maximize the tool life (1040 m, four times more than the uncoated one). In general, the AFM is firstly proposed and discussed for post-processing the diamond coated complicated cutting tools, which is proved to be feasible for improving the cutting performance
Lower surface roughness and sharper cutting edge are beneficial for improving the machining quality of the cutting tool, while coatings often deteriorate them. Focusing on the diamond coated WC-Co milling cutter, the abrasive flow machining (AFM) is selected for reducing the surface roughness and sharpening the cutting edge. Comparative cutting tests are conducted on different types of coated cutters before and after AFM, as well as uncoated WC-Co one, demonstrating that the boron-doped microcrystalline and undoped fine-grained composite diamond coated cutter after the AFM (AFM-BDM-UFGCD) is a good choice for the finish milling of the 6063 Al alloy in the present case, because it shows favorable machining quality close to the uncoated one, but much prolonged tool lifetime. Besides, compared with the micro-sized diamond films, it is much more convenient and efficient to finish the BDM-UFGCD coated cutter covered by nano-sized diamond grains, and resharpen its cutting edge by the AFM, owing to the lower initial surface roughness and hardness. Moreover, the boron incorporation and micro-sized grains in the underlying layer can enhance the film-substrate adhesion, avoid the rapid film removal in the machining process, and thus maximize the tool life (1040 m, four times more than the uncoated one). In general, the AFM is firstly proposed and discussed for post-processing the diamond coated complicated cutting tools, which is proved to be feasible for improving the cutting performance
2018, 31: 98.
doi: 10.1186/s10033-018-0298-2
Abstract:
Adhesion of cutting tool and chip often occurs when machining stainless steels with cemented carbide tools. Wear mechanism of cemented carbide tool in high speed milling of stainless steel 0Cr13Ni4Mo was studied in this work. Machining tests on high speed milling of 0Cr13Ni4Mo with a cemented carbide tool are conducted. The cutting force and cutting temperature are measured. The wear pattern is recorded and analyzed by high-speed camera, scanning electron microscope (SEM) and energy dispersive X-ray spectroscopy (EDS). It is found that adhesive wear was the dominant wear pattern causing tool failure. The process and microcosmic mechanism of the tool's adhesive wear are analyzed and discussed based on the experimental results. It is shown that adhesive wear of the tool occurs due to the wear of coating, the affinity of elements Fe and Co, and the grinding of workpiece materials to the tool material. The process of adhesive wear includes both microcosmic elements diffusion and macroscopic cyclic process of adhesion, tearing and fracture.
Adhesion of cutting tool and chip often occurs when machining stainless steels with cemented carbide tools. Wear mechanism of cemented carbide tool in high speed milling of stainless steel 0Cr13Ni4Mo was studied in this work. Machining tests on high speed milling of 0Cr13Ni4Mo with a cemented carbide tool are conducted. The cutting force and cutting temperature are measured. The wear pattern is recorded and analyzed by high-speed camera, scanning electron microscope (SEM) and energy dispersive X-ray spectroscopy (EDS). It is found that adhesive wear was the dominant wear pattern causing tool failure. The process and microcosmic mechanism of the tool's adhesive wear are analyzed and discussed based on the experimental results. It is shown that adhesive wear of the tool occurs due to the wear of coating, the affinity of elements Fe and Co, and the grinding of workpiece materials to the tool material. The process of adhesive wear includes both microcosmic elements diffusion and macroscopic cyclic process of adhesion, tearing and fracture.
2018, 31: 99.
doi: 10.1186/s10033-018-0299-1
Abstract:
During the oscillating twin-roll strip casting process, the quality of fnal products is directly infuenced by the fow feld distribution of molten metal in the pool. The variation in the fow feld is caused by oscillating roller benefts, for homogeneous distribution of strip impurity, and decreasing the grain size. Thus, the quality of the strip could be improved. A numerical model was developed using the multiphase fow technology, coupled with heat transfer, fuid fow, solidifcation, and oscillation. Furthermore, a transient algorithm was adopted for simulating the oscillating twinroll strip casting process of AlSi9Cu3 and 3104 aluminum alloy. This paper focuses on the fow distribution in the pool, in comparison with the traditional vertical twin-roll strip casting process, while the amplitude or frequency is changing with the defnite value of casting velocity, roller diameter, nozzle angle, and the strip thickness. Consequently, the conclusions were experimentally validated by oscillating twin-roll 3104 aluminum alloy strip casting. Vibrating casting technology can change the fow feld in the pool by vibration, which can improve the quality of the strip core.
During the oscillating twin-roll strip casting process, the quality of fnal products is directly infuenced by the fow feld distribution of molten metal in the pool. The variation in the fow feld is caused by oscillating roller benefts, for homogeneous distribution of strip impurity, and decreasing the grain size. Thus, the quality of the strip could be improved. A numerical model was developed using the multiphase fow technology, coupled with heat transfer, fuid fow, solidifcation, and oscillation. Furthermore, a transient algorithm was adopted for simulating the oscillating twinroll strip casting process of AlSi9Cu3 and 3104 aluminum alloy. This paper focuses on the fow distribution in the pool, in comparison with the traditional vertical twin-roll strip casting process, while the amplitude or frequency is changing with the defnite value of casting velocity, roller diameter, nozzle angle, and the strip thickness. Consequently, the conclusions were experimentally validated by oscillating twin-roll 3104 aluminum alloy strip casting. Vibrating casting technology can change the fow feld in the pool by vibration, which can improve the quality of the strip core.
2018, 31: 101.
doi: 10.1186/s10033-018-0304-8
Abstract:
Filament winding has emerged as the main process for carbon fiber reinforced plastic (CFRP) fabrication, and tension control plays a key role in enhancing the quality of the winding products. With the continuous improvement of product quality and efficiency, the precision of the tension control system is constantly improving. In this paper, a novel tension control method is proposed, which can regulate the fiber tension and transport speed of the winding process by governing the outputs of three different driven rollers (the torque of the unwind roll, the torque of the magnetic powder brake roller, and the speed of the master speed roller) in three levels. The mechanical structures and dynamic models of the driven rollers and idle rollers are established by considering the time-varying features of the roller radius and inertia. Moreover, the influence of parameters and speed variation on fiber tension is investigated using the increment model. Subsequently, the control method is proposed by applying fiber tension in three levels according to the features of the three driven rollers. An adaptive fuzzy controller is designed for tuning the PID parameters online to control the speed of the master speed roller. Simulation is conducted for verifying the performance and stability of the proposed tension control method by comparing with those of the conventional PID control method. The result reveals that the proposed method outperforms the conventional method. Finally, an experimental platform is constructed, and the proposed system is applied to a winding machine. The performance and stability of the tension control system are demonstrated via a series of experiments using carbon fiber under different reference speeds and tensions. This paper proposes a novel tension control method to regulate the fiber tension and transport speed.
Filament winding has emerged as the main process for carbon fiber reinforced plastic (CFRP) fabrication, and tension control plays a key role in enhancing the quality of the winding products. With the continuous improvement of product quality and efficiency, the precision of the tension control system is constantly improving. In this paper, a novel tension control method is proposed, which can regulate the fiber tension and transport speed of the winding process by governing the outputs of three different driven rollers (the torque of the unwind roll, the torque of the magnetic powder brake roller, and the speed of the master speed roller) in three levels. The mechanical structures and dynamic models of the driven rollers and idle rollers are established by considering the time-varying features of the roller radius and inertia. Moreover, the influence of parameters and speed variation on fiber tension is investigated using the increment model. Subsequently, the control method is proposed by applying fiber tension in three levels according to the features of the three driven rollers. An adaptive fuzzy controller is designed for tuning the PID parameters online to control the speed of the master speed roller. Simulation is conducted for verifying the performance and stability of the proposed tension control method by comparing with those of the conventional PID control method. The result reveals that the proposed method outperforms the conventional method. Finally, an experimental platform is constructed, and the proposed system is applied to a winding machine. The performance and stability of the tension control system are demonstrated via a series of experiments using carbon fiber under different reference speeds and tensions. This paper proposes a novel tension control method to regulate the fiber tension and transport speed.
2018, 31: 102.
doi: 10.1186/s10033-018-0309-3
Abstract:
The beer game model is a typical paradigm used to study complex dynamics behaviours in production-distribution systems. The model, however, does not accord with current practical supply chain system models in discrete-type manufacturing industry, which are generally composed of retailers, distributors, manufacturers with internal supply chain, and suppliers. To describe how ordering policies infuence the complex dynamics behaviour modes and operating cost in a general discrete-type manufacturing industry supply chain system, a high dimension piecewiselinear dynamics model is built for the supply chain system. Five kinds of ordering policy combination are considered. The distribution of both the largest Lyapunov exponent of efective inventory and average operating cost per cycle is obtained by simulation in a policy space. The simulation shows that for the general discrete-type manufacturing industry supply chain system, the upper chaotic corners emerge besides the lower chaotic corners in the policy space expressing the distribution of system behaviour mode, and that the ordering policies at each supply chain node as well as their combination have very signifcant efect on the topology of the distribution of both system behaviour mode and operating cost in the policy space. We fnd that chaos is not always corresponding to high cost, and the "chaos amplifcation" is not completely relevant to the "cost amplifcation".
The beer game model is a typical paradigm used to study complex dynamics behaviours in production-distribution systems. The model, however, does not accord with current practical supply chain system models in discrete-type manufacturing industry, which are generally composed of retailers, distributors, manufacturers with internal supply chain, and suppliers. To describe how ordering policies infuence the complex dynamics behaviour modes and operating cost in a general discrete-type manufacturing industry supply chain system, a high dimension piecewiselinear dynamics model is built for the supply chain system. Five kinds of ordering policy combination are considered. The distribution of both the largest Lyapunov exponent of efective inventory and average operating cost per cycle is obtained by simulation in a policy space. The simulation shows that for the general discrete-type manufacturing industry supply chain system, the upper chaotic corners emerge besides the lower chaotic corners in the policy space expressing the distribution of system behaviour mode, and that the ordering policies at each supply chain node as well as their combination have very signifcant efect on the topology of the distribution of both system behaviour mode and operating cost in the policy space. We fnd that chaos is not always corresponding to high cost, and the "chaos amplifcation" is not completely relevant to the "cost amplifcation".
2018, 31: 103.
doi: 10.1186/s10033-018-0306-6
Abstract:
Cutting force is one of the research hotspots in direct sand mould milling because the cutting force directly affects the machining quality and tool wear. Unlike metals, sand mould is a heterogeneous discrete deposition material. There is still a lack of theoretical research on the cutting force. In order to realize the prediction and control of the cutting force in the sand mould milling process, an analytical model of cutting force is proposed based on the unequal division shear zone model of orthogonal cutting. The deformation velocity relations of the chip within the orthogonal cutting shear zone are analyzed first. According to the flow behavior of granular, the unequal division shear zone model of sand mould is presented, in which the governing equations of shear strain rate, strain and velocity are established. The constitutive relationship of quasi-solid-liquid transition is introduced to build the 2D constitutive equation and deduce the cutting stress in the mould shear zone. According to the cutting geometric relations of up milling with straight cutting edge and the transformation relationship between cutting stress and cutting force, the dynamic cutting forces are predicted for different milling conditions. Compared with the experimental results, the predicted results show good agreement, indicating that the predictive model of cutting force in milling sand mould is validated. Therefore, the proposed model can provide the theoretical guidance for cutting force control in high efficiency milling sand mould.
Cutting force is one of the research hotspots in direct sand mould milling because the cutting force directly affects the machining quality and tool wear. Unlike metals, sand mould is a heterogeneous discrete deposition material. There is still a lack of theoretical research on the cutting force. In order to realize the prediction and control of the cutting force in the sand mould milling process, an analytical model of cutting force is proposed based on the unequal division shear zone model of orthogonal cutting. The deformation velocity relations of the chip within the orthogonal cutting shear zone are analyzed first. According to the flow behavior of granular, the unequal division shear zone model of sand mould is presented, in which the governing equations of shear strain rate, strain and velocity are established. The constitutive relationship of quasi-solid-liquid transition is introduced to build the 2D constitutive equation and deduce the cutting stress in the mould shear zone. According to the cutting geometric relations of up milling with straight cutting edge and the transformation relationship between cutting stress and cutting force, the dynamic cutting forces are predicted for different milling conditions. Compared with the experimental results, the predicted results show good agreement, indicating that the predictive model of cutting force in milling sand mould is validated. Therefore, the proposed model can provide the theoretical guidance for cutting force control in high efficiency milling sand mould.
2018, 31: 105.
doi: 10.1186/s10033-018-0302-x
Abstract:
To improve the design speed and reduce the design cost for the previous blade design method, a modified inverse design method is presented. In the new method, after a series of physical and mathematical simplifications, a sail-like constrained area is proposed, which can be used to configure different runner blade shapes. Then, the new method is applied to redesign and optimize the runner blade of the scale core component of the 1400-MW canned nuclear coolant pump in an established multi-optimization system compromising the Computational Fluid Dynamics (CFD) analysis, the Response Surface Methodology (RSM) and the Non-dominated Sorting Genetic Algorithm-Ⅱ (NSGA-Ⅱ). After the execution of the optimization procedure, three optimal samples were ultimately obtained. Then, through comparative analysis using the target runner blade, it was found that the maximum efficiency improvement reached 1.6%, while the head improvement was about 10%. Overall, a promising runner blade inverse design method which will benefit the hydraulic design of the mixed-flow pump has been proposed.
To improve the design speed and reduce the design cost for the previous blade design method, a modified inverse design method is presented. In the new method, after a series of physical and mathematical simplifications, a sail-like constrained area is proposed, which can be used to configure different runner blade shapes. Then, the new method is applied to redesign and optimize the runner blade of the scale core component of the 1400-MW canned nuclear coolant pump in an established multi-optimization system compromising the Computational Fluid Dynamics (CFD) analysis, the Response Surface Methodology (RSM) and the Non-dominated Sorting Genetic Algorithm-Ⅱ (NSGA-Ⅱ). After the execution of the optimization procedure, three optimal samples were ultimately obtained. Then, through comparative analysis using the target runner blade, it was found that the maximum efficiency improvement reached 1.6%, while the head improvement was about 10%. Overall, a promising runner blade inverse design method which will benefit the hydraulic design of the mixed-flow pump has been proposed.
2018, 31: 107.
doi: 10.1186/s10033-018-0311-9
Abstract:
The information transmission path optimization (ITPO) can often affect the efficiency and accuracy of remanufacturing service. However, there is a greater degree of uncertainty and complexity in information transmission of remanufacturing service system, which leads to a critical need for designing planning models to deal with this added uncertainty and complexity. In this paper, a three-dimensional (3D) model of remanufacturing service information network for information transmission is developed, which combines the physic coordinate and the transmitted properties of all the devices in the remanufacturing service system. In order to solve the basic ITPO in the 3D model, an improved 3D ant colony algorithm (Improved AC) was put forward. Moreover, to further improve the operation efficiency of the algorithm, an improved ant colony-genetic algorithm (AC-GA) that combines the improved AC and genetic algorithm was developed. In addition, by taking the transmission of remanufacturing service demand information of certain roller as example, the effectiveness of AC-GA algorithm was analyzed and compared with that of improved AC, and the results demonstrated that AC-GA algorithm was superior to AC algorithm in aspects of information transmission delay, information transmission cost, and rate of information loss.
The information transmission path optimization (ITPO) can often affect the efficiency and accuracy of remanufacturing service. However, there is a greater degree of uncertainty and complexity in information transmission of remanufacturing service system, which leads to a critical need for designing planning models to deal with this added uncertainty and complexity. In this paper, a three-dimensional (3D) model of remanufacturing service information network for information transmission is developed, which combines the physic coordinate and the transmitted properties of all the devices in the remanufacturing service system. In order to solve the basic ITPO in the 3D model, an improved 3D ant colony algorithm (Improved AC) was put forward. Moreover, to further improve the operation efficiency of the algorithm, an improved ant colony-genetic algorithm (AC-GA) that combines the improved AC and genetic algorithm was developed. In addition, by taking the transmission of remanufacturing service demand information of certain roller as example, the effectiveness of AC-GA algorithm was analyzed and compared with that of improved AC, and the results demonstrated that AC-GA algorithm was superior to AC algorithm in aspects of information transmission delay, information transmission cost, and rate of information loss.
2018, 31: 108.
doi: 10.1186/s10033-018-0312-8
Abstract:
The selective laser melting (SLM) method has a great potential for fabricating injection mold with complex structure. However, the microstructure and performance of the SLM molds show significantly different from those manufactured by traditional technologies. In this study, the microstructure, hardness and especially corrosion behavior of the samples fabricated by SLM and casting were investigated. The XRD results exhibit that the γ-Fe phase is only obtained in the SLM parts, and the α-Fe peak slightly moves to low diffraction angle compared with casting counterparts. Due to the rapid cooling rate, the SLM samples have fine cellular microstructures while the casting ones have coarse grains with obvious elements segregation. Besides, the SLM samples show anisotropy, hardness of side view and top view are 48.73 and 50.31 HRC respectively, which are 20% higher than that of casting ones. Corrosion results show that the SLM samples have the better anti-corrosion resistance (in a 6% FeCl3 solution for 48 h) but the deeper corrosion pits than casting ones. Finally, the performance of the SLM molds could meet the requirement of injecting production. Moreover, the molds especially present a significant decrease (20%) of cooling time and increases of cooling uniformity due to the customized conformal cooling channels.
The selective laser melting (SLM) method has a great potential for fabricating injection mold with complex structure. However, the microstructure and performance of the SLM molds show significantly different from those manufactured by traditional technologies. In this study, the microstructure, hardness and especially corrosion behavior of the samples fabricated by SLM and casting were investigated. The XRD results exhibit that the γ-Fe phase is only obtained in the SLM parts, and the α-Fe peak slightly moves to low diffraction angle compared with casting counterparts. Due to the rapid cooling rate, the SLM samples have fine cellular microstructures while the casting ones have coarse grains with obvious elements segregation. Besides, the SLM samples show anisotropy, hardness of side view and top view are 48.73 and 50.31 HRC respectively, which are 20% higher than that of casting ones. Corrosion results show that the SLM samples have the better anti-corrosion resistance (in a 6% FeCl3 solution for 48 h) but the deeper corrosion pits than casting ones. Finally, the performance of the SLM molds could meet the requirement of injecting production. Moreover, the molds especially present a significant decrease (20%) of cooling time and increases of cooling uniformity due to the customized conformal cooling channels.
2018, 31: 111.
doi: 10.1186/s10033-018-0303-9
Abstract:
The current research of reliability allocation of CNC lathes always treat CNC lathes as independent series systems. However, CNC lathes are complex systems in the actual situation. Failure correlation is rarely considered when reliability allocation is conducted. In this paper, drawbacks of reliability model based on failure independence assumption are illustrated, after which, reliability model of CNC lathes considering failure correlation of subsystems is established based on Copula theory, which is an improvement of traditional reliability model of series systems. As the failure time of CNC lathes often obeys Weibull or exponential distribution, Gumbel Copula is selected to build correlation model. After that, a reliability allocation method considering failure correlation is analyzed based on the model established before. Reliability goal is set first and then failure rates are allocated to subsystems according to the allocation vector through solving the correlation model. Reliability allocation is conducted for t=1. A real case of a CNC lathe and a numerical case are presented together to illustrate the advantages of the reliability model established considering failure correlation and the corresponding allocation method. It shows that the model accords to facts and real working condition more, and failure rates allocated to all the subsystems are increased to some extent. This research proposes a reliability allocation method which takes failure correlation among subsystems of CNC lathes into consideration, and costs for design and manufacture could be decreased.
The current research of reliability allocation of CNC lathes always treat CNC lathes as independent series systems. However, CNC lathes are complex systems in the actual situation. Failure correlation is rarely considered when reliability allocation is conducted. In this paper, drawbacks of reliability model based on failure independence assumption are illustrated, after which, reliability model of CNC lathes considering failure correlation of subsystems is established based on Copula theory, which is an improvement of traditional reliability model of series systems. As the failure time of CNC lathes often obeys Weibull or exponential distribution, Gumbel Copula is selected to build correlation model. After that, a reliability allocation method considering failure correlation is analyzed based on the model established before. Reliability goal is set first and then failure rates are allocated to subsystems according to the allocation vector through solving the correlation model. Reliability allocation is conducted for t=1. A real case of a CNC lathe and a numerical case are presented together to illustrate the advantages of the reliability model established considering failure correlation and the corresponding allocation method. It shows that the model accords to facts and real working condition more, and failure rates allocated to all the subsystems are increased to some extent. This research proposes a reliability allocation method which takes failure correlation among subsystems of CNC lathes into consideration, and costs for design and manufacture could be decreased.
2018, 31: 13.
doi: 10.1186/s10033-018-0206-9
Abstract:
Accelerated life test (ALT) is currently the main method of assessing product reliability rapidly, and the design of efcient test plans is a critical step to ensure that ALTs can assess the product reliability accurately, quickly, and economically. With the promotion of the national strategy of civil-military integration, ALT will be widely used in the research and development (R & D) of various types of products, and the ALT plan design theory will face further challenges. To aid engineers in selecting appropriate theories and to stimulate researchers to develop the theories required in engineering, with focus on the demands for theory research that arise from the implementation of ALT, this paper reviews and summarizes the development of ALT plan design theory. The development of the theory and method for planning optimal ALT for location-scale distribution, which is the most applied and mature theory of designing the optimal ALT plan, are described in detail. Taking this as the center of radiation, some problems that ALT now faces, such as the verifcation of the statistical model, limitation of sample size, solutions of resource limits, optimization of the test arrangement, and management of product complexity, are discussed, and the general ideas and methods of solving these problems are analyzed. Suggestions for selecting appropriate ALT plan design theories are proposed, and the urgent solved theory problems and opinions of their solutions are proposed. Based on the principle of convenience for engineers to select appropriate methods according to the problems found in practice, this paper reviews the development of optimal ALT plan design theory by taking the engineering problems arising from the ALT implementation as the main thread, provides guidelines on selecting appropriate theories for engineers, and proposes opinions about the urgent solved theory problems for researchers.
Accelerated life test (ALT) is currently the main method of assessing product reliability rapidly, and the design of efcient test plans is a critical step to ensure that ALTs can assess the product reliability accurately, quickly, and economically. With the promotion of the national strategy of civil-military integration, ALT will be widely used in the research and development (R & D) of various types of products, and the ALT plan design theory will face further challenges. To aid engineers in selecting appropriate theories and to stimulate researchers to develop the theories required in engineering, with focus on the demands for theory research that arise from the implementation of ALT, this paper reviews and summarizes the development of ALT plan design theory. The development of the theory and method for planning optimal ALT for location-scale distribution, which is the most applied and mature theory of designing the optimal ALT plan, are described in detail. Taking this as the center of radiation, some problems that ALT now faces, such as the verifcation of the statistical model, limitation of sample size, solutions of resource limits, optimization of the test arrangement, and management of product complexity, are discussed, and the general ideas and methods of solving these problems are analyzed. Suggestions for selecting appropriate ALT plan design theories are proposed, and the urgent solved theory problems and opinions of their solutions are proposed. Based on the principle of convenience for engineers to select appropriate methods according to the problems found in practice, this paper reviews the development of optimal ALT plan design theory by taking the engineering problems arising from the ALT implementation as the main thread, provides guidelines on selecting appropriate theories for engineers, and proposes opinions about the urgent solved theory problems for researchers.
2018, 31: 16.
doi: 10.1186/s10033-018-0204-y
Abstract:
Microlens arrays are the key component in the next generation of 3D imaging system, for it exhibits some good optical properties such as extremely large feld of view angles, low aberration and distortion, high temporal resolution and infnite depth of feld. Although many fabrication methods or processes are proposed for manufacturing such precision component, however, those methods still need to be improved. In this review, those fabrication methods are categorized into direct and indirect method and compared in detail. Two main challenges in manufacturing microlens array are identifed:how to obtain a microlens array with good uniformity in a large area and how to produce the microlens array on a curved surface? In order to efectively achieve control of the geometry of a microlens, indirect methods involving the use of 3D molds and replication technologies are suggested. Further development of ultraprecision machining technology is needed to reduce the surface fuctuation by considering the dynamics of machine tool in tool path planning. Finally, the challenges and opportunities of manufacturing microlens array in industry and academic research are discussed and several principle conclusions are drawn.
Microlens arrays are the key component in the next generation of 3D imaging system, for it exhibits some good optical properties such as extremely large feld of view angles, low aberration and distortion, high temporal resolution and infnite depth of feld. Although many fabrication methods or processes are proposed for manufacturing such precision component, however, those methods still need to be improved. In this review, those fabrication methods are categorized into direct and indirect method and compared in detail. Two main challenges in manufacturing microlens array are identifed:how to obtain a microlens array with good uniformity in a large area and how to produce the microlens array on a curved surface? In order to efectively achieve control of the geometry of a microlens, indirect methods involving the use of 3D molds and replication technologies are suggested. Further development of ultraprecision machining technology is needed to reduce the surface fuctuation by considering the dynamics of machine tool in tool path planning. Finally, the challenges and opportunities of manufacturing microlens array in industry and academic research are discussed and several principle conclusions are drawn.
2018, 31: 41.
doi: 10.1186/s10033-018-0229-2
Abstract:
Subsurface damage is easily induced in machining of hard and brittle materials because of their particular mechanical and physical properties. It is detrimental to the strength, performance and lifetime of a machined part. To manufacture a high quality part, it is necessary to detect and remove the machining induced subsurface damage by the subsequent processes. However, subsurface damage is often covered with a smearing layer generated in a machining process, it is rather difficult to directly observe and detect by optical microscopy. An efficient detection of subsurface damage directly leads to quality improvement and time saving for machining of hard and brittle materials. This paper presents a review of the methods for detection of subsurface damage, both destructive and non-destructive. Although more reliable, destructive methods are typically time-consuming and confined to local damage information. Non-destructive methods usually suffer from uncertainty factors, but may provide global information on subsurface damage distribution. These methods are promising because they can provide a capacity of rapid scan and detection of subsurface damage in spatial distribution.
Subsurface damage is easily induced in machining of hard and brittle materials because of their particular mechanical and physical properties. It is detrimental to the strength, performance and lifetime of a machined part. To manufacture a high quality part, it is necessary to detect and remove the machining induced subsurface damage by the subsequent processes. However, subsurface damage is often covered with a smearing layer generated in a machining process, it is rather difficult to directly observe and detect by optical microscopy. An efficient detection of subsurface damage directly leads to quality improvement and time saving for machining of hard and brittle materials. This paper presents a review of the methods for detection of subsurface damage, both destructive and non-destructive. Although more reliable, destructive methods are typically time-consuming and confined to local damage information. Non-destructive methods usually suffer from uncertainty factors, but may provide global information on subsurface damage distribution. These methods are promising because they can provide a capacity of rapid scan and detection of subsurface damage in spatial distribution.
2018, 31: 59.
doi: 10.1186/s10033-018-0259-9
Abstract:
The research on legged robots attracted much attention both from the academia and industry. Legged robots are multi-input multi-output with multiple end-effector systems. Therefore, the mechanical design and control framework are challenging issues. This paper reviews the development of type synthesis and behavior control on legged robots; introduces the hexapod robots developed in our research group based on the proposed type synthesis method. The control framework for legged robots includes data driven layer, robot behavior layer and robot execution layer. Each layer consists several components which are explained in details. Finally, various experiments were conducted on several hexapod robots. The summarization of the type synthesis and behavior control design constructed in this paper would provide a unified platform for communications and references for future advancement for legged robots.
The research on legged robots attracted much attention both from the academia and industry. Legged robots are multi-input multi-output with multiple end-effector systems. Therefore, the mechanical design and control framework are challenging issues. This paper reviews the development of type synthesis and behavior control on legged robots; introduces the hexapod robots developed in our research group based on the proposed type synthesis method. The control framework for legged robots includes data driven layer, robot behavior layer and robot execution layer. Each layer consists several components which are explained in details. Finally, various experiments were conducted on several hexapod robots. The summarization of the type synthesis and behavior control design constructed in this paper would provide a unified platform for communications and references for future advancement for legged robots.
2018, 31: 66.
doi: 10.1186/s10033-018-0267-9
Abstract:
Cable-driven parallel robots (CDPRs) are categorized as a type of parallel manipulators. In CDPRs, fexible cables are used to take the place of rigid links. The particular property of cables provides CDPRs several advantages, including larger workspaces, higher payload-to-weight ratio and lower manufacturing costs rather than rigid-link robots. In this paper, the history of the development of CDPRs is introduced and several successful latest application cases of CDPRs are presented. The theory development of CDPRs is introduced focusing on design, performance analysis and control theory. Research on CDPRs gains wide attention and is highly motivated by the modern engineering demand for large load capacity and workspace. A number of exciting advances in CDPRs are summarized in this paper since it is proposed in the 1980s, which points to a fruitful future both in theory and application. In order to meet the increasing requirements of robot in diferent areas, future steps foresee more in-depth research and extension applications of CDPRs including intelligent control, composite materials, integrated and reconfgurable design.
Cable-driven parallel robots (CDPRs) are categorized as a type of parallel manipulators. In CDPRs, fexible cables are used to take the place of rigid links. The particular property of cables provides CDPRs several advantages, including larger workspaces, higher payload-to-weight ratio and lower manufacturing costs rather than rigid-link robots. In this paper, the history of the development of CDPRs is introduced and several successful latest application cases of CDPRs are presented. The theory development of CDPRs is introduced focusing on design, performance analysis and control theory. Research on CDPRs gains wide attention and is highly motivated by the modern engineering demand for large load capacity and workspace. A number of exciting advances in CDPRs are summarized in this paper since it is proposed in the 1980s, which points to a fruitful future both in theory and application. In order to meet the increasing requirements of robot in diferent areas, future steps foresee more in-depth research and extension applications of CDPRs including intelligent control, composite materials, integrated and reconfgurable design.
2018, 31: 76.
doi: 10.1186/s10033-018-0275-9
Abstract:
Point features, as the basis of lines, surfaces, and bodies, are commonly used in medical image registration. To obtain an elegant spatial transformation of extracted feature points, many point set matching algorithms (PMs) have been developed to match two point sets by optimizing multifarious distance functions. There are ample reviews related to medical image registration and PMs which summarize their basic principles and main algorithms separately. However, to data, detailed summary of PMs used in medical image registration in diferent clinical environments has not been published. In this paper, we provide a comprehensive review of the existing key techniques of the PMs applied to medical image registration according to the basic principles and clinical applications. As the core technique of the PMs, geometric transformation models are elaborated in this paper, demonstrating the mechanism of point set registration. We also focus on the clinical applications of the PMs and propose a practical classifcation method according to their applications in diferent clinical surgeries. The aim of this paper is to provide a summary of pointfeature-based methods used in medical image registration and to guide doctors or researchers interested in this feld to choose appropriate techniques in their research.
Point features, as the basis of lines, surfaces, and bodies, are commonly used in medical image registration. To obtain an elegant spatial transformation of extracted feature points, many point set matching algorithms (PMs) have been developed to match two point sets by optimizing multifarious distance functions. There are ample reviews related to medical image registration and PMs which summarize their basic principles and main algorithms separately. However, to data, detailed summary of PMs used in medical image registration in diferent clinical environments has not been published. In this paper, we provide a comprehensive review of the existing key techniques of the PMs applied to medical image registration according to the basic principles and clinical applications. As the core technique of the PMs, geometric transformation models are elaborated in this paper, demonstrating the mechanism of point set registration. We also focus on the clinical applications of the PMs and propose a practical classifcation method according to their applications in diferent clinical surgeries. The aim of this paper is to provide a summary of pointfeature-based methods used in medical image registration and to guide doctors or researchers interested in this feld to choose appropriate techniques in their research.
2018, 31: 77.
doi: 10.1186/s10033-018-0269-7
Abstract:
Rubik's Cube is a widely popular mechanical puzzle that has attracted attention around the world because of its unique characteristics. As a classic brain-training toy well known to the public, Rubik's Cube was used for scientifc research and technology development by many scholars. This paper provides a basic understanding of the Rubik's Cube and shows its mechanical art from the aspects of origin and development, characteristics, research status and especially its mechanical engineering design, as well as making a vision for the application in mechanism. First, the invention and origin of Rubik's Cube are presented, and then the special characteristics of the cube itself are analyzed. After that, the present researches of Rubik's Cube are reviewed in various disciplines at home and abroad, including the researches of Rubik's Cube scientifc metaphors, reduction algorithms, characteristic applications, and mechanism issues. Finally, the applications and prospects of Rubik's Cube in the feld of mechanism are discussed.
Rubik's Cube is a widely popular mechanical puzzle that has attracted attention around the world because of its unique characteristics. As a classic brain-training toy well known to the public, Rubik's Cube was used for scientifc research and technology development by many scholars. This paper provides a basic understanding of the Rubik's Cube and shows its mechanical art from the aspects of origin and development, characteristics, research status and especially its mechanical engineering design, as well as making a vision for the application in mechanism. First, the invention and origin of Rubik's Cube are presented, and then the special characteristics of the cube itself are analyzed. After that, the present researches of Rubik's Cube are reviewed in various disciplines at home and abroad, including the researches of Rubik's Cube scientifc metaphors, reduction algorithms, characteristic applications, and mechanism issues. Finally, the applications and prospects of Rubik's Cube in the feld of mechanism are discussed.
2018, 31: 106.
doi: 10.1186/s10033-018-0310-x
Abstract:
There are many achievements in the field of analytical mechanics, such as Lagrange Equation, Hamilton's Principle, Kane's Equation. Compared to Newton-Euler mechanics, analytical mechanics have a wider range of applications and the formulation procedures are more mathematical. However, all existing methods of analytical mechanics were proposed based on some auxiliary variables. In this review, a novel analytical mechanics approach without the aid of Lagrange's multiplier, projection, or any quasi or auxiliary variables is introduced for the central problem of mechanical systems. Since this approach was firstly proposed by Udwadia and Kalaba, it was called Udwadia-Kalaba Equation. It is a representation for the explicit expression of the equations of motion for constrained mechanical systems. It can be derived via the Gauss's principle, d'Alembert's principle or extended d'Alembert's principle. It is applicable to both holonomic and nonholonomic equality constraints, as long as they are linear with respect to the accelerations or reducible to be that form. As a result, the Udwadia-Kalaba Equation can be applied to a very broad class of mechanical systems. This review starts with introducing the background by a brief review of the history of mechanics. After that, the formulation procedure of Udwadia-Kalaba Equation is given. Furthermore, the comparisons of Udwadia-Kalaba Equation with Newton-Euler Equation, Lagrange Equation and Kane's Equation are made, respectively. At last, three different types of examples are given for demonstrations.
There are many achievements in the field of analytical mechanics, such as Lagrange Equation, Hamilton's Principle, Kane's Equation. Compared to Newton-Euler mechanics, analytical mechanics have a wider range of applications and the formulation procedures are more mathematical. However, all existing methods of analytical mechanics were proposed based on some auxiliary variables. In this review, a novel analytical mechanics approach without the aid of Lagrange's multiplier, projection, or any quasi or auxiliary variables is introduced for the central problem of mechanical systems. Since this approach was firstly proposed by Udwadia and Kalaba, it was called Udwadia-Kalaba Equation. It is a representation for the explicit expression of the equations of motion for constrained mechanical systems. It can be derived via the Gauss's principle, d'Alembert's principle or extended d'Alembert's principle. It is applicable to both holonomic and nonholonomic equality constraints, as long as they are linear with respect to the accelerations or reducible to be that form. As a result, the Udwadia-Kalaba Equation can be applied to a very broad class of mechanical systems. This review starts with introducing the background by a brief review of the history of mechanics. After that, the formulation procedure of Udwadia-Kalaba Equation is given. Furthermore, the comparisons of Udwadia-Kalaba Equation with Newton-Euler Equation, Lagrange Equation and Kane's Equation are made, respectively. At last, three different types of examples are given for demonstrations.
2018, 31: 17.
doi: 10.1186/s10033-018-0210-0
Abstract:
The formation of hybrid underwater gliders has advantages in sustained ocean observation with high resolution and more adaptation for complicated ocean tasks. However, the current work mostly focused on the traditional gliders and AUVs. The research on control strategy and energy consumption minimization for the hybrid gliders is necessary both in methodology and experiment. A multi-layer coordinate control strategy is developed for the feet of hybrid underwater gliders to control the gliders' motion and formation geometry with optimized energy consumption. The inner layer integrated in the onboard controller and the outer layer integrated in the ground control center or the deck controller are designed. A coordinate control model is proposed based on multibody theory through adoption of artifcial potential felds. Considering the existence of ocean fow, a hybrid motion energy consumption model is constructed and an optimization method is designed to obtain the heading angle, net buoyancy, gliding angle and the rotate speed of screw propeller to minimize the motion energy with consideration of the ocean fow. The feasibility of the coordinate control system and motion optimization method has been verifed both by simulation and sea trials. Simulation results show the regularity of energy consumption with the control variables. The feet of three Petrel-Ⅱ gliders developed by Tianjin University is deployed in the South China Sea. The trajectory error of each glider is less than 2.5 km, the formation shape error between each glider is less than 2 km, and the diference between actual energy consumption and the simulated energy consumption is less than 24% actual energy. The results of simulation and the sea trial prove the feasibility of the proposed coordinate control strategy and energy optimization method. In conclusion, a coordinate control system and a motion optimization method is studied, which can be used for reference in theoretical research and practical feet operation for both the traditional gliders and hybrid gliders.
The formation of hybrid underwater gliders has advantages in sustained ocean observation with high resolution and more adaptation for complicated ocean tasks. However, the current work mostly focused on the traditional gliders and AUVs. The research on control strategy and energy consumption minimization for the hybrid gliders is necessary both in methodology and experiment. A multi-layer coordinate control strategy is developed for the feet of hybrid underwater gliders to control the gliders' motion and formation geometry with optimized energy consumption. The inner layer integrated in the onboard controller and the outer layer integrated in the ground control center or the deck controller are designed. A coordinate control model is proposed based on multibody theory through adoption of artifcial potential felds. Considering the existence of ocean fow, a hybrid motion energy consumption model is constructed and an optimization method is designed to obtain the heading angle, net buoyancy, gliding angle and the rotate speed of screw propeller to minimize the motion energy with consideration of the ocean fow. The feasibility of the coordinate control system and motion optimization method has been verifed both by simulation and sea trials. Simulation results show the regularity of energy consumption with the control variables. The feet of three Petrel-Ⅱ gliders developed by Tianjin University is deployed in the South China Sea. The trajectory error of each glider is less than 2.5 km, the formation shape error between each glider is less than 2 km, and the diference between actual energy consumption and the simulated energy consumption is less than 24% actual energy. The results of simulation and the sea trial prove the feasibility of the proposed coordinate control strategy and energy optimization method. In conclusion, a coordinate control system and a motion optimization method is studied, which can be used for reference in theoretical research and practical feet operation for both the traditional gliders and hybrid gliders.
2018, 31: 18.
doi: 10.1186/s10033-018-0209-6
Abstract:
Researchers seldom study the optimum design of a mechanical connector for subsea oil-gas pipeline based upon the sealing performance. An optimal design method of a novel subsea pipeline mechanical connector is presented. By analyzing the static metal sealing mechanism, the critical condition of the sealing performance is established for this connector and the formulation method of the contact pressure on the sealing surface is created. By the method the minimum mean contact pressure of the 8.625 inch connector is calculated as 361 MPa, which is the constraint condition in the optimum design of connector. The fnite element model is created in ANSYS Parametric Design Language (APDL) and the structure is optimized by the zero-order method, with variance of contact pressure as the objective function, and mean contact pressures and plastic strains as constraint variables. The optimization shows that variances of contact pressure on two sealing surfaces decrease by 72.41% and 89.33%, respectively, and mean contact pressures increase by 31.18% and 52.84%, respectively. The comparison of the optimal connectors and non-optimal connectors in the water pressure experiments and bending experiments shows that the sealing ability of optimized connectors is much higher than the rated pressure of 4.5 MPa, and the optimal connectors don't leak under the bending moment of 52.2 kN·m. This research provides the formulation to solve contact pressure on the sealing surface and a structure optimization method to design the connectors with various dimensions.
Researchers seldom study the optimum design of a mechanical connector for subsea oil-gas pipeline based upon the sealing performance. An optimal design method of a novel subsea pipeline mechanical connector is presented. By analyzing the static metal sealing mechanism, the critical condition of the sealing performance is established for this connector and the formulation method of the contact pressure on the sealing surface is created. By the method the minimum mean contact pressure of the 8.625 inch connector is calculated as 361 MPa, which is the constraint condition in the optimum design of connector. The fnite element model is created in ANSYS Parametric Design Language (APDL) and the structure is optimized by the zero-order method, with variance of contact pressure as the objective function, and mean contact pressures and plastic strains as constraint variables. The optimization shows that variances of contact pressure on two sealing surfaces decrease by 72.41% and 89.33%, respectively, and mean contact pressures increase by 31.18% and 52.84%, respectively. The comparison of the optimal connectors and non-optimal connectors in the water pressure experiments and bending experiments shows that the sealing ability of optimized connectors is much higher than the rated pressure of 4.5 MPa, and the optimal connectors don't leak under the bending moment of 52.2 kN·m. This research provides the formulation to solve contact pressure on the sealing surface and a structure optimization method to design the connectors with various dimensions.
2018, 31: 19.
doi: 10.1186/s10033-018-0218-5
Abstract:
Underwater vehicles are being emphasized as highly integrated and intelligent devices for a signifcant number of oceanic operations. However, their precise operation is usually hindered by disturbances from a tether or manipulator because their propellers are unable to realize a stable suspension. A dynamic multi-body model-based adaptive controller was designed to allow the controller of the vehicle to observe and compensate for disturbances from a tether or manipulator. Disturbances, including those from a tether or manipulator, are deduced for the observation of the controller. An analysis of a tether disturbance covers the conditions of the surface, the underwater area, and the vehicle end point. Interactions between the vehicle and manipulator are mainly composed of coupling forces and restoring moments. To verify the robustness of the controller, path-following experiments on a streamlined autonomous underwater vehicle experiencing various disturbances were conducted in Song Hua Lake in China. Furthermore, path-following experiments for a tethered open frame remote operated vehicle were verifed for accurate cruising with a controller and an observer, and vehicle and manipulator coordinate motion control during the simulation and experiments verifed the efectiveness of the controller and observer for underwater operation. This study provides instructions for the control of an underwater vehicle experiencing disturbances from a tether or manipulator.
Underwater vehicles are being emphasized as highly integrated and intelligent devices for a signifcant number of oceanic operations. However, their precise operation is usually hindered by disturbances from a tether or manipulator because their propellers are unable to realize a stable suspension. A dynamic multi-body model-based adaptive controller was designed to allow the controller of the vehicle to observe and compensate for disturbances from a tether or manipulator. Disturbances, including those from a tether or manipulator, are deduced for the observation of the controller. An analysis of a tether disturbance covers the conditions of the surface, the underwater area, and the vehicle end point. Interactions between the vehicle and manipulator are mainly composed of coupling forces and restoring moments. To verify the robustness of the controller, path-following experiments on a streamlined autonomous underwater vehicle experiencing various disturbances were conducted in Song Hua Lake in China. Furthermore, path-following experiments for a tethered open frame remote operated vehicle were verifed for accurate cruising with a controller and an observer, and vehicle and manipulator coordinate motion control during the simulation and experiments verifed the efectiveness of the controller and observer for underwater operation. This study provides instructions for the control of an underwater vehicle experiencing disturbances from a tether or manipulator.
2018, 31: 110.
doi: 10.1186/s10033-018-0307-5
Abstract:
The trajectory tracking control problem is addressed for autonomous underwater vehicle (AUV) in marine environment, with presence of the infuence of the uncertain factors including ocean current disturbance, dynamic modeling uncertainty, and thrust model errors. To improve the trajectory tracking accuracy of AUV, an adaptive backstepping terminal sliding mode control based on recurrent neural networks (RNN) is proposed. Firstly, considering the inaccurate of thrust model of thruster, a Taylor's polynomial is used to obtain the thrust model errors. And then, the dynamic modeling uncertainty and thrust model errors are combined into the system model uncertainty (SMU) of AUV; through the RNN, the SMU and ocean current disturbance are classifed, approximated online. Finally, the weights of RNN and other control parameters are adjusted online based on the backstepping terminal sliding mode controller. In addition, a chattering-reduction method is proposed based on sigmoid function. In chattering-reduction method, the sigmoid function is used to realize the continuity of the sliding mode switching function, and the sliding mode switching gain is adjusted online based on the exponential form of the sliding mode function. Based on the Lyapunov theory and Barbalat's lemma, it is theoretically proved that the AUV trajectory tracking error can quickly converge to zero in the fnite time. This research proposes a trajectory tracking control method of AUV, which can efectively achieve high-precision trajectory tracking control of AUV under the infuence of the uncertain factors. The feasibility and efectiveness of the proposed method is demonstrated with trajectory tracking simulations and pool-experiments of AUV.
The trajectory tracking control problem is addressed for autonomous underwater vehicle (AUV) in marine environment, with presence of the infuence of the uncertain factors including ocean current disturbance, dynamic modeling uncertainty, and thrust model errors. To improve the trajectory tracking accuracy of AUV, an adaptive backstepping terminal sliding mode control based on recurrent neural networks (RNN) is proposed. Firstly, considering the inaccurate of thrust model of thruster, a Taylor's polynomial is used to obtain the thrust model errors. And then, the dynamic modeling uncertainty and thrust model errors are combined into the system model uncertainty (SMU) of AUV; through the RNN, the SMU and ocean current disturbance are classifed, approximated online. Finally, the weights of RNN and other control parameters are adjusted online based on the backstepping terminal sliding mode controller. In addition, a chattering-reduction method is proposed based on sigmoid function. In chattering-reduction method, the sigmoid function is used to realize the continuity of the sliding mode switching function, and the sliding mode switching gain is adjusted online based on the exponential form of the sliding mode function. Based on the Lyapunov theory and Barbalat's lemma, it is theoretically proved that the AUV trajectory tracking error can quickly converge to zero in the fnite time. This research proposes a trajectory tracking control method of AUV, which can efectively achieve high-precision trajectory tracking control of AUV under the infuence of the uncertain factors. The feasibility and efectiveness of the proposed method is demonstrated with trajectory tracking simulations and pool-experiments of AUV.
2018, 31: 25.
doi: 10.1186/s10033-018-0223-8
Abstract:
The accurate control for the vehicle height and leveling adjustment system of an electronic air suspension (EAS) still is a challenging problem that has not been effectively solved in prior researches. This paper proposes a new adaptive controller to control the vehicle height and to adjust the roll and pitch angles of the vehicle body (leveling control) during the vehicle height adjustment procedures by an EAS system. A nonlinear mechanism model of the full-car vehicle height adjustment system is established to reflect the system dynamic behaviors and to derive the system optimal control law. To deal with the nonlinear characters in the vehicle height and leveling adjustment processes, the nonlinear system model is globally linearized through the state feedback method. On this basis, a fuzzy sliding mode controller (FSMC) is designed to improve the control accuracy of the vehicle height adjustment and to reduce the peak values of the roll and pitch angles of the vehicle body. To verify the effectiveness of the proposed control method more accurately, the full-car EAS system model programmed using AMESim is also given. Then, the co-simulation study of the FSMC performance can be conducted. Finally, actual vehicle tests are performed with a city bus, and the test results illustrate that the vehicle height adjustment performance is effectively guaranteed by the FSMC, and the peak values of the roll and pitch angles of the vehicle body during the vehicle height adjustment procedures are also reduced significantly. This research proposes an effective control methodology for the vehicle height and leveling adjustment system of an EAS, which provides a favorable control performance for the system.
The accurate control for the vehicle height and leveling adjustment system of an electronic air suspension (EAS) still is a challenging problem that has not been effectively solved in prior researches. This paper proposes a new adaptive controller to control the vehicle height and to adjust the roll and pitch angles of the vehicle body (leveling control) during the vehicle height adjustment procedures by an EAS system. A nonlinear mechanism model of the full-car vehicle height adjustment system is established to reflect the system dynamic behaviors and to derive the system optimal control law. To deal with the nonlinear characters in the vehicle height and leveling adjustment processes, the nonlinear system model is globally linearized through the state feedback method. On this basis, a fuzzy sliding mode controller (FSMC) is designed to improve the control accuracy of the vehicle height adjustment and to reduce the peak values of the roll and pitch angles of the vehicle body. To verify the effectiveness of the proposed control method more accurately, the full-car EAS system model programmed using AMESim is also given. Then, the co-simulation study of the FSMC performance can be conducted. Finally, actual vehicle tests are performed with a city bus, and the test results illustrate that the vehicle height adjustment performance is effectively guaranteed by the FSMC, and the peak values of the roll and pitch angles of the vehicle body during the vehicle height adjustment procedures are also reduced significantly. This research proposes an effective control methodology for the vehicle height and leveling adjustment system of an EAS, which provides a favorable control performance for the system.
2018, 31: 26.
doi: 10.1186/s10033-018-0226-5
Abstract:
Load spectra research for bogie frame requires establishing the load-stress relationship on working condition, which has been omitted by the researchers. With the load-stress of the bogie frame of an intercity Electric Multiple Unit (Hereinafter referred to as EMU) as the research object, an optimization model of the load-stress transfer relationship is established. The load-stress coefficient for EMU bogie frame was calibrated in the laboratory bench and online test was arranged on Dazhou-Chengdu line. Comparison of nonlinear and linear neural networks proves that the linear transitive relation between the load and stress of the bogie frame in the operating process is highly suitable. An optimization model of the load-stress transfer coefficient is obtained. The data calculated with the modified coefficient are closer to the dynamic stress results in the actual operating process than the data calculated with the calibration coefficient. The coefficient of the modified transitive relation is unaffected by operating area, empty load, heavy load, or other conditions in the operating process of the intercity EMU. The real loads in actual situations are obtained. The model of online load-stress relationship that is highly suitable for line stress calculation is finally established. The research is helpful for further damage calculation and inferring the time history signal of the load in load spectra research.
Load spectra research for bogie frame requires establishing the load-stress relationship on working condition, which has been omitted by the researchers. With the load-stress of the bogie frame of an intercity Electric Multiple Unit (Hereinafter referred to as EMU) as the research object, an optimization model of the load-stress transfer relationship is established. The load-stress coefficient for EMU bogie frame was calibrated in the laboratory bench and online test was arranged on Dazhou-Chengdu line. Comparison of nonlinear and linear neural networks proves that the linear transitive relation between the load and stress of the bogie frame in the operating process is highly suitable. An optimization model of the load-stress transfer coefficient is obtained. The data calculated with the modified coefficient are closer to the dynamic stress results in the actual operating process than the data calculated with the calibration coefficient. The coefficient of the modified transitive relation is unaffected by operating area, empty load, heavy load, or other conditions in the operating process of the intercity EMU. The real loads in actual situations are obtained. The model of online load-stress relationship that is highly suitable for line stress calculation is finally established. The research is helpful for further damage calculation and inferring the time history signal of the load in load spectra research.
2018, 31: 47.
doi: 10.1186/s10033-018-0248-z
Abstract:
Reliability assessment of the braking system in a high-speed train under small sample size and zero-failure data is very important for safe operation. Traditional reliability assessment methods are only performed well under conditions of large sample size and complete failure data, which lead to large deviation under conditions of small sample size and zero-failure data. To improve this problem, a new Bayesian method is proposed. Based on the characteristics of the solenoid valve in the braking system of a high-speed train, the modified Weibull distribution is selected to describe the failure rate over the entire lifetime. Based on the assumption of a binomial distribution for the failure probability at censored time, a concave method is employed to obtain the relationships between accumulation failure probabilities. A numerical simulation is performed to compare the results of the proposed method with those obtained from maximum likelihood estimation, and to illustrate that the proposed Bayesian model exhibits a better accuracy for the expectation value when the sample size is less than 12. Finally, the robustness of the model is demonstrated by obtaining the reliability indicators for a numerical case involving the solenoid valve of the braking system, which shows that the change in the reliability and failure rate among the different hyperparameters is small. The method is provided to avoid misleading of subjective information and improve accuracy of reliability assessment under conditions of small sample size and zero-failure data.
Reliability assessment of the braking system in a high-speed train under small sample size and zero-failure data is very important for safe operation. Traditional reliability assessment methods are only performed well under conditions of large sample size and complete failure data, which lead to large deviation under conditions of small sample size and zero-failure data. To improve this problem, a new Bayesian method is proposed. Based on the characteristics of the solenoid valve in the braking system of a high-speed train, the modified Weibull distribution is selected to describe the failure rate over the entire lifetime. Based on the assumption of a binomial distribution for the failure probability at censored time, a concave method is employed to obtain the relationships between accumulation failure probabilities. A numerical simulation is performed to compare the results of the proposed method with those obtained from maximum likelihood estimation, and to illustrate that the proposed Bayesian model exhibits a better accuracy for the expectation value when the sample size is less than 12. Finally, the robustness of the model is demonstrated by obtaining the reliability indicators for a numerical case involving the solenoid valve of the braking system, which shows that the change in the reliability and failure rate among the different hyperparameters is small. The method is provided to avoid misleading of subjective information and improve accuracy of reliability assessment under conditions of small sample size and zero-failure data.
2018, 31: 53.
doi: 10.1186/s10033-018-0255-0
Abstract:
Due to the heat pipes' transient conduction, phase change and fluid dynamics during cooling/heating with high frequency charging/discharging of batteries, it is crucial to investigate in depth the experimental dynamic thermal characteristics in such complex heat transfer processes for more accurate thermal analysis and design of a BTMS. In this paper, the use of ultra-thin micro heat pipe (UMHP) for thermal management of a lithium-ion battery pack in EVs is explored by experiments to reveal the cooling/heating characteristics of the UMHP pack. The cooling performance is evaluated under different constant discharging and transient heat inputs conditions. And the heating efficiency is assessed under several sub-zero temperatures through heating films with/without UMHPs. Results show that the proposed UMHP BTMS with forced convection can keep the maximum temperature of the pack below 40 ℃ under 1 ~ 3C discharging, and effectively reduced the instant temperature increases and minimize the temperature fluctuation of the pack during transient federal urban driving schedule (FUDS) road conditions. Experimental data also indicate that heating films stuck on the fins of UMHPs brought about adequate high heating efficiency comparing with that stuck on the surface of cells under the same heating power, but has more convenient maintenance and less cost for the BTMS. The experimental dynamic temperature characteristics of UMHP which is found to be a high-efficient and low-energy consumption cooling/heating method for BTMSs, can be performed to guide thermal analysis and optimization of heat pipe BTMSs.
Due to the heat pipes' transient conduction, phase change and fluid dynamics during cooling/heating with high frequency charging/discharging of batteries, it is crucial to investigate in depth the experimental dynamic thermal characteristics in such complex heat transfer processes for more accurate thermal analysis and design of a BTMS. In this paper, the use of ultra-thin micro heat pipe (UMHP) for thermal management of a lithium-ion battery pack in EVs is explored by experiments to reveal the cooling/heating characteristics of the UMHP pack. The cooling performance is evaluated under different constant discharging and transient heat inputs conditions. And the heating efficiency is assessed under several sub-zero temperatures through heating films with/without UMHPs. Results show that the proposed UMHP BTMS with forced convection can keep the maximum temperature of the pack below 40 ℃ under 1 ~ 3C discharging, and effectively reduced the instant temperature increases and minimize the temperature fluctuation of the pack during transient federal urban driving schedule (FUDS) road conditions. Experimental data also indicate that heating films stuck on the fins of UMHPs brought about adequate high heating efficiency comparing with that stuck on the surface of cells under the same heating power, but has more convenient maintenance and less cost for the BTMS. The experimental dynamic temperature characteristics of UMHP which is found to be a high-efficient and low-energy consumption cooling/heating method for BTMSs, can be performed to guide thermal analysis and optimization of heat pipe BTMSs.
2018, 31: 58.
doi: 10.1186/s10033-018-0257-y
Abstract:
Recently, plug-in hybrid electric bus has been one of the energy-efficient solutions for urban transportation. However, the current vehicle efficiency is far from optimum, because the unpredicted external driving conditions are difficult to be obtained in advance. How to further explore its fuel-saving potential under the complicated city bus driving cycles through an efficient control strategy is still a hot research issue in both academic and engineering area. To realize an efficient coupling driving operation of the hybrid powertrain, a novel coupling driving control strategy for plug-in hybrid electric bus is presented. Combined with the typical feature of a city-bus-route, the fuzzy logic inference is employed to quantify the driving intention, and then to determine the coupling driving mode and the gear-shifting strategy. Considering the response deviation problem in the execution layer, an adaptive robust controller for electric machine is designed to respond to the transient torque demand, and instantaneously compensate the response delay and the engine torque fluctuation. The simulations and hard-in-loop tests with the actual data of two typical driving conditions from the real-world city-bus-route are carried out, and the results demonstrate that the proposed method could guarantee the hybrid powertrain to track the actual torque demand with 10.4% fuel economy improvement. The optimal fuel economy can be obtained through the optimal combination of working modes. The fuel economy of plug-in hybrid electric bus can be significantly improved by the proposed control scheme without loss of drivability.
Recently, plug-in hybrid electric bus has been one of the energy-efficient solutions for urban transportation. However, the current vehicle efficiency is far from optimum, because the unpredicted external driving conditions are difficult to be obtained in advance. How to further explore its fuel-saving potential under the complicated city bus driving cycles through an efficient control strategy is still a hot research issue in both academic and engineering area. To realize an efficient coupling driving operation of the hybrid powertrain, a novel coupling driving control strategy for plug-in hybrid electric bus is presented. Combined with the typical feature of a city-bus-route, the fuzzy logic inference is employed to quantify the driving intention, and then to determine the coupling driving mode and the gear-shifting strategy. Considering the response deviation problem in the execution layer, an adaptive robust controller for electric machine is designed to respond to the transient torque demand, and instantaneously compensate the response delay and the engine torque fluctuation. The simulations and hard-in-loop tests with the actual data of two typical driving conditions from the real-world city-bus-route are carried out, and the results demonstrate that the proposed method could guarantee the hybrid powertrain to track the actual torque demand with 10.4% fuel economy improvement. The optimal fuel economy can be obtained through the optimal combination of working modes. The fuel economy of plug-in hybrid electric bus can be significantly improved by the proposed control scheme without loss of drivability.
2018, 31: 60.
doi: 10.1186/s10033-018-0262-1
Abstract:
Automotive torque converters have recently been designed with an increasingly narrower profile for the purpose of achieving a smaller axial size and reducing weight. Design of experiment (DOE) and computational fluid dynamics (CFD) techniques are applied to improve the performance of a flat torque converter. Four torque converters with different flatness ratios (0.204, 0.186, 0.172, and 0.158) are designed and simulated first to investigate the effects of flatness ratio on their overall performance, including efficiency, torque ratio, and impeller torque factor. The simulation results show that the overall performance tends to deteriorate as the flatness ratio decreases. Then a parametric study covering six geometric parameters, namely, inlet and outlet angles of impeller, turbine, and stator is carried out. The results demonstrate that the inlet and outlet angles play an important role in determining the performance characteristics of a torque converter. Furthermore, the relative importance of the six design parameters is investigated using DOE method for each response (stall torque ratio and peak efficiency). The turbine outlet angle is found to exert the greatest influence on both responses. After DOE analysis, an optimized design for the flat torque converter geometry is obtained. Compared to the conventional product, the width of the optimized flat torque converter torus is reduced by about 20% while the values of stall torque ratio and peak efficiency are only decreased by 0.4% and 1.7%, respectively. The proposed new optimization strategy based on DOE method together with desirability function approach can be used for performance enhancement in the design process of flat torque converters.
Automotive torque converters have recently been designed with an increasingly narrower profile for the purpose of achieving a smaller axial size and reducing weight. Design of experiment (DOE) and computational fluid dynamics (CFD) techniques are applied to improve the performance of a flat torque converter. Four torque converters with different flatness ratios (0.204, 0.186, 0.172, and 0.158) are designed and simulated first to investigate the effects of flatness ratio on their overall performance, including efficiency, torque ratio, and impeller torque factor. The simulation results show that the overall performance tends to deteriorate as the flatness ratio decreases. Then a parametric study covering six geometric parameters, namely, inlet and outlet angles of impeller, turbine, and stator is carried out. The results demonstrate that the inlet and outlet angles play an important role in determining the performance characteristics of a torque converter. Furthermore, the relative importance of the six design parameters is investigated using DOE method for each response (stall torque ratio and peak efficiency). The turbine outlet angle is found to exert the greatest influence on both responses. After DOE analysis, an optimized design for the flat torque converter geometry is obtained. Compared to the conventional product, the width of the optimized flat torque converter torus is reduced by about 20% while the values of stall torque ratio and peak efficiency are only decreased by 0.4% and 1.7%, respectively. The proposed new optimization strategy based on DOE method together with desirability function approach can be used for performance enhancement in the design process of flat torque converters.
2018, 31: 65.
doi: 10.1186/s10033-018-0268-8
Abstract:
The current research of state of charge (SoC) online estimation of lithium-ion battery (LiB) in electric vehicles (EVs) mainly focuses on adopting or improving of battery models and estimation filters. However, little attention has been paid to the accuracy of various open circuit voltage (OCV) models for correcting the SoC with aid of the ampere-hour counting method. This paper presents a comprehensive comparison study on eighteen OCV models which cover the majority of models used in literature. The low-current OCV tests are conducted on the typical commercial LiFePO4/graphite (LFP) and LiNiMnCoO2/graphite (NMC) cells to obtain the experimental OCV-SoC curves at different ambient temperature and aging stages. With selected OCV and SoC points from experimental OCV-SoC curves, the parameters of each OCV model are determined by curve fitting toolbox of MATLAB 2013. Then the fitting OCV-SoC curves based on diversified OCV models are also obtained. The indicator of root-mean-square error (RMSE) between the experimental data and fitted data is selected to evaluate the adaptabilities of these OCV models for their main features, advantages, and limitations. The sensitivities of OCV models to ambient temperatures, aging stages, numbers of data points, and SoC regions are studied for both NMC and LFP cells. Furthermore, the influences of these models on SoC estimation are discussed. Through a comprehensive comparison and analysis on OCV models, some recommendations in selecting OCV models for both NMC and LFP cells are given.
The current research of state of charge (SoC) online estimation of lithium-ion battery (LiB) in electric vehicles (EVs) mainly focuses on adopting or improving of battery models and estimation filters. However, little attention has been paid to the accuracy of various open circuit voltage (OCV) models for correcting the SoC with aid of the ampere-hour counting method. This paper presents a comprehensive comparison study on eighteen OCV models which cover the majority of models used in literature. The low-current OCV tests are conducted on the typical commercial LiFePO4/graphite (LFP) and LiNiMnCoO2/graphite (NMC) cells to obtain the experimental OCV-SoC curves at different ambient temperature and aging stages. With selected OCV and SoC points from experimental OCV-SoC curves, the parameters of each OCV model are determined by curve fitting toolbox of MATLAB 2013. Then the fitting OCV-SoC curves based on diversified OCV models are also obtained. The indicator of root-mean-square error (RMSE) between the experimental data and fitted data is selected to evaluate the adaptabilities of these OCV models for their main features, advantages, and limitations. The sensitivities of OCV models to ambient temperatures, aging stages, numbers of data points, and SoC regions are studied for both NMC and LFP cells. Furthermore, the influences of these models on SoC estimation are discussed. Through a comprehensive comparison and analysis on OCV models, some recommendations in selecting OCV models for both NMC and LFP cells are given.
2018, 31: 68.
doi: 10.1186/s10033-018-0273-y
Abstract:
Machining and installation errors are unavoidable in mechanical structures. However, the effect of errors on radial stiffness of the mechanical elastic wheel (ME-Wheel) is not considered in previous studies. To this end, the interval mathematical model and interval finite element model of the ME-Wheel were both established and compared with bench test results. The intercomparison of the influence of the machining and installation errors on the ME-Wheel radial stiffness revealed good consistency among the interval mathematical analysis, interval finite element simulation, and bench test results. Within the interval range of the ME-Wheel machining and installation errors, parametric analysis of the combined elastic rings was performed at different initial radial rigidity values. The results showed that the initial radial stiffness of the flexible tire body significantly influenced the ME-Wheel radial stiffness, and the inverse relationship between the hinge unit length or suspension hub and the radial stiffness was nonlinear. The radial stiffness of the ME-Wheel is predicted by using the interval algorithm for the first time, and the regularity of the radial stiffness between the error and the load on the ME-Wheel is studied, which will lay the foundation for the exact study of the ME-Wheel dynamic characteristics in the future.
Machining and installation errors are unavoidable in mechanical structures. However, the effect of errors on radial stiffness of the mechanical elastic wheel (ME-Wheel) is not considered in previous studies. To this end, the interval mathematical model and interval finite element model of the ME-Wheel were both established and compared with bench test results. The intercomparison of the influence of the machining and installation errors on the ME-Wheel radial stiffness revealed good consistency among the interval mathematical analysis, interval finite element simulation, and bench test results. Within the interval range of the ME-Wheel machining and installation errors, parametric analysis of the combined elastic rings was performed at different initial radial rigidity values. The results showed that the initial radial stiffness of the flexible tire body significantly influenced the ME-Wheel radial stiffness, and the inverse relationship between the hinge unit length or suspension hub and the radial stiffness was nonlinear. The radial stiffness of the ME-Wheel is predicted by using the interval algorithm for the first time, and the regularity of the radial stiffness between the error and the load on the ME-Wheel is studied, which will lay the foundation for the exact study of the ME-Wheel dynamic characteristics in the future.
2018, 31: 83.
doi: 10.1186/s10033-018-0283-9
Abstract:
Researchers face difficulties in studying the effects of driveline efficiency on car fuel economy via bench and road tests because of long working periods, high costs, and heavy workloads. To simplify the study process and shorten test cycles, a car fuel economy simulation forecast method for combining computer simulation forecasting with bench tests is proposed. Taking a continuously variable transmission (CVT) as the research object, a transmission efficiency model based on a bench test is constructed. An optimal economic variogram based on the original CVT variogram, the boundary conditions of vehicle performance, the road conditions and the driving behavior of the driver is generated in the Gear Shift Program (GSP)-Generation module in AVL Cruise. And on this basis a driveline simulation model that can calculate the fuel consumption based on the driveline data of a test car is built. The model is used to forecast fuel consumption and calculate real-time CVT efficiency under different conditions. Contrastive analyses on simulation results and real car drum test results are made. The largest error between simulation results and drum test results in driving cycles is 4.099%, which is 5.449% under constant velocity condition in driver control mode and 4.2% under constant velocity condition in automatic cruise mode. The results confirm the feasibility of the method and the good performance of the driveline simulation model in accurately forecasting fuel consumption. The method can efficiently investigate the effects of driveline efficiency on car fuel economy. Moreover, this research provides instruction for accurately forecasting fuel economy as well as references for studies on the effects of drivelines on car fuel economy.
Researchers face difficulties in studying the effects of driveline efficiency on car fuel economy via bench and road tests because of long working periods, high costs, and heavy workloads. To simplify the study process and shorten test cycles, a car fuel economy simulation forecast method for combining computer simulation forecasting with bench tests is proposed. Taking a continuously variable transmission (CVT) as the research object, a transmission efficiency model based on a bench test is constructed. An optimal economic variogram based on the original CVT variogram, the boundary conditions of vehicle performance, the road conditions and the driving behavior of the driver is generated in the Gear Shift Program (GSP)-Generation module in AVL Cruise. And on this basis a driveline simulation model that can calculate the fuel consumption based on the driveline data of a test car is built. The model is used to forecast fuel consumption and calculate real-time CVT efficiency under different conditions. Contrastive analyses on simulation results and real car drum test results are made. The largest error between simulation results and drum test results in driving cycles is 4.099%, which is 5.449% under constant velocity condition in driver control mode and 4.2% under constant velocity condition in automatic cruise mode. The results confirm the feasibility of the method and the good performance of the driveline simulation model in accurately forecasting fuel consumption. The method can efficiently investigate the effects of driveline efficiency on car fuel economy. Moreover, this research provides instruction for accurately forecasting fuel economy as well as references for studies on the effects of drivelines on car fuel economy.
2018, 31: 86.
doi: 10.1186/s10033-018-0285-7
Abstract:
The process of the gas jet from aircraft engines impacting a jet blast deflector is not only a complex fluid-solid coupling problem that is not easy to compute, but also a safety issue that seriously interferes with flight deck environment. The computational fluid dynamics (CFD) method is used to simulate numerically the impact effect of gas jet from aircraft engines on a jet blast deflector by using the Reynolds-averaged Navier-Stokes (RANS) equations and turbulence models. First of all, during the pre-processing of numerical computation, a sub-domains hybrid meshing scheme is adopted to reduce mesh number and improve mesh quality. Then, four different turbulence models including shear-stress transport (SST) k-w, standard k-w, standard k-ε and Reynolds stress model (RSM) are used to compare and verify the correctness of numerical methods for gas jet from a single aircraft engine. The predicted values are in good agreement with the experimental data, and the distribution and regularity of shock wave, velocity, pressure and temperature of a single aircraft engine are got. The results show that SST k-w turbulence model is more suitable for the numerical simulation of compressible viscous gas jet with high prediction accuracy. Finally, the impact effect of gas jet from two aircraft engines on a jet blast deflector is analyzed based on the above numerical method, not only the flow parameters of gas jet and the interaction regularity between gas jet and the jet blast deflector are got, but also the thermal shock properties and dynamic impact characteristics of gas jet impacting the jet blast deflector are got. So the dangerous activity area of crew and equipments on the flight deck can be predicted qualitatively and quantitatively. The proposed research explores out a correct numerical method for the fluid-solid interaction during the impact process of supersonic gas jet, which provides an effective technical support for design, thermal ablation and structural damage analysis of a new jet blast deflector.
The process of the gas jet from aircraft engines impacting a jet blast deflector is not only a complex fluid-solid coupling problem that is not easy to compute, but also a safety issue that seriously interferes with flight deck environment. The computational fluid dynamics (CFD) method is used to simulate numerically the impact effect of gas jet from aircraft engines on a jet blast deflector by using the Reynolds-averaged Navier-Stokes (RANS) equations and turbulence models. First of all, during the pre-processing of numerical computation, a sub-domains hybrid meshing scheme is adopted to reduce mesh number and improve mesh quality. Then, four different turbulence models including shear-stress transport (SST) k-w, standard k-w, standard k-ε and Reynolds stress model (RSM) are used to compare and verify the correctness of numerical methods for gas jet from a single aircraft engine. The predicted values are in good agreement with the experimental data, and the distribution and regularity of shock wave, velocity, pressure and temperature of a single aircraft engine are got. The results show that SST k-w turbulence model is more suitable for the numerical simulation of compressible viscous gas jet with high prediction accuracy. Finally, the impact effect of gas jet from two aircraft engines on a jet blast deflector is analyzed based on the above numerical method, not only the flow parameters of gas jet and the interaction regularity between gas jet and the jet blast deflector are got, but also the thermal shock properties and dynamic impact characteristics of gas jet impacting the jet blast deflector are got. So the dangerous activity area of crew and equipments on the flight deck can be predicted qualitatively and quantitatively. The proposed research explores out a correct numerical method for the fluid-solid interaction during the impact process of supersonic gas jet, which provides an effective technical support for design, thermal ablation and structural damage analysis of a new jet blast deflector.
2018, 31: 100.
doi: 10.1186/s10033-018-0301-y
Abstract:
Overtaking accidents caused by improper operations performed by a driver occur frequently. However, most studies on overtaking safety have neglected research into driver control input. A novel method is proposed to obtain the driver control input during the overtaking process. Meanwhile, to improve the safety of overtaking, two types of safe distances, and the time of the overtaking are considered. Path constraints are established when considering the two types of safe distances. An optimal control model is established to solve the minimum time maneuver under multiple constraints. Using the Gauss pseudospectral method, the optimal control problem is converted into a nonlinear programming problem, which is then solved through sequential quadratic programming (SQP). In addition, the efectiveness of the proposed method is verifed based on the results of a Carsim simulation. The simulation results show that by adopting an inverse dynamics method to solve the manipulation problem of the vehicle's minimum overtaking time, the manipulation capability of a vehicle in completing an overtaking safely within the minimum time can be obtained. This method can provide a reference for research into the active safety of manned and unmanned vehicles.
Overtaking accidents caused by improper operations performed by a driver occur frequently. However, most studies on overtaking safety have neglected research into driver control input. A novel method is proposed to obtain the driver control input during the overtaking process. Meanwhile, to improve the safety of overtaking, two types of safe distances, and the time of the overtaking are considered. Path constraints are established when considering the two types of safe distances. An optimal control model is established to solve the minimum time maneuver under multiple constraints. Using the Gauss pseudospectral method, the optimal control problem is converted into a nonlinear programming problem, which is then solved through sequential quadratic programming (SQP). In addition, the efectiveness of the proposed method is verifed based on the results of a Carsim simulation. The simulation results show that by adopting an inverse dynamics method to solve the manipulation problem of the vehicle's minimum overtaking time, the manipulation capability of a vehicle in completing an overtaking safely within the minimum time can be obtained. This method can provide a reference for research into the active safety of manned and unmanned vehicles.
2018, 31: 29.
doi: 10.1186/s10033-018-0235-4
Abstract:
The current research of kinetostatic characteristics in fexure mechanisms mainly focus on the improvement of accuracy. To reduce or eliminate the parasitic motion is considered as an approach by using the common knowledge of symmetry. However, there is no study on designing the fexure mechanisms with symmetrical features as many as possible for better kinetostatic performance, when considering the resulting cost by the symmetry. In this paper, the concept of degree of symmetry (DoS) is proposed for the frst time, which is committed to symmetry design in the phase of conceptual design. A class of fexure mechanisms with 0-DoS, 1-DoS, 2-DoS and 3-DoS are synthesized respectively based on the Freedom and Constraint Topology method. Their overall compliance matrices in an analytical form formulated within the framework of the screw theory are used to analyze and compare the efect of diferent number of DoS on the kinetostatic characteristics for fexure mechanisms. The fnite element analysis (FEA) simulations are implemented to verify the analytical results. These results show that the higher the DoS is, the smaller the parasitic motion error will be. The fexure model with 3-DoS is optimized according to the overall compliance matrix and then tested by using the FEA simulation. The testing result shows that with the best combination parameters, the parasitic motion error for 3-DoS mechanism is almost eliminated. This research introduces a design principle which can alleviate the unwanted parasitic motion for better accuracy.
The current research of kinetostatic characteristics in fexure mechanisms mainly focus on the improvement of accuracy. To reduce or eliminate the parasitic motion is considered as an approach by using the common knowledge of symmetry. However, there is no study on designing the fexure mechanisms with symmetrical features as many as possible for better kinetostatic performance, when considering the resulting cost by the symmetry. In this paper, the concept of degree of symmetry (DoS) is proposed for the frst time, which is committed to symmetry design in the phase of conceptual design. A class of fexure mechanisms with 0-DoS, 1-DoS, 2-DoS and 3-DoS are synthesized respectively based on the Freedom and Constraint Topology method. Their overall compliance matrices in an analytical form formulated within the framework of the screw theory are used to analyze and compare the efect of diferent number of DoS on the kinetostatic characteristics for fexure mechanisms. The fnite element analysis (FEA) simulations are implemented to verify the analytical results. These results show that the higher the DoS is, the smaller the parasitic motion error will be. The fexure model with 3-DoS is optimized according to the overall compliance matrix and then tested by using the FEA simulation. The testing result shows that with the best combination parameters, the parasitic motion error for 3-DoS mechanism is almost eliminated. This research introduces a design principle which can alleviate the unwanted parasitic motion for better accuracy.
2018, 31: 30.
doi: 10.1186/s10033-018-0238-1
Abstract:
Time-varying mesh stiffness (TVMS) and gear errors include short-term and long-term components are the two main internal dynamic excitations for gear transmission. The coupling relationship between the two factors is usually neglected in the traditional quasi-static and dynamic behaviors analysis of gear system. This paper investigates the influence of short-term and long-term components of manufacturing errors on quasi-static and dynamic behaviors of helical gear system considering the coupling relationship between TVMS and gear errors. The TVMS, loaded static transmission error (LSTE) and loaded composite mesh error (LCMS) are determined using an improved loaded tooth contact analysis (LTCA) model. Considering the structure of shaft, as well as the direction of power flow and bearing location, a precise generalized finite element dynamic model of helical gear system is developed, and the dynamic responses of the system are obtained by numerical integration method. The results suggest that lighter loading conditions result in smaller mesh stiffness and stronger vibration, and the corresponding resonance speeds of the system become lower. Long-term components of manufacturing errors lead to the appearance of sideband frequency components in frequency spectrum of dynamic responses. The sideband frequency components are predominant under light loading conditions. With the increase of output torque, the mesh frequency and its harmonics components tend to be enhanced relative to sideband frequency components. This study can provide effective reference for low noise design of gear transmission.
Time-varying mesh stiffness (TVMS) and gear errors include short-term and long-term components are the two main internal dynamic excitations for gear transmission. The coupling relationship between the two factors is usually neglected in the traditional quasi-static and dynamic behaviors analysis of gear system. This paper investigates the influence of short-term and long-term components of manufacturing errors on quasi-static and dynamic behaviors of helical gear system considering the coupling relationship between TVMS and gear errors. The TVMS, loaded static transmission error (LSTE) and loaded composite mesh error (LCMS) are determined using an improved loaded tooth contact analysis (LTCA) model. Considering the structure of shaft, as well as the direction of power flow and bearing location, a precise generalized finite element dynamic model of helical gear system is developed, and the dynamic responses of the system are obtained by numerical integration method. The results suggest that lighter loading conditions result in smaller mesh stiffness and stronger vibration, and the corresponding resonance speeds of the system become lower. Long-term components of manufacturing errors lead to the appearance of sideband frequency components in frequency spectrum of dynamic responses. The sideband frequency components are predominant under light loading conditions. With the increase of output torque, the mesh frequency and its harmonics components tend to be enhanced relative to sideband frequency components. This study can provide effective reference for low noise design of gear transmission.
2018, 31: 31.
doi: 10.1186/s10033-018-0237-2
Abstract:
The design strategies for powertrain mounting systems play an important role in the reduction of vehicular vibration and noise. As stiffness and damping elements connecting the transmission system and vehicle body, the rubber mount exhibits better vibration isolation performance than the rigid connection. This paper presents a complete design process of the mounting system, including the vibration decoupling, vibration simulation analysis, topology optimization, and experimental verification. Based on the 6-degrees-of-freedom vibration coupling model of the powertrain mounting system, an optimization algorithm is used to extract the best design parameters of each mount, thus rendering the mounting system fully decoupled and the natural frequency well configured, and the optimal parameters are used to design the mounting system. Subsequently, vibration simulation analysis is applied to the mounting system, considering both transmission and road excitations. According to the results of finite element analysis, the topological structure of the metal frame of the front mount is optimized to improve the strength and dynamic characteristics of the mounting system. Finally, the vibration bench test is used to verify the availability of the optimization design with the analysis of acceleration response and vibration transmissibility of the mounting system. The results show that the vibration isolation performance of the mounting system can be improved effectively using the vibration optimal decoupling method, and the structural modification of the metal frame can well promote the dynamic characteristics of the mounting system.
The design strategies for powertrain mounting systems play an important role in the reduction of vehicular vibration and noise. As stiffness and damping elements connecting the transmission system and vehicle body, the rubber mount exhibits better vibration isolation performance than the rigid connection. This paper presents a complete design process of the mounting system, including the vibration decoupling, vibration simulation analysis, topology optimization, and experimental verification. Based on the 6-degrees-of-freedom vibration coupling model of the powertrain mounting system, an optimization algorithm is used to extract the best design parameters of each mount, thus rendering the mounting system fully decoupled and the natural frequency well configured, and the optimal parameters are used to design the mounting system. Subsequently, vibration simulation analysis is applied to the mounting system, considering both transmission and road excitations. According to the results of finite element analysis, the topological structure of the metal frame of the front mount is optimized to improve the strength and dynamic characteristics of the mounting system. Finally, the vibration bench test is used to verify the availability of the optimization design with the analysis of acceleration response and vibration transmissibility of the mounting system. The results show that the vibration isolation performance of the mounting system can be improved effectively using the vibration optimal decoupling method, and the structural modification of the metal frame can well promote the dynamic characteristics of the mounting system.
2018, 31: 32.
doi: 10.1186/s10033-018-0240-7
Abstract:
Flow-induced vibration plays a positive role on heat transfer enhancement. Meanwhile, it is also a negative factor for fatigue strength. Satisfying the fatigue strength is the primary prerequisite for heat transfer enhancement. This paper numerically studied the flow-induced vibration of planar elastic tube bundle based on a two-way fluid–structure interaction (FSI) calculation. The numerical calculation involved the unsteady, three-dimensional incompressible governing equations solved with finite volume approach and the dynamic balance equation of planar elastic tube bundle solved with finite element method combined with dynamic mesh scheme. The numerical approach was verified by comparing with the published experimental results. Then the vibration trajectory, deformation and stress contour of planar elastic tube bundle were all studied. Results show that the combined movement of planar elastic tube bundle represents the agitation from inside to outside. The vibration of out-of-plane is the main vibration form with the typically sinusoidal behavior because the magnitude of displacement along the out-of-plane direction is the 100 times than the value of in-plane direction. The dangerous point locates in the innermost tube where the equivalent stress can be utilized to study the multiaxial fatigue of planar elastic tube bundle due to the alternating stress concentration. In the velocity range of 0.2?3 m/s, it is inferred that the vibration amplitude plays a role on the stress response and the stress amplitude is susceptible to the fluid velocity. This research paves a way for studying the fatigue strength of planar elastic tube bundle by flow-induced vibration.
Flow-induced vibration plays a positive role on heat transfer enhancement. Meanwhile, it is also a negative factor for fatigue strength. Satisfying the fatigue strength is the primary prerequisite for heat transfer enhancement. This paper numerically studied the flow-induced vibration of planar elastic tube bundle based on a two-way fluid–structure interaction (FSI) calculation. The numerical calculation involved the unsteady, three-dimensional incompressible governing equations solved with finite volume approach and the dynamic balance equation of planar elastic tube bundle solved with finite element method combined with dynamic mesh scheme. The numerical approach was verified by comparing with the published experimental results. Then the vibration trajectory, deformation and stress contour of planar elastic tube bundle were all studied. Results show that the combined movement of planar elastic tube bundle represents the agitation from inside to outside. The vibration of out-of-plane is the main vibration form with the typically sinusoidal behavior because the magnitude of displacement along the out-of-plane direction is the 100 times than the value of in-plane direction. The dangerous point locates in the innermost tube where the equivalent stress can be utilized to study the multiaxial fatigue of planar elastic tube bundle due to the alternating stress concentration. In the velocity range of 0.2?3 m/s, it is inferred that the vibration amplitude plays a role on the stress response and the stress amplitude is susceptible to the fluid velocity. This research paves a way for studying the fatigue strength of planar elastic tube bundle by flow-induced vibration.
2018, 31: 33.
doi: 10.1186/s10033-018-0242-5
Abstract:
Because of the limited space of the launch rockets, deployable mechanisms are always used to solve the phenomenon. One dimensional deployable mast can deploy and support antenna, solar sail and space optical camera. Tape-spring hyperelastic hinges can be folded and extended into a rod like confguration. It utilizes the strain energy to realize self-deploying and drive the other structures. One kind of triangular prism mast with tape-spring hyperelastic hinges is proposed and developed. Stretching and compression stifness theoretical model are established with considering the tape-spring hyperelastic hinges based on static theory. The fnite element model of ten-module triangular prism mast is set up by ABAQUS with the tape-spring hyperelastic hinge and parameter study is performed to investigate the infuence of thickness, section angle and radius. Two-module TPM is processed and tested the compression stifness by the laser displacement sensor, deploying repeat accuracy by the high speed camera, modal shape and fundamental frequency at cantilever position by LMS multi-channel vibration test and analysis system, which are used to verify precision of the theoretical and fnite element models of ten-module triangular prism mast with the tape-spring hyperelastic hinges. This research proposes an innovative one dimensional triangular prism with tape-spring hyperelastic hinge which has great application value to the space deployable mechanisms.
Because of the limited space of the launch rockets, deployable mechanisms are always used to solve the phenomenon. One dimensional deployable mast can deploy and support antenna, solar sail and space optical camera. Tape-spring hyperelastic hinges can be folded and extended into a rod like confguration. It utilizes the strain energy to realize self-deploying and drive the other structures. One kind of triangular prism mast with tape-spring hyperelastic hinges is proposed and developed. Stretching and compression stifness theoretical model are established with considering the tape-spring hyperelastic hinges based on static theory. The fnite element model of ten-module triangular prism mast is set up by ABAQUS with the tape-spring hyperelastic hinge and parameter study is performed to investigate the infuence of thickness, section angle and radius. Two-module TPM is processed and tested the compression stifness by the laser displacement sensor, deploying repeat accuracy by the high speed camera, modal shape and fundamental frequency at cantilever position by LMS multi-channel vibration test and analysis system, which are used to verify precision of the theoretical and fnite element models of ten-module triangular prism mast with the tape-spring hyperelastic hinges. This research proposes an innovative one dimensional triangular prism with tape-spring hyperelastic hinge which has great application value to the space deployable mechanisms.
2018, 31: 34.
doi: 10.1186/s10033-018-0239-0
Abstract:
Product innovation is creation of new concepts to plan and realize technological and functional details in the product to satisfy market and customer needs. One of the key drivers to product innovation is reactions of the product to users' needs. Product innovation needs a cognitive design method based on needs of variant users for the product personalization. In this paper, an open concept is introduced to provide ways to meet user's individual need in product lifespan. It is for industries to propose product concepts based on open sources, develop and support the product on the public capability. Using the open concept in the product architecture, called open-architecture product (OAP), can improve the product personalization leading to massive product innovation. To promote this promise of the OAP, efective methods are discussed for the OAP development. This paper introduces research on OAPs using adaptable design methods to meet product personalization. Adaptable design is based on the modular structure for product adaptability using function modules and adaptable interfaces. The proposed method provides solutions for planning modules and implementation of OAPs. Methods of OAP module planning, detail and interface design are described for transformation of product concepts into physical structures. A multiple-purpose electrical car is developed in a case study to show efectiveness of the proposed method.
Product innovation is creation of new concepts to plan and realize technological and functional details in the product to satisfy market and customer needs. One of the key drivers to product innovation is reactions of the product to users' needs. Product innovation needs a cognitive design method based on needs of variant users for the product personalization. In this paper, an open concept is introduced to provide ways to meet user's individual need in product lifespan. It is for industries to propose product concepts based on open sources, develop and support the product on the public capability. Using the open concept in the product architecture, called open-architecture product (OAP), can improve the product personalization leading to massive product innovation. To promote this promise of the OAP, efective methods are discussed for the OAP development. This paper introduces research on OAPs using adaptable design methods to meet product personalization. Adaptable design is based on the modular structure for product adaptability using function modules and adaptable interfaces. The proposed method provides solutions for planning modules and implementation of OAPs. Methods of OAP module planning, detail and interface design are described for transformation of product concepts into physical structures. A multiple-purpose electrical car is developed in a case study to show efectiveness of the proposed method.
2018, 31: 35.
doi: 10.1186/s10033-018-0243-4
Abstract:
Capture is a key component for on-orbit service and space debris clean. The current research of capture on-orbit focuses on using special capture devices or full-actuated space arms to capture cooperative targets. However, the structures of current capture devices are complex, and both space debris and abandoned spacecraft are noncooperative targets. To capture non-cooperative targets in space, a lightweight, less driven under-actuated robotic hand is proposed in this paper, which composed by tendon-pulley transmission and double-stage mechanisms, and always driven by only one motor in process of closing fnger. Because of the expandability, general grasping model is constructed. The equivalent joint driving forces and general grasping force are analyzed based on the model and the principle of virtual work. Which reveal the relationship among tendon driving force, joint driving forces and grasping force. In order to confgure the number of knuckles of fnger, a new analysis method which takes the maximum grasping space into account, is proposed. Supposing the maximum grasped object is an envelope circle with diameter of 2.5 m. In the condition, a fnger grasping maximum envelope circle with diferent knuckles is modeled. And the fnger lengths with corresponding knuckles are calculated out. The fnger length which consists of three knuckles is the shortest among under-actuated fngers consists of not more than fve knuckles. Finally, the principle prototype and prototype robotic hand which consists of two dingers are designed and assembled. Experiments indicate that the under-actuated robotic hand can satisfy the grasp requirements.
Capture is a key component for on-orbit service and space debris clean. The current research of capture on-orbit focuses on using special capture devices or full-actuated space arms to capture cooperative targets. However, the structures of current capture devices are complex, and both space debris and abandoned spacecraft are noncooperative targets. To capture non-cooperative targets in space, a lightweight, less driven under-actuated robotic hand is proposed in this paper, which composed by tendon-pulley transmission and double-stage mechanisms, and always driven by only one motor in process of closing fnger. Because of the expandability, general grasping model is constructed. The equivalent joint driving forces and general grasping force are analyzed based on the model and the principle of virtual work. Which reveal the relationship among tendon driving force, joint driving forces and grasping force. In order to confgure the number of knuckles of fnger, a new analysis method which takes the maximum grasping space into account, is proposed. Supposing the maximum grasped object is an envelope circle with diameter of 2.5 m. In the condition, a fnger grasping maximum envelope circle with diferent knuckles is modeled. And the fnger lengths with corresponding knuckles are calculated out. The fnger length which consists of three knuckles is the shortest among under-actuated fngers consists of not more than fve knuckles. Finally, the principle prototype and prototype robotic hand which consists of two dingers are designed and assembled. Experiments indicate that the under-actuated robotic hand can satisfy the grasp requirements.
2018, 31: 37.
doi: 10.1186/s10033-018-0234-5
Abstract:
A patent is a kind of technical document to protect intellectual property for individuals or enterprises. Patentable idea generation is a crucial step for patent application and analogy is confrmed to be an efective technique to inspire creative ideas. Analogy-based design usually starts from representation of an analogy source and is followed by the retrieval of appropriate analogs, mapping of design knowledge and adaptation of target solution. To difuse one core idea into other new contexts and achieve more patentable ideas, this paper mainly centered on the frst two stages of analogy-based design and proposed a patentable ideation framework. The analogical information of the source system, including source design problems and solution, was mined comprehensively through International Patent Classifcation analysis and represented in the form of function, behavior and structure. Three heuristics were suggested for searching the set of candidate target systems with a similar design problem, where the source design could be transferred. To systematize the process of source representation, analogs retrieval, idea transfer, and solution generation, an ideation model was put forward. Finally, the bladeless fan was selected as a source design to illustrate the application of this work. The design output shows that the representation and heuristics are benefcial, and this systematic ideation method can help the engineer or designer enhance creativity and discover more patentable opportunities.
A patent is a kind of technical document to protect intellectual property for individuals or enterprises. Patentable idea generation is a crucial step for patent application and analogy is confrmed to be an efective technique to inspire creative ideas. Analogy-based design usually starts from representation of an analogy source and is followed by the retrieval of appropriate analogs, mapping of design knowledge and adaptation of target solution. To difuse one core idea into other new contexts and achieve more patentable ideas, this paper mainly centered on the frst two stages of analogy-based design and proposed a patentable ideation framework. The analogical information of the source system, including source design problems and solution, was mined comprehensively through International Patent Classifcation analysis and represented in the form of function, behavior and structure. Three heuristics were suggested for searching the set of candidate target systems with a similar design problem, where the source design could be transferred. To systematize the process of source representation, analogs retrieval, idea transfer, and solution generation, an ideation model was put forward. Finally, the bladeless fan was selected as a source design to illustrate the application of this work. The design output shows that the representation and heuristics are benefcial, and this systematic ideation method can help the engineer or designer enhance creativity and discover more patentable opportunities.
2018, 31: 38.
doi: 10.1186/s10033-018-0244-3
Abstract:
For the purpose of improving the mechanical performance indices of uncertain structures with interval parameters and ensure their robustness when fluctuating under interval parameters, a constrained interval robust optimization model is constructed with both the center and halfwidth of the most important mechanical performance index described as objective functions and the other requirements on the mechanical performance indices described as constraint functions. To locate the optimal solution of objective and feasibility robustness, a new concept of interval violation vector and its calculation formulae corresponding to different constraint functions are proposed. The mathematical formulae for calculating the feasibility and objective robustness indices and the robustness-based preferential guidelines are proposed for directly ranking various design vectors, which is realized by an algorithm integrating Kriging and nested genetic algorithm. The validity of the proposed method and its superiority to present interval optimization approaches are demonstrated by a numerical example. The robust optimization of the upper beam in a high-speed press with interval material properties demonstrated the applicability and effectiveness of the proposed method in engineering.
For the purpose of improving the mechanical performance indices of uncertain structures with interval parameters and ensure their robustness when fluctuating under interval parameters, a constrained interval robust optimization model is constructed with both the center and halfwidth of the most important mechanical performance index described as objective functions and the other requirements on the mechanical performance indices described as constraint functions. To locate the optimal solution of objective and feasibility robustness, a new concept of interval violation vector and its calculation formulae corresponding to different constraint functions are proposed. The mathematical formulae for calculating the feasibility and objective robustness indices and the robustness-based preferential guidelines are proposed for directly ranking various design vectors, which is realized by an algorithm integrating Kriging and nested genetic algorithm. The validity of the proposed method and its superiority to present interval optimization approaches are demonstrated by a numerical example. The robust optimization of the upper beam in a high-speed press with interval material properties demonstrated the applicability and effectiveness of the proposed method in engineering.
2018, 31: 39.
doi: 10.1186/s10033-018-0233-6
Abstract:
Joint clearances in antenna pointing mechanisms lead to uncertainty in function deviation. Current studies mainly focus on radial clearance of revolute joints, while axial clearance has rarely been taken into consideration. In fact, owning to errors from machining and assembly, thermal deformation and so forth, practically, axial clearance is inevitable in the joint. In this study, an error equivalent model (EEM) of revolute joints is proposed with considering both radial and axial clearances. Compared to the planar model of revolute joints only considering radial clearance, the journal motion inside the bearing is more abundant and matches the reality better in the EEM. The model is also extended for analyzing the error distribution of a spatial dual-axis ("X-Y" type) antenna pointing mechanism of Spot-beam antennas which especially demand a high pointing accuracy. Three case studies are performed which illustrates the internal relation between radial clearance and axial clearance. It is found that when the axial clearance is big enough, the physical journal can freely realize both translational motion and rotational motion. While if the axial clearance is limited, the motion of the physical journal will be restricted. Analysis results indicate that the consideration of both radial and axial clearances in the revolute joint describes the journal motion inside the bearing more precise. To further validate the proposed model, a model of the EEM is designed and fabricated. Some suggestions on the design of revolute joints are also provided.
Joint clearances in antenna pointing mechanisms lead to uncertainty in function deviation. Current studies mainly focus on radial clearance of revolute joints, while axial clearance has rarely been taken into consideration. In fact, owning to errors from machining and assembly, thermal deformation and so forth, practically, axial clearance is inevitable in the joint. In this study, an error equivalent model (EEM) of revolute joints is proposed with considering both radial and axial clearances. Compared to the planar model of revolute joints only considering radial clearance, the journal motion inside the bearing is more abundant and matches the reality better in the EEM. The model is also extended for analyzing the error distribution of a spatial dual-axis ("X-Y" type) antenna pointing mechanism of Spot-beam antennas which especially demand a high pointing accuracy. Three case studies are performed which illustrates the internal relation between radial clearance and axial clearance. It is found that when the axial clearance is big enough, the physical journal can freely realize both translational motion and rotational motion. While if the axial clearance is limited, the motion of the physical journal will be restricted. Analysis results indicate that the consideration of both radial and axial clearances in the revolute joint describes the journal motion inside the bearing more precise. To further validate the proposed model, a model of the EEM is designed and fabricated. Some suggestions on the design of revolute joints are also provided.
2018, 31: 42.
doi: 10.1186/s10033-018-0236-3
Abstract:
A light-weight design method of integrated structural topology and size co-optimization for the force-performance-structure of complex structural parts is presented in this paper. Firstly, the supporting function of a complex structural part is built to map the force transmission, where the force exerted areas and constraints are considered as connecting structure and the structural configuration, to determine the part performance as well as the force routines. Then the connecting structure design model, aiming to optimize the static and dynamic performances on connection configuration, is developed, and the optimum design of the characteristic parameters is carried out by means of the collaborative optimization method, namely, the integrated structural topology optimization and size optimization. In this design model, the objective is to maximize the connecting stiffness. Based on the relationship between the force and the structural configuration of a part, the optimal force transmission routine that can meet the performance requirements is obtained using the structural topology optimization technology. Accordingly, the light-weight design of conceptual configuration for complex parts under multi-objective and multi-condition can be realized. Finally, based on the proposed collaborative optimization design method, the optimal performance and optimal structure of the complex parts with light weight are realized, and the reasonable structural unit configuration and size characteristic parameters are obtained. A bed structure of gantry-type machining center is designed by using the proposed light-weight structure design method in this paper, as an illustrative example. The bed after the design optimization is lighter 8% than original one, and the rail deformation is reduced by 5%. Moreover, the lightweight design of the bed is achieved with enhanced performance to show the effectiveness of the proposed method.
A light-weight design method of integrated structural topology and size co-optimization for the force-performance-structure of complex structural parts is presented in this paper. Firstly, the supporting function of a complex structural part is built to map the force transmission, where the force exerted areas and constraints are considered as connecting structure and the structural configuration, to determine the part performance as well as the force routines. Then the connecting structure design model, aiming to optimize the static and dynamic performances on connection configuration, is developed, and the optimum design of the characteristic parameters is carried out by means of the collaborative optimization method, namely, the integrated structural topology optimization and size optimization. In this design model, the objective is to maximize the connecting stiffness. Based on the relationship between the force and the structural configuration of a part, the optimal force transmission routine that can meet the performance requirements is obtained using the structural topology optimization technology. Accordingly, the light-weight design of conceptual configuration for complex parts under multi-objective and multi-condition can be realized. Finally, based on the proposed collaborative optimization design method, the optimal performance and optimal structure of the complex parts with light weight are realized, and the reasonable structural unit configuration and size characteristic parameters are obtained. A bed structure of gantry-type machining center is designed by using the proposed light-weight structure design method in this paper, as an illustrative example. The bed after the design optimization is lighter 8% than original one, and the rail deformation is reduced by 5%. Moreover, the lightweight design of the bed is achieved with enhanced performance to show the effectiveness of the proposed method.
2018, 31: 44.
doi: 10.1186/s10033-018-0241-6
Abstract:
Unifying the models for topology design and kinematic analysis has long been a desire for the research of parallel kinematic machines (PKMs). This requires that analytical description, formulation and operation for both finite and instantaneous motions are performed by the same mathematical tool. Based upon finite and instantaneous screw theory, a unified and systematic approach for topology design and kinematic analysis of PKMs is proposed in this paper. Using the derivative mapping between finite and instantaneous screws built in the authors' previous work, the finite and instantaneous motions of PKMs are analytically described by the simple and non-redundant screws in quasi-vector and vector forms. And topological and parametric models of PKMs are algebraically formulated and related. These related topological and parametric models are ready to do type synthesis and kinematic analysis of PKMs under the unified framework of screw theory. In order to show the validity of the proposed approach, a kind of two-translational and three-rotational (2T3R) 5-axis PKMs is taken as example. Numerous new structures of the 2T3R PKMs are synthesized as the results of topology design, and their Jacobian matrix is obtained easily for parameter optimization and performance evaluation. Some of the synthesized PKMs have outstanding capabilities in terms of large workspaces and flexible orientations, and have great potential for industrial applications of machining and manufacture. Among them, METROM PKM is a typical example which has attracted a lot of attention from global companies and already been developed as commercial products. The approach is a general and unified approach that can be used in the innovative design of different kinds of PKMs.
Unifying the models for topology design and kinematic analysis has long been a desire for the research of parallel kinematic machines (PKMs). This requires that analytical description, formulation and operation for both finite and instantaneous motions are performed by the same mathematical tool. Based upon finite and instantaneous screw theory, a unified and systematic approach for topology design and kinematic analysis of PKMs is proposed in this paper. Using the derivative mapping between finite and instantaneous screws built in the authors' previous work, the finite and instantaneous motions of PKMs are analytically described by the simple and non-redundant screws in quasi-vector and vector forms. And topological and parametric models of PKMs are algebraically formulated and related. These related topological and parametric models are ready to do type synthesis and kinematic analysis of PKMs under the unified framework of screw theory. In order to show the validity of the proposed approach, a kind of two-translational and three-rotational (2T3R) 5-axis PKMs is taken as example. Numerous new structures of the 2T3R PKMs are synthesized as the results of topology design, and their Jacobian matrix is obtained easily for parameter optimization and performance evaluation. Some of the synthesized PKMs have outstanding capabilities in terms of large workspaces and flexible orientations, and have great potential for industrial applications of machining and manufacture. Among them, METROM PKM is a typical example which has attracted a lot of attention from global companies and already been developed as commercial products. The approach is a general and unified approach that can be used in the innovative design of different kinds of PKMs.
2018, 31: 36.
doi: 10.1186/s10033-018-0232-7
Abstract:
2018, 31: 79.
doi: 10.1186/s10033-018-0282-x
Abstract:
Rare earth (RE) elements have positive efects on Al alloy, while most research is focused on microstructure and mechanical properties. As important application indices, toughness and plasticity are properties that are sensitive to alloy fracture characteristics, and few research studies have characterized the fracture properties of Al-Cu-Mn alloy on RE elements. The efect of diferent contents of Y on the fracture properties of Al-Cu-Mn alloy is investigated. T6 heat treatment (solid solution and artifcial aging treatment), optical microscope (OM), scanning electron microscopy (SEM) and energy dispersive spectrometer (EDS) methods are applied to the alloy. Results showed that when Y element is present at 0.1%, the section of the as-cast alloy has smaller sized dimples and the fracture mode presents ductile features. Slight changes in hardness are also observed and maintained at about 60 HV. With increasing content of the RE element Y from 0.1 to 0.5%, the θ phase and Cu atoms in the matrix were reduced and most stopped at Grain boundaries (GBs). Micro-segregation and an enriched zone of Y near the GBs gradually increased. At the same time, the inter-metallic compound AlCuY is aggregated at grain junctions causing deterioration of the micro-structure and fracture properties of the alloy. After T6 treatment, the fatness of the fracture surface was lower than that of all the ascast alloy showing lots of dimples and teared edges with a signifcant increase in hardness. When Y content was 0.1%, the strength and hardness of the alloy increased due to refnement of the grain strengthening efect. The content of Y elements segregated in the inter-dendritic zone and GBs is reduced. Plasticity and deformation compatibility also improved, making cracks difcult to form and merge with each other along adjacent grain junctions and providing an increased potential for ductile fracture. This paper proposes the addition of RE Y as an efective and prospective strategy to improve the fracture properties of the Al-Cu-Mn alloy and provide a meaningful reference in terms of improving overall performance.
Rare earth (RE) elements have positive efects on Al alloy, while most research is focused on microstructure and mechanical properties. As important application indices, toughness and plasticity are properties that are sensitive to alloy fracture characteristics, and few research studies have characterized the fracture properties of Al-Cu-Mn alloy on RE elements. The efect of diferent contents of Y on the fracture properties of Al-Cu-Mn alloy is investigated. T6 heat treatment (solid solution and artifcial aging treatment), optical microscope (OM), scanning electron microscopy (SEM) and energy dispersive spectrometer (EDS) methods are applied to the alloy. Results showed that when Y element is present at 0.1%, the section of the as-cast alloy has smaller sized dimples and the fracture mode presents ductile features. Slight changes in hardness are also observed and maintained at about 60 HV. With increasing content of the RE element Y from 0.1 to 0.5%, the θ phase and Cu atoms in the matrix were reduced and most stopped at Grain boundaries (GBs). Micro-segregation and an enriched zone of Y near the GBs gradually increased. At the same time, the inter-metallic compound AlCuY is aggregated at grain junctions causing deterioration of the micro-structure and fracture properties of the alloy. After T6 treatment, the fatness of the fracture surface was lower than that of all the ascast alloy showing lots of dimples and teared edges with a signifcant increase in hardness. When Y content was 0.1%, the strength and hardness of the alloy increased due to refnement of the grain strengthening efect. The content of Y elements segregated in the inter-dendritic zone and GBs is reduced. Plasticity and deformation compatibility also improved, making cracks difcult to form and merge with each other along adjacent grain junctions and providing an increased potential for ductile fracture. This paper proposes the addition of RE Y as an efective and prospective strategy to improve the fracture properties of the Al-Cu-Mn alloy and provide a meaningful reference in terms of improving overall performance.
E-mail Alerts
